Бесплатная библиотека стандартов и нормативов www.docload.ru

Все документы, размещенные на этом сайте, не являются их официальным изданием и предназначены исключительно для ознакомительных целей.
Электронные копии этих документов могут распространяться без всяких ограничений. Вы можете размещать информацию с этого сайта на любом другом сайте.
Это некоммерческий сайт и здесь не продаются документы. Вы можете скачать их абсолютно бесплатно!
Содержимое сайта не нарушает чьих-либо авторских прав! Человек имеет право на информацию!

 

ПРОЕКТНО-ТЕХНОЛОГИЧЕСКИЙ ТРЕСТ «ОРГТЕХСТРОЙ-11»

СХЕМЫ
ВХОДНОГО И ОПЕРАЦИОННОГО КОНТРОЛЯ
КАЧЕСТВА СТРОИТЕЛЬНО-МОНТАЖНЫХ РАБОТ

ЧАСТЬ I, ВЫПУСК 2

МОНТАЖ СБОРНЫХ ЖЕЛЕЗОБЕТОННЫХ КОНСТРУКЦИЙ
ЖИЛЫХ ЗДАНИЙ, МОНТАЖ ЛЕГКИХ ОГРАЖДАЮЩИХ КОНСТРУКЦИЙ

МОСКВА 2001 г.

Применение на территории Российской Федерации
импортных строительных материалов

В связи со случаями поставки на российский рынок строительных материалов и изделий (поливинилхлоридные облицовочные материалы, гипсокартонные листы, трубы и другие изделия) с показателями ниже требований нормативных документов на аналогичную продукцию, действующую на территории РФ, Минстрой России разъясняет.

Применяемые в строительстве на территории РФ импортные материалы и изделия должны соответствовать требованиям действующих государственных стандартов и нормативных документов. Законодательством предусматривается подтверждение такого соответствия сертификатами соответствия или документом о качестве материалов и изделий поставщика.

При отсутствии в России государственных стандартов и нормативных документов на эти материалы и изделия и их поставке в Россию по зарубежным стандартам необходимо в соответствии с постановлением Минстроя России № 18-25 от 19.04.96 г. наличие Технического свидетельства Минстроя России, подтверждающего пригодность продукции для ее применения в строительстве.

Минстрой России обратился с просьбой к органам экспертизы и архитектурно-строительного надзора усилить контроль за соблюдением указанного порядка.

(Письмо Минстроя России от 12 февраля 1997 г. № ЛХ-76/13)

Разработаны Государственным проектно-технологическим трестом
«Оргтехстрой-11» Департамента нормативно-правового обеспечения
Минатом России (лицензия ФЛЦ № 000721-1)

Директор треста «Оргтехстрой-11»

(тел. 237-6400, тел. секретаря 237-3814)

О. Ф. Капура

1-й заместитель директора (тел. 237-64-02)

А. В. Бетлий

Исполнитель (тел. 237-38-04)

А. С. Каревский

СОДЕРЖАНИЕ

Пояснительная записка. 2

Монтаж железобетонных конструкций жилых зданий. 3

Внеплощадочные и внутриплощадочные подготовительные работы.. 3

Построение геодезической разбивочной основы для строительства. 6

Устройство наземных рельсовых крановых путей. 13

- общие технические требования. 13

- геодезические работы при устройстве наземных рельсовых крановых путей. 17

- требования к эксплуатации. 19

Входной контроль качества сборных бетонных и железобетонных изделий и конструкций. 21

- ГОСТ 13015.0-83* Конструкции и изделия бетонные и железобетонные сборные. Общие технические требования. 21

- ГОСТ 13015.2-81* Конструкции и изделия бетонные и железобетонные сборные. Маркировка. 25

- ГОСТ 13015.3-81* Конструкции и изделия бетонные и железобетонные сборные. Документ о качестве. 26

- ГОСТ 13015.4-84 Конструкции и изделия бетонные и железобетонные сборные. Правила транспортирования и хранения. 27

- ГОСТ 11024-84* Панели стеновые наружные бетонные и железобетонные для жилых и общественных зданий. Технические условия. 28

- ГОСТ 12504-80* Панели стеновые внутренние бетонные и железобетонные для жилых и общественных зданий. Общие технические условия. 33

- ГОСТ 26434-85** Плиты перекрытий железобетонные для жилых зданий. Типы и основные параметры.. 38

- ГОСТ 9561-91 Плиты перекрытий железобетонные многопустотные для зданий и сооружений. Технические условия. 39

- ГОСТ 12767-94 Плиты перекрытий железобетонные сплошные для крупнопанельных зданий. Общие технические условия. 43

- ГОСТ 9574-90 Панели гипсобетонные для перегородок. Технические условия. 46

- ГОСТ 25098-87 Панели перегородок железобетонные для зданий промышленных и сельскохозяйственных предприятий. Технические условия. 48

- ГОСТ 17079-88 Блоки вентиляционные железобетонные. Технические условия. 49

- ГОСТ 17538-82* Конструкции и изделия железобетонные для шахт лифтов жилых зданий. Технические условия. 51

- ГОСТ 18048-80* Кабины санитарно-технические железобетонные. Технические условия. 53

- ГОСТ 9818-85* Марши и площадки лестниц железобетонные. Технические условия. 57

Геодезические работы на исходном горизонте. 60

Геодезические работы на монтажном горизонте. 64

Монтаж наружных стеновых панелей. 72

Монтаж внутренних стеновых панелей. 78

Установка плит перекрытий. 85

Узлы наружных стен из однослойных легкобетонных панелей по серии 2.130-1 выпуск 26. 90

Установка вентиляционных блоков. 96

Установка объемных блоков шахт лифтов. 100

Указания по монтажу объемных блоков шахт лифтов из серии 1.189.1-11 Конструкции железобетонные для шахт пассажирских лифтов жилых зданий с высотой этажа 3,0 м (выпуск 1 и 2) 103

Установка объемных блоков шахт лифтов. 105

Установка санитарно-технических кабин. 107

Монтаж лестничных площадок и маршей. 111

Монтаж панелей перегородок. 114

Монтажные узлы гипсобетонных перегородок по серии 2.130-1 выпуск 27. 120

Монтажные узлы железобетонных перегородок по серии 2.130-1 выпуск 27. 123

Замоноличивание стыков и швов. 125

Герметизация стыков крупнопанельных жилых зданий. 127

Изоляция стыков между оконными блоками и стенами по серии1.132.1-17. 136

Антикоррозионная защита закладных и соединительных изделий. 137

Монтаж перегородок из гипсокартонных листов и панелей. 141

Серия 1.131.9-24 «Перегородки из гипсокартонных листов для жилых зданий», выпуск 3 «Перегородки поэлементной сборки на металлическом каркасе со звукоизоляцией из минераловатных плит, минераловатных прошивных матов с деталями прокладки электротехнических коммуникаций». 148

Узлы гипсокартонных перегородок по серии 1.131.9-24 вып. 3. 150

ПОЯСНИТЕЛЬНАЯ ЗАПИСКА

Схемы входного и операционного контроля качества СМР составлены в соответствии с требованиями СНиП 3.01.01-85* «Организация строительного производства».

Схемы входного и операционного контроля предназначены для линейных инженерно-технических работников, бригадиров и рабочих, работников отдела контроля качества СМР, работников лабораторной, геодезической и сварочной служб, осуществляющих самоконтроль, входной, операционный и приемочный контроль качества СМР.

Схемы могут быть использованы:

- работниками служб по подготовке строительного производства в качестве типовых для включения их в проекты производства СМР или разработки на их основе схем, отражающих специфику конкретных проектов зданий и сооружений;

- работниками служб по подготовке кадров в качестве учебного пособия при подготовке, переподготовке и повышении квалификации рабочих и ИТР;

- преподавательским составом высших и средних технических учебных заведений при подготовке инженерно-технических работников строительного профиля;

- руководителями подразделений, основных функциональных отделов и служб, а также руководством строительных организаций при проверке знаний проектов и нормативных требований по качеству выполнения СМР у линейного персонала, а также при осуществлении инспекционного контроля качества СМР;

- работниками авторского надзора проектных организаций;

- работниками технического надзора заказчика, осуществляющими приемку выполненных работ, работниками служб архитектурно-строительного надзора, федеральных и региональных центров по лицензированию строительной деятельности и других организаций, осуществляющих надзор за строительством.

Схемы входного и операционного контроля качества СМР составлены на основании требований строительных норм и правил, государственных стандартов, технических условий, типовой проектной документации и содержат:

- основные требования к качеству применяемых материалов, конструкций и деталей;

- перечень технологических операций, подлежащих контролю в процессе выполнения строительно-монтажных работ;

- перечень технических требований, подлежащих соблюдению при выполнении строительно-монтажных работ;

- схемы основных монтажных узлов;

- основные требования к качеству при приемке законченных этапов и видов работ.

Строительные конструкции, изделия, материалы и инженерное оборудование, поступающие на строительную площадку, должны пройти входной контроль. Производители работ (мастера) обязаны проверить путем внешнего осмотра и выполнения необходимых замеров соответствие качества поступающих конструкций, изделий, материалов и инженерного оборудования требованиям рабочих чертежей, государственных стандартов, технических условий.

При выполнении входного контроля на комплектовочных базах прорабу (мастеру) должны быть представлены документы (паспорта, сертификаты, акты и т.д.), подтверждающие качество поставляемых материалов и изделий. При возникновении сомнений в качестве поставляемых материалов прораб (мастер) обязан потребовать контрольной проверки поступивших материалов изделий.

Входной контроль должен предотвратить запуск в производство материалов, конструкций и изделий, не соответствующих требованиям проектной и нормативно-технической документации. На строительной площадке входной контроль должен выполняться прорабом или мастером с привлечением в необходимых случаях лабораторной и других служб.

Операционный контроль должен осуществляться в процессе выполнения строительно-монтажных работ и обеспечивать своевременное выявление дефектов и причин их возникновения, а также своевременное принятие мер по их устранению и предупреждению.

При осуществлении операционного контроля должны проверяться:

- соблюдение заданной в проектах производства работ и технологических картах технологии производства работ;

- соответствие качества выполняемых работ требованиям проекта и нормативно-технической документации.

Операционный контроль должен осуществляться производителем работ (мастером), инженером (лаборантом) строительной лаборатории, геодезистом, работником сварочной службы или лаборатории сварки. Участие той или иной службы в осуществлении операционного контроля должно быть регламентировано технологической картой на конкретный технологический процесс.

Приемочный контроль должен осуществляться по завершении этапов или отдельных видов работ, а также ответственных конструкций. Приемка оформляется актами освидетельствования скрытых работ, актами приемки отдельных этапов или видов работ, а также ответственных конструкций.

Приемка должна производиться прорабом, работниками отдела контроля качества СМР с привлечением в необходимых случаях работников лабораторной, геодезической или сварочной служб, и представителями технического надзора заказчика.

При осуществлении производственного контроля надлежит пользоваться измерительным инструментом и приборами, прошедшими метрологическую поверку в установленные сроки.

Ссылки на нормативную литературу даны по состоянию на 25.12.2000 г. Данные о новой нормативной документации и изменениях действующей приводятся в информационных указателях Госстандарта и Госстроя России.

СХЕМЫ ВХОДНОГО И ОПЕРАЦИОННОГО КОНТРОЛЯ КАЧЕСТВА СМР

ЧАСТЬ I, ВЫП. 2

МОНТАЖ ЖЕЛЕЗОБЕТОННЫХ КОНСТРУКЦИЙ ЖИЛЫХ ЗДАНИЙ

Внеплощадочные и внутриплощадочные подготовительные работы

Технические требования

Подготовка строительного производства должна обеспечивать планомерное развертывание строительно-монтажных работ и взаимоувязанную деятельность всех участников строительства объекта.

Общая организационно-техническая подготовка должна выполняться в соответствии с Правилами о договорах подряда на капитальное строительство и включать в том числе: обеспечение стройки проектно-сметной документацией, отвод в натуре площадки (трассы) для строительства, оформление финансирования строительства, заключение договоров подряда и субподряда на строительство, оформление разрешений и допусков на производство работ, решение вопросов о переселении лиц и организаций, размещенных в подлежащих сносу зданиях, обеспечение строительства подъездными путями, электро-, водо- и теплоснабжением, системой связи и помещениями бытового обслуживания кадров строителей, организацию поставки на строительство оборудования, конструкций, материалов и готовых изделий.

Подготовка к строительству каждого объекта должна предусматривать изучение инженерно-техническим персоналом проектно-сметной документации (включая документацию по результатам технического обследования конструкций при реконструкции действующего предприятия), детальное ознакомление с условиями строительства, разработку проектов производства работ на внеплощадочные и внутриплощадочные подготовительные работы, возведение зданий, сооружений и их частей, а также выполнение самих работ подготовительного периода с учетом природоохранных требований и требований по безопасности труда.

Внеплощадочные подготовительные работы должны включать строительство подъездных путей и причалов, линий электропередач с трансформаторными подстанциями, сетей водоснабжения с водозаборными сооружениями, канализационных коллекторов с очистными сооружениями, жилых поселков для строителей, необходимых сооружений по развитию производственной базы строительной организации, а также сооружений и устройств связи для управления строительством.

Внутриплощадочные подготовительные работы должны предусматривать сдачу-приемку геодезической разбивочной основы для строительства и геодезические разбивочные работы для прокладки инженерных сетей, дорог и возведения зданий и сооружений, освобождение строительной площадки для производства строительно-монтажных работ (расчистка территории, снос строений и др.), планировку территории, искусственное понижение (в необходимых случаях) уровня грунтовых вод, перекладку существующих и прокладку новых инженерных сетей, устройство постоянных и временных дорог, инвентарных временных ограждений строительной площадки с организацией в необходимых случаях контрольно-пропускного режима, размещение мобильных (инвентарных) зданий и сооружений производственного, складского, вспомогательного, бытового и общественного назначения, устройство складских площадок и помещений для материалов, конструкций и оборудования, организацию связи для оперативно-диспетчерского управления производством работ, обеспечение строительной площадки противопожарным водоснабжением и инвентарем, освещением и средствами сигнализации.

В подготовительный период должны быть также возведены постоянные здания и сооружения, используемые для нужд строительства, или приспособлены для этих целей существующие.

Строительство временных неинвентарных зданий и сооружений допускается только в виде исключения при соответствующем обосновании.

Устройство временных внеплощадочных и внутриплощадочных дорог допускается только в случаях нецелесообразности или невозможности использования для нужд строительства постоянных существующих и запроектированных дорог. Конструкция всех дорог, используемых в качестве временных, должна обеспечивать движение строительной техники и перевозку максимальных по массе и габаритам строительных грузов.

Обеспечение строительства водой, теплом, паром, сжатым воздухом и электроэнергией, как правило, должно осуществляться от действующих систем, сетей и установок с использованием для нужд строительства запроектированных постоянных инвентарных сетей и сооружений.

Конкретный объем и сроки выполнения работ, выполняемых в подготовительный период, определяются проектами организации строительства и производства работ, разрабатываемыми в соответствии с требованиями СНиП 3.01.01-85* «Организация строительного производства».

Запрещается осуществление строительно-монтажных работ без утвержденных проекта организации строительства и проекта производства работ. Не допускаются отступления от решений проектов организации строительства и проектов производства работ без согласования с организациями, разработавшими и утвердившими их.

До начала земляных работ на строительной площадке должны быть выполнены следующие подготовительные работы:

разработаны проекты производства работ по устройству земляных сооружений;

переданы и приняты закрепленные на местности знаки геодезической разбивки земляных сооружений;

отведены и закреплены на местности площади с учетом необходимой ширины полос земли для производства работ, под грунтовые карьеры и резервы, под постоянные и временные отвалы грунта и вскрышных пород, под временные землевозные дороги, трубопроводы, линии электропередач, а также площади, необходимые при работах способом гидромеханизации для устройства водоемов и отстойников;

выполнены работы по расчистке территории от леса, камней и валунов, осушению и отводу поверхностных вод, устройству временных инвентарных зданий, складских площадок и др.

Плодородный слой почвы в основании насыпей и на площади, занимаемой разными выемками, до начала основных земляных работ должен быть снят в размерах, установленных проектом организации строительства и перемещен в отвалы для последующего использования его при рекультивации или повышении плодородия малопродуктивных угодий.

Допускается не снимать плодородный слой:

при толщине плодородного слоя менее 10 см;

на болотах, заболоченных и обводненных участках;

на почвах с низким плодородием в соответствии с ГОСТ 17.5.3.05-84 «Охрана природы. Рекультивация земель. Общие требования к землеванию», ГОСТ 17.4.3.02-85 «Охрана природы. Почвы. Требования к охране плодородного слоя почвы при производстве земляных работ», ГОСТ 17.5.3.06-85 «Охрана природы. Земля. Требования к определению норм снятия плодородного слоя почвы при производстве земляных работ»;

при разработке траншей шириной по верху 1 м и менее.

Необходимость снятия и мощность снимаемого плодородного слоя устанавливаются в проекте организации строительства с учетом уровня плодородия, природной зоны в соответствии с требованиями действующих стандартов и требованиями предыдущего абзаца.

Снятие и нанесение плодородного слоя следует производить, когда грунт находится в немерзлом состоянии.

Хранение плодородного грунта должно осуществляться в соответствии с ГОСТ 17.4.3.02-85 и ГОСТ 17.5.3.04-83*. Способы хранения грунта и защиты буртов от эрозии, подтопления, загрязнения должны быть установлены в проекте организации строительства.

Окончание внеплощадочных и внутриплощадочных подготовительных работ в объеме, обеспечивающем строительство объекта запроектированными темпами, должно быть подтверждено актом, составленным заказчиком и генподрядчиком с участием субподрядной организации, выполняющей работы в подготовительный период, и профсоюзного комитета генподрядчика.

Приложение 8 к СНиП 3.01.01-85*

АКТ

об окончании внеплощадочных и внутриплощадочных подготовительных работ и готовности объекта _________________________________________________________

      (предприятия, здания, сооружения, их комплекса)

к началу строительства.

«___» ___________ 20___ г.

Комиссия в составе:

руководителя дирекции строящегося предприятия (технического надзора заказчика-застройщика) _____________________________________________________________

(фамилия, инициалы, должность)

руководителя генеральной подрядной организации ___________________________

      (фамилия, инициалы, должность)

руководителя субподрядной специализированной организации, выполняющей работы в подготовительный период ___________________________________________

      (фамилия, инициалы, должность)

председателя профсоюзного комитета генеральной подрядной строительной организации _______________________________________________________________

(фамилия, инициалы, должность)

произвела освидетельствование внеплощадочных и внутриплощадочных подготовительных работ, в том числе по обеспечению санитарно-бытового обслуживания работающих, выполненных по состоянию на «___» ___________ 20___ г.

1. К освидетельствованию предъявлены работы _______________________________

__________________________________________________________________________

(наименование внеплощадочных и внутриплощадочных подготовительных работ, в том числе по обеспечению санитарно-бытового обслуживания работающих)

2. Работы выполнены в объемах, установленных проектом организации строительства и предусмотренных проектами производства работ _________________

__________________________________________________________________________

(наименование организаций, разработавших ПОС, ППР, № чертежей и дата их составления)

3. При выполнении работ отсутствуют (или допущены) отклонения от проекта организации строительства и проектов производства работ _______________________

__________________________________________________________________________

(при наличии отклонений указывается, кем согласованы, № чертежей и дата согласования)

Решение комиссии

Работы выполнены в объемах и в сроки в соответствии с проектом организации строительства и проектами производства работ.

На основании изложенного разрешается производство основных строительных, монтажных и специальных строительных работ по строительству объекта __________

__________________________________________________________________________

(предприятия, здания, сооружения, их комплекса)

Руководитель дирекции строящегося предприятия

(технического надзора заказчика-застройщика) ______________________________

      (подпись)

Руководитель генеральной подрядной организации ___________________________

      (подпись)

Руководитель субподрядной специализированной организации _________________

      (подпись)

Председатель профсоюзного комитета генеральной

подрядной строительной организации ______________________________________

      (подпись)

Построение геодезической разбивочной основы для строительства

Технические требования

СНиП 3.01.01-85* Организация строительного производства. Пособие по разработке проекта организации строительства и проектов производства работ для жилищно-гражданского строительства (к СНиП 3.01.01-85).

СНиП 3.01.03-84 Геодезические работы в строительстве. Пособие по производству геодезических работ в строительстве (к СНиП 3.01.03-84).

Для перенесения проектных параметров здания (сооружения) в натуру, производства детальных разбивочных работ и исполнительных съемок на строительной площадке создается геодезическая разбивочная основа для строительства, включающая построение разбивочной сети строительной площадки и внешней разбивочной сети здания (сооружения).

Создание геодезической разбивочной основы для строительства и геодезические измерения деформаций оснований, конструкций зданий (сооружений) и их частей в процессе строительства являются обязанностью заказчика.

Разбивочная сеть строительной площадки создается для выноса в натуру основных или главных разбивочных осей здания (сооружения), а также при необходимости построения внешней разбивочной сети здания (сооружения), производства исполнительных съемок.

Внешняя разбивочная сеть здания (сооружения) создается для перенесения в натуру и закрепления проектных параметров здания (сооружения), производства детальных разбивочных работ и исполнительных съемок.

Геодезическую разбивочную основу для строительства следует создавать в виде сети закрепленных знаками геодезических пунктов, определяющих положение здания (сооружения) на местности и обеспечивающих выполнение дальнейших построений и измерений в процессе строительства с наименьшими затратами и необходимой точностью.

Геодезическую разбивочную основу для строительства надлежит создавать с привязкой к имеющимся в районе строительства пунктам геодезических сетей.

Работы по построению геодезической разбивочной основы для строительства следует выполнять по проекту (чертежу), составленному на основе генерального плана и стройгенплана объекта строительства.

На стройгенплане следует показывать места расположения знаков, закрепляющих следующие оси:

основные, определяющие габариты здания (сооружения);

главные оси симметрии здания (сооружения);

промежуточные в местах температурных (деформационных) швов, расположенные через 50 - 60 м.

Количество разбивочных осей или их параллелей, закрепляемых геодезическими знаками, схема закрепления определяются с учетом конфигурации и размеров здания (сооружения) и уточняются при разработке ППР.

В исключительных случаях, когда нет возможности показать закрепление всех разбивочных осей, для небольших зданий, сооружений допускается показывать закрепление не менее двух разбивочных осей (одной продольной, другой поперечной).

При строительстве отдельно стоящих зданий и сооружений, простых по конфигурации, следует показывать осевые знаки, закрепляющие основные оси.

Знаки закрепления разбивочных осей зданий круглой формы целесообразно размещать по направлениям главных осей от его проектного центра.

Каждая основная и промежуточная разбивочные оси должны закрепляться двумя осевыми знаками - по одному знаку с каждой стороны здания (сооружения).

Главные разбивочные оси следует закреплять четырьмя знаками - по два знака с каждой стороны здания (сооружения).

Расстояние между парными осевыми знаками принимается в пределах от 15 до 50 м, для линейных сооружений - до 100 м.

В зависимости от условий строительной площадки при невозможности закрепить главные разбивочные оси четырьмя знаками допускается показывать два знака - по одному с каждой стороны здания (сооружения).

При строительстве группы зданий, сооружений на стройгенплане следует показывать нивелирные реперы из расчета один репер для каждого здания. Расстояние между реперами 200 - 300 м.

При строительстве отдельно стоящих зданий, сооружений следует показывать два репера для каждого здания.

При строительстве инженерных сетей один репер показывается через 0,5 км.

Реперы, как правило, совмещают с осевыми знаками.

Осевые знаки, как правило, следует показывать на расстоянии 15 - 30 м от контура здания.

Наименьшее расстояние допускается 3 м от бровки котлована, границы призмы обрушения грунта; наибольшее - полуторная высота здания (сооружения), но не более 50 м.

Расстояние между осевыми знаками, закрепляющими промежуточные поперечные оси, может достигать 50 - 100 м.

В составе проекта должны быть: разбивочный чертеж, каталоги координат и отметок исходных пунктов и каталоги (ведомости) проектных координат и отметок, чертежи геодезических знаков, пояснительная записка с обоснованием точности построения геодезической разбивочной основы для строительства.

Разработку проекта (чертежа) геодезической разбивочной основы для строительства следует выполнять в порядке и сроки, соответствующие принятым стадиям проектирования и очередям строительства.

СХЕМЫ РАЗБИВОЧНЫХ СЕТЕЙ СТРОИТЕЛЬНОЙ ПЛОЩАДКИ

а) в виде строительной сетки; б) в виде красных линий; в) в виде центральной системы

 - пункты разбивочной сети строительной площадки; - пункты государственной геодезической сети;  - строительная площадка;  - проектируемые здания

СХЕМА ВНЕШНЕЙ РАЗБИВОЧНОЙ СЕТИ ЗДАНИЯ

Условные обозначения:

- репер, совмещенный с осевым знаком

- временный осевой знак

- постоянные осевые знаки

- осевой знак на здании

- пункты разбивочной сети стройплощадки

- пункты государственной геодезической сети

Чертеж геодезической разбивочной основы следует составлять в масштабе генерального плана строительной площадки.

Геодезическую разбивочную основу для строительства следует создавать с учетом:

проектного и существующего размещений зданий (сооружений) и инженерных сетей на строительной площадке;

обеспечения сохранности и устойчивости знаков, закрепляющих пункты разбивочной основы;

геологических, температурных, динамических процессов и других воздействий в районе строительства, которые могут оказать неблагоприятное влияние на качество построения разбивочной основы;

использования создаваемой геодезической разбивочной основы в процессе эксплуатации построенного объекта, его расширения и реконструкции.

Плановую разбивочную сеть строительной площадки следует создавать в виде:

а) красных или других линий регулирования застройки;

б) строительной сетки, как правило, с размерами сторон 50, 100, 200 м и других видов геодезических сетей.

Внешнюю разбивочную сеть здания (сооружения) следует создавать в виде геодезической сети, пункты которой закрепляют на местности основные (главные) разбивочные оси, а также углы здания (сооружения), образованные пересечением основных разбивочных осей.

Нивелирные сети строительной площадки и внешней разбивочной сети здания (сооружения) необходимо создавать в виде нивелирных ходов, опирающихся не менее чем на два репера геодезической сети.

Пункты нивелирной и плановой разбивочных сетей, как правило, следует совмещать.

Построение геодезической разбивочной основы для строительства следует производить методами триангуляции, полигонометрии, геодезических ходов, засечек и другими методами.

Точность построения разбивочной сети строительной площадки, а также внешней разбивочной сети здания (сооружения), в том числе вынос основных или главных разбивочных осей следует принимать соответственно данным, приведенным в нижеследующих таблицах.

Точность построения разбивочной сети строительной площадки

Характеристика объектов строительства

Величины средних квадратических погрешностей построения разбивочной сети строительной площадки

угловые измерения, с

линейные измерения

определение превышения на 1 км хода, мм

Предприятия и группы зданий (сооружений) на участках площадью более 1 км2; отдельно стоящие здания (сооружения) с площадью застройки более 100 тыс. м2

3

1/25000

4

Предприятия и группы зданий (сооружений) на участках площадью менее 1 км2; отдельно стоящие здания (сооружения) с площадью застройки от 10 до 100 тыс. м2

5

1/10000

6

Отдельностоящие здания (сооружения) с площадью застройки менее 10 тыс. м2; дороги, инженерные сети в пределах застраиваемых территорий

10

1/5000

10

Дороги, инженерные сети вне застраиваемых территорий; земляные сооружения, в том числе вертикальная планировка

30

1/2000

15

Точность построения внешней разбивочной сети здания (сооружения)

Характеристика зданий, сооружений

Величины средних квадратических погрешностей построения внешней разбивочной сети здания (сооружения)

линейные измерения

угловые измерения, с

определение превышения на станции, мм

Сооружения высотой св. 100 до 120 м или с пролетами св. 30 до 36 м

1/15000

5

1

Здания св. 15 этажей, сооружения высотой св. 60 до 100 м или с пролетами св. 18 до 30 м

1/10000

10

2

Здания св. 5 до 15 этажей, сооружения высотой св. 15 до 60 м или с пролетами св. 6 до 18 м

1/5000

20

2,5

Здания до 5 этажей, сооружения высотой до 15 м или с пролетами до 6 м

1/3000

30

3

Конструкции из дерева; инженерные сети, дороги, подъездные пути

1/2000

30

5

Земляные сооружения: в том числе вертикальная планировка

1/1000

45

10

Разбивочная сеть строительной площадки в виде строительной сетки представляет собой систему квадратов или прямоугольников, покрывающих строительную площадку. Направление осей строительной сетки выбирают параллельно осям зданий и сооружений или красных линий застройки.

В зависимости от назначения строительная сетка строится из основных и дополнительных фигур. Длины сторон основных фигур составляют 50, 100, 200 и 400 м. При строительстве многоэтажных зданий стороны основной строительной сетки принимаются равными 25, 30, 50 м. При проведении работ по вертикальной планировке строительную сетку дополнительно разбивают на квадраты со сторонами 20 - 40 м в зависимости от характера рельефа и размещения застройки. Стороны строительных сеток должны быть кратными длине мерных приборов - проволок, лент, рулеток и т.д.

Строительная сетка может использоваться для решения задач горизонтальной и вертикальной планировки, создания внешней разбивочной сети здания, сооружения, производства контрольных наблюдений и ведения исполнительной съемки.

Пункты сетки намечают в местах, обеспечивающих их достаточную устойчивость и удобство выполнения геодезических работ вне зоны производства земляных работ.

Системы координат для строительных площадок устанавливаются в период проектирования объектов и показываются на проектных чертежах. Привязки элементов зданий, сооружений, необходимые данные для производства разбивочных работ на проектных чертежах даются относительно осей в установленной для данной строительной площадки системе координат.

Для выполнения геодезических работ координаты пунктов строительной сетки могут вычисляться в государственной системе координат. Для этого от пунктов государственной сети координаты передают на пункты строительной сетки.

Для удобства составления разбивочных чертежей и ведения геодезических работ пункты строительной сетки чаще всего вычисляют в условной системе координат. Одной из вершин присваивают условные координаты так, чтобы координаты всех остальных пунктов сети были положительными. Направление главных осей сетки совмещают с направлениями осей абсцисс и ординат. Пунктам сетки присваивают порядковую нумерацию. Перевычисление координат из условной системы в государственную и наоборот выполняют по формулам аналитической геометрии.

Вынос точек строительной сетки в натуру производится от пунктов геодезической сети или от твердых местных предметов и контуров. Сначала на местности определяют исходное направление методами: полярным, угловых или линейных засечек, промеров от твердых контуров. Для контроля выносят не менее трех точек исходного направления. Линейные измерения выполняют с точностью 1 : 1000 - 1 : 2000, угловые - 30 - 60². Точки исходного направления закрепляют деревянными или бетонными знаками. После определения точных координат пунктов строительной сетки временные знаки заменяют на постоянные.

Высотная разбивочная основа на территории строительства должна быть закреплена постоянными знаками с таким расчетом, чтобы отметки передавались на объекты строительства от двух реперов не более чем с трех станций нивелирного хода.

Нивелирные знаки закладываются в стены капитальных зданий и сооружений, построенных не менее чем за два года до закладки знака. Марки закладываются на высоте 0,3 - 0,6 м над поверхностью земли (тротуара, отмостки и т.д.). Грунтовые реперы закладываются только при отсутствии капитальных зданий и сооружений.

Стенные марки и реперы нивелируются через трое суток, а грунтовые через 10 суток после их закладки. В районах вечной мерзлоты грунтовые реперы нивелируются: при котлованном способе закладки - в следующий полевой сезон; при закладке бурением - через 10 дней; при закладке с протаиванием грунта - через два месяца.

Внешняя разбивочная сеть здания (сооружения) создается в виде сети плановых (осевых) и высотных знаков, закрепляющих разбивочные оси (главные, основные) и нивелирные пункты на местности.

При сложной конфигурации зданий, при значительных размерах, а также, когда здания или сооружения одной группы тесно связаны между собой технологическими процессами, разбиваются главные оси. При строительстве небольших зданий и сооружений разбиваются основные оси.

Разбивку главных и основных осей здания и сооружения следует выполнять на основании генерального плана строительной площадки, на котором должны быть указаны привязки осей зданий и сооружений к пунктам плановой и высотной разбивочных сетей, (красным линиям, пунктам строительной сетки и др.)

Главные или основные оси разбиваются на местности от пунктов плановой разбивочной сети строительной площадки.

Разбивку осей начинают с выноса двух крайних точек, определяющих положение наиболее длинной продольной оси. Вынос осуществляется способом прямоугольных или полярных координат, линейных или угловых засечек.

Поперечные оси разбиваются с ранее вынесенных точек оси путем построения прямых углов. Точки пересечения вынесенных поперечных осей с продольной осью определяются линейными измерениями.

Для контроля перенесения в натуру разбивочных осей прокладывают полигонометрический или теодолитный ход, или выполняют контрольные промеры до сторон и пунктов основы, а также измерением диагоналей и сторон прямоугольника, образованного осями.

При возведении современных промышленных сооружений, когда возникает необходимость увязки высокой точности технологических линий и целых комплексов зданий, следует развивать специальные разбивочные сети, пункты которых совмещаются с точками закрепления главных и основных осей.

Метод определения координат точек сети (микротриангуляция, микротрелатерация, полигонометрия, засечки, параллактический) зависит от требуемой точности разбивочных работ, размеров строительной площадки, условий работы на ней и формы сооружения.

После уравнивания результатов выполненных геодезических измерений и вычисления координат точек закрепления осей их сравнивают с проектными значениями и находят величины линейных редукций. В случае недопустимых значений редукций изменяют положения центров осевых знаков на местности. После редуцирования производятся угловые и линейные контрольные измерения.

Закрепление пунктов геодезической разбивочной основы для строительства надлежит выполнять в соответствии с требованиями нормативных документов по геодезическому обеспечению строительства, утвержденных в установленном порядке.

Главные и основные оси зданий и сооружений могут быть закреплены знаками в виде забетонированных рельс, штырей, труб, вбитых в землю деревянных кольев с гвоздями, специальных марок на капитальных зданиях.

Основные требования к местоположению знаков закрепления разбивочных осей (осевых знаков) следующие:

должна быть видимость от знака до здания, для чего необходимо предусматривать свободные полосы шириной 1 м;

положение знака должно оставаться неизменным на весь период строительства, особенно на период строительства подземной части здания, сооружения; принятые знаки геодезической разбивочной основы в период строительства должны находиться под наблюдением за сохранностью и устойчивостью и проверяться инструментально не реже двух раз в год (в весенний и осенне-зимний периоды);

должна обеспечиваться возможность выполнению геодезических измерений при соблюдении требований техники безопасности при производстве строительно-монтажных работ.

Осевые знаки следует размещать за пределами котлована в местах, свободных от постоянных и временных зданий, сооружений, в том числе подземных и наземных коммуникаций, дорог, строительных конструкций, материалов, изделий и оборудования, складских площадок, механизмов.

Осевые знаки не должны попадать в зону, где нарушается грунт при выполнении строительно-монтажных работ.

Размещение осевых знаков увязывают с проектными решениями по организации земляных и строительно-монтажных работ.

В целях лучшей сохранности осевых знаков их следует размещать на газонах, обочинах дорог, вдоль заборов и др.

В зоне местоположения знака складирование строительных конструкций, материалов должно быть не ближе 2 м от центра знака.

При невозможности определить местоположение знака, обеспечивающее неизменность его на период строительства подземной части здания, следует предусмотреть перенос знака на устойчивое место, о чем указывается в ПОС.

Заказчик обязан создать геодезическую разбивочную основу для строительства и не менее чем за 10 дней до начала выполнения строительно-монтажных работ передать поэтапно подрядчику техническую документацию на нее и закрепленные на площадке строительства пункты основы, в том числе:

а) знаки разбивочной сети строительной площадки;

б) плановые (осевые) знаки внешней разбивочной сети здания (сооружения) в количестве не менее четырех на каждую ось, в том числе знаки, определяющие точки пересечения основных разбивочных осей всех углов здания (сооружения); количество разбивочных осей, закрепляемых осевыми знаками, следует определять с учетом конфигурации и размеров здания (сооружения); на местности следует закреплять основные разбивочные оси, определяющие габариты здания (сооружения), и оси в местах температурных (деформационных) швов, главные оси гидротехнических и сложных инженерных сооружений;

в) плановые (осевые) знаки линейных сооружений, определяющие ось начало конец трассы, колодцы (камеры), закрепленные на прямых участках не менее чем через 0,5 км и на углах поворота трассы;

г) нивелирные реперы по границам и внутри застраиваемой территории у каждого здания (сооружения) не менее одного, вдоль осей инженерных сетей не реже чем через 0,5 км;

д) каталоги координат, высот и абрисы всех пунктов геодезической разбивочной основы.

Приемку геодезической разбивочной основы для строительства следует оформлять актом (согласно обязательному приложению 12 СНиП 3.01.03-84).

ЗАКРЕПЛЕНИЕ ОСНОВНЫХ ИЛИ ГЛАВНЫХ РАЗБИВОЧНЫХ ОСЕЙ ЗДАНИЯ ДО 5 ЭТАЖЕЙ, СООРУЖЕНИЯ ВЫСОТОЙ ДО 15 М С ПРОДОЛЖИТЕЛЬНОСТЬЮ СТРОИТЕЛЬСТВА ДО 0,5 ГОДА, ВНУТРИПЛОЩАДОЧНЫХ ИНЖЕНЕРНЫХ СЕТЕЙ

а) геодезический знак; б) ограждение знака

1 - металлический стержень Æ 16 мм; 2 - бетон класса В7,5; 3 - деревянный столб размером 1800´80´80; 4 - доска размером 1500×80×80 или металлический уголок размером 25×25×2 мм

ЗАКРЕПЛЕНИЕ ОСНОВНЫХ ИЛИ ГЛАВНЫХ РАЗБИВОЧНЫХ ОСЕЙ ЗДАНИЯ СВЫШЕ 5 ЭТАЖЕЙ, СООРУЖЕНИЯ ВЫСОТОЙ СВЫШЕ 15 М С ПРОДОЛЖИТЕЛЬНОСТЬЮ СТРОИТЕЛЬСТВА ДО 0,5 ГОДА

1 - деревянная крышка; 2 - металлическая пластина размером 200×200×10 мм; 3 - металлическая труба Æ 30 мм; 4 - якорь; 5 - бетон класса В7,5; 6 - песок

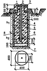
ЗАКРЕПЛЕНИЕ ОСНОВНЫХ ИЛИ ГЛАВНЫХ РАЗБИВОЧНЫХ ОСЕЙ ЗДАНИЯ (СООРУЖЕНИЯ) С ПРОДОЛЖИТЕЛЬНОСТЬЮ СТРОИТЕЛЬСТВА БОЛЕЕ 0,5 ГОДА

1 - металлическая пластина размером 200´200´15 мм; 2 - заклепка из металла; 3 - анкер Æ 15 мм; 4 - металлическая труба Æ 50 - 70 мм; 5 - бетон классов В7,5 - В12,5; 6 - якорь; 7 - песок; 8 - два слоя рубероида РЧ-320

h1 - наибольшая глубина промерзания грунта; h2 - по таблице

h1

грунт

0,6

0,8

1,0

1,2

1,4

1,6

1,8

2,0

h2

грунт песчаный

0,1

0,2

0,2

0,3

0,4

0,5

0,6

0,7

грунт суглинистый

0,6

0,9

1,1

1,4

1,6

1,8

2,0

2,1

Приложение 12 к СНиП 3.01.03-84 (обязательное)

АКТ
приемки геодезической разбивочной основы для строительства

___________________________________________________________________________

(наименование объекта строительства)

г. ____________________________                                           «___» ___________ 20___ г.

Комиссия в составе:

ответственного представителя заказчика ________________________________________

                                                                                                                        (фамилия, инициалы, должность)

ответственных представителей генподрядной строительно-монтажной организации ___

___________________________________________________________________________

(фамилии, инициалы, должности)

рассмотрела представленную техническую документацию на геодезическую разбивочную основу для строительства _________________________________________

                                                                                                           (наименование объекта строительства)

и произвела осмотр закрепленных на местности знаков этой основы.

Предъявленные к приемке знаки геодезической разбивочной основы для строительства, их координаты, отметки, места установки и способы закрепления соответствуют представленной технической документации ________________________

___________________________________________________________________________

(наименование проектной организации, номера чертежей, дата выпуска)

и выполнены с соблюдением заданной точности построения и измерений.

На основании изложенного комиссия считает, что заказчик сдал, а подрядчик принял знаки геодезической разбивочной основы для строительства _______________________

___________________________________________________________________________

(наименование объекта, или его отдельных цехов, зданий, сооружений)

Приложения: (чертежи, схемы, ведомости и т.п.) ________________________________

Представитель заказчика: __________________________________________________

                                                                                                                                                    подпись

Представитель подрядчика: производитель работ ______________________________

                                                                                                                                                    подпись

работник геодезической службы ____________________________________________

                                                                                                                                                    подпись

Устройство наземных рельсовых крановых путей

Технические требования

ГОСТ Р 51248-99 Пути наземные рельсовые крановые. Общие технические требования.

ПБ-10-14-92 Правила устройства и безопасной эксплуатации грузоподъемных кранов

Устройство наземных рельсовых крановых путей должно осуществляться на основе предварительно разработанных решений по организации строительства и технологии производства работ, которые должны быть приняты в проекте организации строительства и проектах производства работ (ППР), в соответствии с требованиями ГОСТ Р 51248-99, СНиП 3.02.01-87, ПБ 10-14-92 «Правила устройства и безопасной эксплуатации грузоподъемных кранов», Правил устройства электроустановок и другой технологической документации, утвержденной в установленном порядке.

Строительные организации, осуществляющие устройство наземных рельсовых крановых путей, должны иметь лицензии на соответствующие виды деятельности, выданные Федеральным или региональными органами по лицензированию строительной деятельности.

Работы по устройству наземных рельсовых крановых путей должны выполняться квалифицированным персоналом, прошедшим специальную подготовку и обладающим надлежащими навыками по выполнению данных работ.

До начала производства работ заказчик должен оформить и передать подрядной строительной организации разрешение на производство строительных работ.

К основным работам по строительству объекта или его части разрешается приступать только после отвода в натуре площадки (трассы) для его строительства, создания разбивочной геодезической сети (см. СОКК «Построение геодезической разбивочной основы для строительства» в данном альбоме), окончания внеплощадочных и внутриплощадочных подготовительных работ (см. СОКК «Внеплощадочные и внутриплощадочные подготовительные работы» в данном альбоме).

Рельсовый путь включает: нижнее и верхнее строения, путевое оборудование.

В состав нижнего строения рельсового пути входят: земляное полотно и водоотводное устройство.

Контролируемые операции

Состав и средства контроля

Документация

Подготовительные работы

Проверить:

- наличие проекта, ППР, технологических карт, схем операционного контроля качества;

- завершение всех, предусмотренных проектом, предшествующих работ и надлежащее их оформление;

- наличие паспортов, сертификатов и другой товаросопроводительной документации на комплектующие изделия и материалы, входящие в состав рельсового пути;

- полноту содержащихся в документации данных, комплектность и соответствие поступивших изделий, материалов и узлов требованиям проекта;

- внешним осмотром сохранность и отсутствие недопустимых дефектов внешнего вида на поступивших изделиях и материалах

Проект, ППР, схемы операционного контроля качества

Акты на скрытые работы, схемы разбивки рельсовых путей

Паспорта, сертификаты

Устройство наземных рельсовых крановых путей

Контролировать:

- соблюдение заданной ППР (технологической картой) технологии устройства наземных рельсовых крановых путей;

Общий и специальный журналы работ

- установку подрельсовых опорных элементов, рельс, стыковых и промежуточных скреплений, путевого оборудования в проектное положение;

- соблюдение технологии и качество выполнения болтовых и других, предусмотренных проектом, соединений;

- устранение просадки пути и другие дефекты, выявленные при обкатке пути

Исполнительная геодезическая схема (чертежи, профили, разрезы)

Приемка

Проверить:

- соответствие фактического положения рельсового кранового пути требованиям проекта и нормативных документов;

- выполнение требований проекта и ППР к качеству болтовых и других соединений;

- составление и надлежащее оформление исполнительной документации (акта сдачи-приемки пути)

Общий и специальный журналы работ

Исполнительный чертеж

Акт сдачи-приемки

ВХОДНОЙ И ОПЕРАЦИОННЫЙ КОНТРОЛЬ осуществляют:

мастер (прораб), геодезист - в процессе производства работ

ПРИЕМОЧНЫЙ КОНТРОЛЬ ОСУЩЕСТВЛЯЮТ:

прораб (мастер) представители генподрядчика и технадзора заказчика

КИП - линейка и рулетка измерительные металлические, геодезические приборы (теодолит, нивелир, струна, лазерные приборы)

В состав верхнего строения рельсового пути входят: балластная призма, подрельсовые опорные элементы, рельсы, стыковые и промежуточные скрепления.

В состав путевого оборудования рельсового пути входят: тупиковые упоры, лотки для предотвращения износа кабеля, питающего электроэнергией кран, ограничители передвижения, ограждение, заземление и предупреждающие знаки.

В составе проектной документации на рельсовый путь должны быть приведены;

выкопировка из стройгенплана;

проект рельсового пути;

проект производства работ на устройство рельсового пути;

требования по эксплуатации рельсового пути.

Проект рельсового пути должен содержать:

план рельсового пути с указанием основных размеров и участка для стоянки крана в нерабочем положении;

конструкцию верхнего строения рельсового пути;

конструкцию земляного полотна (поперечный профиль с размерами, расположение и тип водоотводных устройств, степень уплотнения земляного полотна);

допуски, контролируемые при устройстве и эксплуатации;

конструкцию тупиковых упоров, схему заземления рельсового пути;

конструкцию переезда через рельсовые пути для автомобильного транспорта (при необходимости);

указания о месте монтажа крана и регламенте обкатки рельсового пути (обкатку рельсового пути следует производить краном, башня которого смонтирована на минимальное исполнение, согласно паспортной характеристике);

пояснительную записку с расчетами и обоснованиями проектных и конструкторских решений.

Конструкция верхнего строения рельсового пути должна определять:

тип рельсов;

тип, сечение и длину полушпал;

расстояние между полушпалами;

способ крепления рельсов между собой и к полушпалам;

наличие подкладок между рельсами и полушпалами, конструкцию подкладок и способ их установки;

зазор между рельсами;

материал и размер балластного слоя;

минимальный допустимый радиус кривой на криволинейных участках пути;

предельно допустимые величины общего продольного уклона, упругой просадки под колесами и допуски на ширину колеи и на разность уровня головок рельсов;

конструкцию тупиковых упоров;

устройство заземления рельсового пути.

Проект производства работ (ППР) по устройству рельсового пути должен содержать:

состав и способы производства работ;

методы контроля;

браковочные требования на элементы рельсового пути;

способы устранения отклонений рельсового пути в плане и в вертикальной плоскости от нормативных значений;

периодичность обследования и технического обслуживания.

К нижнему строению рельсового пути предъявляются следующие требования:

- перед устройством земляного полотна под рельсовые пути должны быть выполнены все работы по прокладке инженерных сетей и коммуникаций;

- подземные коммуникации, расположенные в зоне крановых нагрузок, следует проверить расчетом на прочность и, при необходимости, защитить от деформации и разрушения;

- продольный уклон земляного полотна должен быть не более 0,003;

- поперечный уклон земляного полотна, сложенного из недренирующего грунта, должен быть в пределах 0,008 - 0,01 в сторону от обслуживаемого объекта;

- земляное полотно, сложенное из дренирующего грунта, допускается выполнять горизонтальным;

- плотность грунта земляного полотна (выемки и нулевого места) должна быть в пределах 1,55 - 1,75 г/см3, коэффициент уплотнения насыпного грунта земляного полотна - не менее 0,95. Способы уплотнения грунта и методы контроля за его плотностью определяются проектом;

- земляное полотно должно иметь эффективное водоотводящее устройство;

- устройство земляного полотна в зимний период должно осуществляться по отдельным требованиям к проекту кранового пути с учетом специфики климатических зон. При устойчивой отрицательной температуре окружающего воздуха во время нахождения крана на объекте допускается укладывать балластный слой без предварительного уплотнения грунтового основания.

Общий вид и основные контролируемые параметры наземных рельсовых крановых путей

1 - рельсовый путь; 2 - башенный кран; 3 - водоотводное устройство; 4 - ограждение; 5 - возводимое здание.

Поперечный профиль пути

Контролируемые параметры:

А - ширина земляного полотна;

Б = (R - 0,5 К) + 0,7 м - минимальное расстояние от выступающей части здания (штабеля) до оси рельса;

В - база крана;

К - колея пути;

R - наибольший радиус поворотной части крана;

I = (hy/R) - поперечный уклон пути;

hб - толщина балласта;

S - отклонение от прямолинейности рельсового пути;

L - расстояние от оси (торца) рельса до ограждения (не менее размера Б)

К верхнему строению рельсового пути предъявляются следующие требования:

- верхнее строение рельсового пути может возводиться как из отдельных элементов, так и с использованием инвентарных секций;

- в качестве подрельсовых опорных элементов могут применяться деревянные полушпалы, брусья или железобетонные балки;

- толщина балластного слоя определяется проектом на основании расчетов и зависит от нагрузки на колесо крана, вида грунтового основания, материала балласта и конструкции подрельсовых опорных элементов.

Ориентировочная толщина балласта (для составления технико-экономического обоснования проекта) приведена в нижеследующей таблице.

При устройстве рельсового пути с полушпалами стыки рельсов следует располагать между полушпалами, а с железобетонными продольными подрельсовыми элементами - над их стыками.

Конструкции болтовых соединений рельсов должны исключать ослабление затяжки (должны применяться пружинные шайбы, шплинты и т.п.).

Величина зазора в рельсовом стыке не должна превышать 12 мм. Смещение торцов стыкуемых рельсов не должно превышать в плане 2 мм и по высоте 3 мм.

Длина балластной призмы должна превышать длину рельсовой нитки на 1 м в каждую сторону.

Нагрузка от колеса на рельс, кН

Ориентировочная толщина балласта hб, мм

щебеночного под железобетонными балками

песчаного под железобетонными балками

щебеночного под деревянными полушпалами

при земляном полотне из глинистого, суглинистого, или супесчаного грунта и рельсах типов

при земляном полотне из песчаного грунта и рельсах типов

при земляном полотне из глинистого, суглинистого, или супесчаного грунта и рельсах типов

при земляном полотне из песчаного грунта и рельсах типов

при земляном полотне из глинистого, суглинистого, или супесчаного грунта и рельсах типов

при земляном полотне из песчаного грунта и рельсах типов

Р50

Р65

Р50

Р65

Р50

Р65

Р50

Р65

Р50

P65

Р50

Р65

До 200

100

100

100

100

100

100

100

100

270

230

100

100

От 200 до 225

100

100

100

100

100

100

100

100

320

280

100

100

От 225 до 250

140

120

100

100

150

130

100

100

370

330

100

100

От 250 до 275

210

190

100

100

220

200

100

100

420

380

100

100

От 275 до 300

300

280

130

110

350

330

130

110

-

-

-

-

От 300 до 325

430

360

150

130

530

520

210

190

-

-

-

-

Примечания.

1. При нагрузке на колесо более 275 кН рекомендуется применять железобетонные опорные подрельсовые элементы.

2. Расстояние между осями полушпал следует принимать 500 мм с допускаемыми отклонениями ± 50 мм.

3. В качестве щебеночного балласта следует применять щебень из естественного камня фракции 25 - 60 мм, гравий и гравийно-песчаную смесь фракции 3 - 60 мм (гравий) и 0,63 - 3 мм (песок) по массе не более 20 %.

4. Для изготовления подкрановых рельсовых путей должны применяться новые или старогодные рельсы I и II групп годности.

При применении железобетонных подрельсовых опорных элементов (балки, плиты, шпалы) между рельсами и поверхностями этих опорных элементов должны устанавливаться прокладки соответствующей упругости.

Допускаемые отклонения размеров рельсовых путей от проектного значения при их устройстве приведены ниже.

Расстояния по горизонтали между выступающими частями крана и строениями, штабелями грузов и другими предметами, расположенными на высоте до 2000 мм от уровня земли или рабочих площадок, должно быть не менее 700 мм, а на высоте более 2000 мм - не менее 400 мм. Расстояние по вертикали от консоли противовеса или от противовеса, расположенного под консолью башенного крана, до площадок, на которых могут находиться люди, должно быть не менее 2000 мм.

Допускаемые отклонения размеров рельсовых путей от проектного значения при их устройстве

Параметры

Предельная величина отклонения при

устройстве

эксплуатации

Продольный и поперечный уклоны рельсового пути*

Не более 0,004

Не более 0,01

Колея рельсового пути

± 10 мм от номинального размера

± 15 мм от номинального размера

Прямолинейность рельсового пути на участке длиной 10 м для кранов:

 

 

с жесткими ходовыми рамами

Не более 15 мм

Не более 20 мм

с балансирными тележками

Не более 20 мм

Не более 25 мм

Упругая просадка рельсового пути при максимальной нагрузке на колесо крана и конструкции верхнего строения:

 

 

на деревянных полушпалах

Не более 7 мм

Не более 7 мм

на железобетонных балках

Не более 5 мм

Не более 5 мм

* На участке пути, равном по длине двум базам крана (2 В), поперечные знакопеременные уклоны в указанных значениях не допускаются.

К путевому оборудованию рельсового пути предъявляют следующие требования:

- на концах рельсового пути (на расстоянии не менее 0,5 м) должны быть установлены тупиковые упоры, предназначенные для гашения остаточной скорости крана и предотвращения его схода с концевых участков кранового пути в аварийных ситуациях, при отказе ограничителя передвижения или тормозов механизма передвижения крана;

- упоры должны быть установлены таким образом, чтобы наезд крана на упоры был одновременным.

- рельсовые пути должны иметь в поперечном направлении фиксирующие элементы (стяжки-распорки), которые устанавливаются в начале и конце рельсового пути, а в промежутке - не менее одного на инвентарную секцию или с шагом не более 6,25 м.

- ограничители передвижения должны быть установлены таким образом, чтобы отключение двигателя механизма передвижения крана происходило на расстоянии не менее тормозного пути до тупикового упора.

- устройство заземления пути необходимо выполнять в соответствии с требованиями Правил устройства электроустановок;

- знаки безопасности должны выставляться в соответствии с требованиями ГОСТ 12.4.026-76*;

- ограждение рельсового пути следует выполнять по ГОСТ 23407-78. На рельсовом пути участок стоянки крана в нерабочем состоянии должен быть обозначен табличкой «Место стоянки крана»;

- ограничители передвижения и тупиковые упоры должны быть окрашены в соответствии с требованиями ГОСТ 12.4.026-76*. Металлические детали должны быть предохранены от коррозии.

Кроме изложенных выше общих требований к устройству рельсовых путей следует руководствоваться также условиями на укладку рельсового пути, которые должны содержаться в паспорте крана, соответствующем требованиям международного стандарта ИСО 4310.

Геодезические работы при устройстве наземных рельсовых крановых путей

Разбивочные работы при устройстве наземных рельсовых крановых путей осуществляются в соответствии с требованиями технических условий на монтаж конкретного крана.

Измерения нижнего строения наземного подкранового пути состоят из нивелирования площадки, выполняемого перед устройством земляного полотна, и нивелирования земляного полотна, выполняемого после его возведения. Для этого нивелируемую поверхность разбивают на квадраты со сторонами, равными ширине пути. Для определения отметок применяют нивелиры Н-3 или другие равноточные инструменты согласно требованиям ППР или технологической карты, которые должны быть поверены и при необходимости исправлены. Отсчеты выполняют по двум сторонам (черной и красной) рейки РН-3 при одной установке нивелира или по одной стороне (черной) рейки при двух установках нивелира, с изменением его горизонта.

За исходный пункт принимают репер или любую закрепленную точку, абсолютная высотная отметка которой известна. Допускается принимать отметку исходной точки в условной системе высот.

На исполнительной схеме показывают размеры земляного полотна, его поперечный и продольный уклоны, величину откосов полотна, размеры и уклоны водоотвода, профиль и размеры земляного полотна на криволинейных участках.

Измерения верхнего строения пути включают исполнительную геодезическую съемку планово-высотного положения пути, выполняемую по полной и сокращенной схеме, или только съемку высотного положения.

Исполнительную съемку по полной схеме выполняют перед сдачей подкранового пути в эксплуатацию. Съемке подлежат:

- расстояние от выступающих частей строящегося или существующего здания и сооружения до оси ближайшего к зданию или сооружению рельса;

- расстояние от края балластной призмы (нижнего) до края дна котлована;

- поперечное сечение одной-двух полушпал, их длина и расстояние между ними (их осями), а также расстояние между металлическими стяжками;

- тип рельса, вертикальный, горизонтальный и приведенный износ головок рельса;

- расстояние между рельсовыми стыками и зазоры в стыках;

- размер колеи через каждые 6,25 м (или другие промежутки, установленные ППР или технологической картой) на всем протяжении подкранового пути;

- прямолинейность рельсов подкранового пути;

- отметки головок рельсов подкранового пути через каждые 6,25 м (или другие промежутки, установленные ППР или технологической картой);

- величина упругой просадки головки рельсов.

Съемку пути по сокращенной схеме выполняют через каждые 24 рабочие смены крана. При этом определяют геометрические параметры (размер колеи, прямолинейность рельсов подкранового пути и отметки головок рельсов подкранового пути) и записывают результаты в вахтенный журнал крановщика. Особое внимание следует обратить на состояние звена для стоянки башенного крана в нерабочее время.

Нивелирование подкранового пути, т.е. съемку его высотного положения, выполняют не реже одного раза в месяц, а в период оттаивания грунта - через 5 - 10 дней и каждый раз после ливневых дождей (периодичность нивелирования должна устанавливаться в инструкции по техническому надзору за состоянием кранового пути).

Измерения геометрических параметров, выполняемые рулетками, обычно не вызывают затруднений. Для измерения размера колеи и прямолинейности рельсов применяют теодолит, нивелирную рейку и рулетку. На расстоянии 0,5 - 1 м от оси рельса на одном конце пути забивают штырь и центрируют над ним теодолит. Далее визирную ось зрительной трубы теодолита наводят на второй штырь, установленный на таком же удалении от оси рельса на другом конце пути, равном 10 м. Затем прикладывают нивелирную рейку перпендикулярно оси рельса в заданных точках и берут по ней отсчеты по вертикальной нити зрительной трубы теодолита с точностью до 1 мм. По полученным данным вычисляют отклонения первого рельса от его оси, т.е. прямолинейность первого рельса. Затем параллельно оси первого рельса на расстоянии 0,5 - 1 м от второго рельса забивают два других штыря и выполняют такие же измерения и в той же последовательности, как и у первого рельса. По полученным данным вычисляют прямолинейность второго рельса и ширину колеи.

Размер колеи проверяют также стальной рулеткой с ценой деления 1 мм в заданных точках рельсового пути (как правило, на каждом рельсовом звене в его средней части и в зоне болтовых стыков). По полученным данным вычисляют отклонения размера колеи от номинальных и сравнивают их с допускаемыми значениями.

Прямолинейность рельсового пути проверяют также с помощью натянутой вдоль головки рельсов струны. По полученным данным вычисляют отклонения рельсового пути от прямолинейности на длине 10 м и сравнивают их с допускаемыми значениями.

Высотные отметки головок рельсов определяют геометрическим нивелированием с установкой рейки в заданных точках рельса (как правило, на каждой инвентарной секции в средней части и в зоне болтовых стыков).

Для контроля монтажа подкрановых путей и исполнительных съемок рекомендуется применять лазерные приборы.

Лазерный пучок, направленный на некоторой высоте вдоль оси подкранового рельса, является базисной линией, относительно которой с помощью экрана-марки определяется правильность монтажа и деформации головки рельса как в плане, так и по высоте.

При контроле точности монтажа элементов подкранового пути по лазерному пучку на подготовленном к монтажу рельсе в заданной точке закрепляют магнитную марку таким образом, чтобы центр марки совпадал с осью монтируемого элемента. При монтаже рельса следят, чтобы луч лазера попал в центр марки, что будет соответствовать проектному положению рельса. Далее магнитную марку переставляют в другую точку рельса и корректируют его положение по лучу лазера.

При монтаже частей подкранового пути марку переставляют поочередно на следующий рельс и по отклонениям лазерного пучка от центра марки определяют положение рельсов и необходимость их выверки.

При выполнении исполнительной съемки подкрановых путей создание разбивочной основы и приведение прибора в рабочее положение остаются такими же, как и при монтаже. При выполнении по лучу лазера исполнительной съемки положения рельсов подкранового пути используют разграфленную экран-марку с сеткой квадратов 5´5 мм. Для визуальной регистрации положения рельса относительно луча лазера экран-марку необходимо устанавливать на головку рельса в вертикальное положение по круглому уровню. В процессе выполнения съемки марку-экран устанавливают в заданные точки рельсового пути.

В каждой контролируемой точке берут два отсчета, один, характеризующий положение лазерного луча относительно горизонтальных линий сетки экрана, другой - характеризующий отклонение лазерного луча от осевой вертикальной линии сетки. Первый отсчет записывается в журнал нивелирования, второй - в журнал определения прямолинейности рельса.

Измерения на каждом рельсе необходимо выполнять дважды: при движении в прямом и обратном направлениях. Расхождения между двумя измерениями не должно превышать 2 - 3 мм. Из двух значений вычисляют среднее.

Результаты нивелирования поперечного и продольного профилей рельсового пути, проверки размера колеи, прямолинейности, просадки прилагаются к акту сдачи-приемки пути.

Рельсовый путь перед сдачей-приемкой подлежит обкатке. Обкатка пути производится не менее 10 раз краном без груза и не менее 5 раз с максимальным рабочим грузом. Просадки пути и выявленные дефекты устраняются.

Готовность рельсового пути к эксплуатации подтверждается актом сдачи-приемки пути по форме в соответствии с приложением 8 ПБ 10-14 или актом комплексного обследования крановых путей.

Разрешение на эксплуатацию рельсового пути выдается на основании акта сдачи-приемки или акта комплексного обследования крановых путей инженерно-техническим работником, ответственным за безопасную эксплуатацию грузоподъемных машин (согласно требованиям ст. 7.4.2 ПБ-10-14-92).

Требования к эксплуатации

Рельсовые пути, находящиеся в эксплуатации, должны подвергаться постоянной проверке, периодическому комплексному обследованию, обслуживанию и ремонту.

Проверка состояния рельсового пути включает:

- ежесменный осмотр;

- плановую или внеочередную проверку.

Ежесменный осмотр рельсового пути осуществляется машинистом крана в объеме, предусмотренном производственной инструкцией.

В случае обнаружения неисправностей в известность ставится лицо, ответственное за безопасную эксплуатацию грузоподъемных машин.

Плановая проверка состояния рельсового пути проводится после каждых 24 смен работы крана и осуществляется под руководством лица, ответственного за безопасную эксплуатацию грузоподъемных машин.

Плановая проверка устанавливает соответствие контролируемых параметров рельсовых путей требованиям настоящего стандарта, проектной и конструкторской документации, и подтверждает, что состояние верхнего строения и путевого оборудования обеспечивают безопасную работу крана.

Результаты плановых проверок заносятся в вахтенный журнал крановщика.

Внеочередную проверку рельсовых путей проводят после особо неблагоприятных эксплуатационных условий (ливни, продолжительные оттепели и т.д.), отрицательно влияющих на состояние земляного полотна и балластного слоя, а также при замечаниях машиниста крана.

Периодическое комплексное обследование рельсовых путей проводится в соответствии с требованиями РД 10-138-97 специализированными организациями, имеющими государственную лицензию на этот вид деятельности, и включает выполнение следующего комплекса работ:

- проверку наличия и состояния эксплуатационной службы и службы надзора за качеством рельсовых путей;

- проверку наличия проектной и эксплуатационной документации;

- поэлементное обследование рельсовых путей, включая оценку фактического состояния и остаточного ресурса основных элементов верхнего строения рельсового пути;

- подготовку результатов комплексного обследования: инструментальные замеры, данные упругой просадки, ведомость дефектов и др.

Результаты комплексного обследования оформляются актом.

Периодичность комплексного обследования рельсовых путей определяется проектом, но должна проводиться не реже 1 раза в 3 года (допускается по согласованию с органами Госгортехнадзора увеличивать до 5 лет периодичность комплексного обследования кранов с временем использования не более 500 маш.-ч/год).

По результатам плановых или внеочередных проверок и комплексного обследования рельсовых путей проводятся работы по их техническому обслуживанию и устранению выявленных дефектов, включая:

- восстановление земляного полотна и балластной призмы до проектных значений;

- рихтовку и выправку пути по уровню;

- подтяжку ослабленных болтовых и винтовых соединений, а также креплений с помощью костылей;

- регулировку зазоров в стыках рельсов и выключающих линеек;

- восстановление поврежденных участков верхнего строения и контуров заземления;

- замену дефектных элементов верхнего строения и путевого оборудования рельсового пути;

- очистку водоотводящего устройства.

Не допускается эксплуатация рельсового пути при следующих дефектах:

- на рабочих поверхностях имеются вмятины, лыски и волнистость более 0,5 см;

- в болтовых соединениях рельсового пути отсутствуют исправные стопорные детали (пружинные шайбы, шплинты и т.п.) или они затянуты с нарушением момента затяжки, указанного в конструкторской документации;

- наличие трещин в рельсах, в тупиковых упорах, в том числе в сварных швах;

- коррозия деталей рельсового пути в глубину более 4 мм;

- уменьшение площади опирания нижней поверхности подрельсовых опорных элементов - полушпал и балок рельсового пути на площади более 10 %;

- в железобетонных подрельсовых элементах имеются обнажения и обрывы арматуры, сплошные опоясывающие и продольные длиной более 300 мм трещины с раскрытием более 0,3 мм, сколы бетона более 100 мм для полушпал и 250 мм для балок;

- в деревянных полушпалах имеются: излом, поперечные трещины длиной по торцу более его половины, продольные трещины глубиной более 50 мм и длиной более 300 мм, поверхностная гниль более 20 мм под подкладками и более 60 мм на остальных поверхностях деревянных элементов.

Эксплуатация и контроль за устройствами заземления должны осуществляться в соответствии с Правилами технической эксплуатации электроустановок.

Предельные значения отклонений элементов верхнего строения и тупикового оборудования, при которых дальнейшая эксплуатация рельсового пути не допускается, приведены выше.

При установке на рельсовых путях грузоподъемных кранов, изготовленных за рубежом, представляется заключение специализированных организаций, имеющих право комплексного обследования крановых путей грузоподъемных машин.

Приложение 8 к ПБ-10-14-92

ФОРМА АКТА
сдачи-приемки кранового рельсового пути в эксплуатацию

___________________________________________________________________________

(организация)

«___» ___________ 20___ г.

Адрес объекта ______________________________________________________________

Тип, заводской и регистрационный номер крана _________________________________

Рельсовый путь

Длина пути _________________________________________________________________

Наличие проектной документации _____________________________________________

___________________________________________________________________________

(разработчик проекта)

Соответствие рельсового пути проектной документации __________________________

___________________________________________________________________________

Наличие акта сдачи-приемки земляного полотна под устройство верхнего строения пути ______________________________________________________________________

Произведена обкатка пути проходами крана:

без груза ________________________________________________________________

с максимальным рабочим грузом ___________________________________________

Результаты измерений:

размер колеи, мм _________________________________________________________

прямолинейность ________________________________________________________

продольный уклон _______________________________________________________

поперечный уклон _______________________________________________________

упругая посадка, мм ______________________________________________________

Наличие и исправность выключающих линеек __________________________________

Наличие и исправность тупиковых упоров _____________________________________

Заземление пути

Конструкция заземления _____________________________________________________

Место расположения и длина заземления _______________________________________

Наименование, тип и номер прибора для измерения сопротивления заземления _______

___________________________________________________________________________

Место измерения ____________________________________________________________

Погода в течение последних трех дней и в день производства измерений ____________

___________________________________________________________________________

Сопротивление заземления, Ом ________________________________________________

Заземление пути:

удовлетворяет нормам _____________________________________________________

не удовлетворяет нормам __________________________________________________

Заземление рельсового пути выполнил _________________________________________

                                                                                                                        (организация, должность,

___________________________________________________________________________

фамилия, подпись)

Измерение сопротивления заземления выполнил _________________________________

                                                                                                                                 (организация, должность,

___________________________________________________________________________

фамилия, подпись)

                                                                            Работу по устройству кранового пути

                                                                       выполнил и сдал ______________________

                                                                                                                                                 (организация, должность,

                                                                       _____________________________________

                                                                                                                                    фамилия, подпись)

                                                                            Крановый путь принял в эксплуатацию

                                                                            _____________________________________

                                                                                                           (организация, должность, фамилия, подпись)

Входной контроль качества сборных бетонных и железобетонных изделий и конструкций

Технические требования

ГОСТ 13015.0-83* Конструкции и изделия бетонные и железобетонные сборные. Общие технические требования.

ГОСТ 13015.2-81* Конструкции и изделия бетонные и железобетонные сборные. Маркировка.

ГОСТ 13015.3-81* Конструкции и изделия бетонные и железобетонные сборные. Документ о качестве.

ГОСТ 13015.4-84 Конструкции и изделия бетонные и железобетонные сборные. Правила транспортирования и хранения.

ГОСТ 11024-84* Панели стеновые наружные бетонные и железобетонные для жилых и общественных зданий. Общие технические условия.

ГОСТ 12504-80* Панели стеновые внутренние бетонные и железобетонные для жилых и общественных зданий. Общие технические условия.

ГОСТ 26434-85** Плиты перекрытий железобетонные для жилых зданий. Типы и основные параметры.

ГОСТ 9561-91 Плиты перекрытий железобетонные многопустотные для зданий и сооружений. Технические условия.

ГОСТ 12767-94 Плиты перекрытий железобетонные сплошные для крупнопанельных зданий. Общие технические условия.

ГОСТ 9574-90 Панели гипсобетонные для перегородок. Технические условия.

ГОСТ 25098-87 Панели перегородок железобетонные для зданий промышленных и сельскохозяйственных предприятий. Технические условия.

ГОСТ 17079-88 Блоки вентиляционные железобетонные. Технические условия.

ГОСТ 17538-82* Конструкции и изделия железобетонные для шахт лифтов жилых зданий. Технические условия.

ГОСТ 18048-80* Кабины санитарно-технические железобетонные. Технические условия.

ГОСТ 9818-85* Марши и площадки лестниц железобетонные. Технические условия.

Стандарты и технические условия на сборные бетонные и железобетонные изделия и конструкции для жилых зданий, предусмотренные проектом.

ГОСТ 24297-87 Входной контроль продукции. Общие положения.

Международные стандарты качества ИСО 9000.

Российские стандарты качества серии ИСО.

Входной контроль качества сборных бетонных и железобетонных изделий и конструкций должен осуществляться в соответствии с требованиями проекта, СНиП 3.01.01-85*, требованиями государственных стандартов и технических условий на конкретную продукцию, предусмотренную проектом, ППР и другой технологической документации, утвержденной в установленном порядке.

На строительной площадке в процессе входного контроля:

- необходимо проветрить наличие сопроводительной документации о качестве изделий и конструкций и полноту содержащихся в ней данных;

- необходимо проверить наличие на изделиях и конструкциях штампа ОТК;

- по имеющейся сопроводительной документации и маркировке необходимо убедиться в соответствии поступивших изделий и конструкций требованиям проекта;

- необходимо путем внешнего осмотра проверить отсутствие на изделиях и конструкциях недопустимых дефектов внешнего вида;

- необходимо убедиться в соответствии поступивших изделий и конструкций требованиям нормативной документации, для чего произвести требуемые замеры геометрических параметров изделий и конструкций, а также необходимые лабораторные испытания;

- при возникновении каких-либо сомнений в качестве поступивших изделий и конструкций должны быть вызваны представители строительной лаборатории или функциональных служб, ответственных за поставку.

ГОСТ 13015.0-83* Конструкции и изделия бетонные и железобетонные сборные. Общие технические требования

Стандарт распространяется на сборные бетонные и железобетонные конструкции и изделия (далее - конструкции), изготовляемые из бетона всех видов на неорганических вяжущих и заполнителях, предназначаемые для всех видов строительства и устанавливают общие технические требования к этим конструкциям.

Конструкции должны быть изготовлены в соответствии с требованиями государственного стандарта или технических условий на конструкции конкретных видов по утвержденной в установленном порядке проектной документации, а также технологической документации, содержащей требования к изготовлению конструкций на всех стадиях производственного процесса.

Конструкции должны удовлетворять установленным при проектировании требованиям по прочности, жесткости и трещиностойкости и в случаях, если в стандартах или технических условиях на эти конструкции предусмотрены испытания их нагружением - выдерживать при таких испытаниях контрольные нагрузки.

Бетоны конструкций должны удовлетворять требованиям государственных стандартов на эти бетоны.

Фактическая прочность бетона (в проектном возрасте, передаточная и отпускная) должна соответствовать требуемой, назначаемой по ГОСТ 18105-86* в зависимости от нормируемой прочности бетона, указанной в стандарте, технических условиях или проектной документации, и от показателя фактической однородности прочности бетона.

В целях уменьшения расхода цемента при достижении предприятием высокой однородности прочности бетона следует обеспечивать снижение фактической прочности бетона по сравнению с нормируемой (но не менее требуемой) путем соответствующего подбора его состава.

Поставка конструкций потребителю должна производиться после достижения бетоном требуемой отпускной прочности.

Значение нормируемой отпускной прочности бетона на сжатие должно устанавливаться расчетом с учетом технологии изготовления конструкций, их транспортирования и монтажа, возможности дальнейшего нарастания прочности бетона в конструкции и сроков ее загружения полной расчетной нагрузкой.

Минимальное значение нормируемой отпускной прочности бетона на сжатие следует принимать (в процентах от класса или марки бетона по прочности на сжатие) не менее:

50 - для конструкций из бетона класса В12,5 и выше или марки М150 и выше;

70 - для конструкций из бетона класса В10 и ниже или марки М100 и ниже (кроме конструкций из легкого бетона);

80 - для конструкций из легкого бетона класса В10 и ниже или марки М100 и ниже;

100 - для конструкций из бетона автоклавного твердения.

Для предварительно напряженных конструкций значение нормируемой отпускной прочности бетона должно приниматься не ниже нормируемой передаточной прочности бетона.

Значение нормируемой отпускной прочности бетона на сжатие должно приниматься (кроме конструкций из бетона автоклавного твердения) не более приведенных в нижеследующей таблице.

Нормируемую отпускную прочность бетона на сжатие указывают в проекте конкретного здания (сооружения) или при заказе конструкций, если она не установлена в стандарте или технических условиях на эти конструкции. При соответствующем обосновании допускается по согласованию с проектной организацией, изготовителем и потребителем конструкций снижать нормируемую отпускную прочность ниже предусмотренных, в т.ч. минимальных значений, или повышать, но не более, чем до 90 % класса или марки бетона по прочности на сжатие.

Наименование конструкций и изделий

Нормируемая отпускная прочность бетона (в процентах от класса или марки бетона по прочности на сжатие)

в теплый период года

в холодный период года

Блоки внутренних стен ненесущие, панели и блоки наружных стен из легкого бетона класса В10 и ниже или марки М100 и ниже

80

90

Блоки внутренних стен ненесущие, панели и блоки наружных стен (кроме перечисленных выше)

70

85

Панели и блоки внутренних стен несущие

70

90

Плиты перекрытий и покрытий зданий и сооружений

70

85

Марши, площадки, ступени, опорные рамы

70

85

Элементы балконов, лоджий, плиты карнизные и парапетные

70

85

Санитарно-технические кабины, вентиляционные блоки, элементы шахт лифтов

70

80

При назначении отпускной прочности бетона различной для холодного (зимнего) и теплого периодов года за холодный период года принимают период, начиная и кончая месяцами, характеризующимися среднемесячной температурой наружного воздуха 0 °С и ниже согласно СНиП 23-01-99, а за теплый период - остальное время года.

В районах со среднемесячной температурой наружного воздуха ниже минус 12 °С за холодный период года следует считать период, начинающийся на один месяц раньше месяца, характеризующегося среднемесячной температурой наружного воздуха 0 °С и ниже.

В районах со среднемесячной температурой наружного воздуха наиболее теплого месяца ниже плюс 10 °С за холодный период допускается принимать весь год.

Поставка конструкций с отпускной прочностью бетона ниже прочности, соответствующей его классу или марке по прочности, должна производиться при условии, если изготовитель гарантирует достижение бетоном конструкций требуемой прочности в проектном возрасте, определяемой по результатам испытания контрольных образцов, изготовленных из бетонной смеси рабочего состава и хранившихся в условиях согласно ГОСТ 18105-86*.

Морозостойкость и водонепроницаемость бетона конструкций должна соответствовать маркам по морозостойкости и водонепроницаемости, установленным проектной документацией конкретного здания (сооружения) или указанным при заказе конструкций.

Фактическая средняя плотность легкого бетона не должна превышать требуемую, определяемую по ГОСТ 27005-86 в зависимости от марки бетона по средней плотности, указанной в стандарте, технических условиях или проектной документации, и от коэффициента требуемой плотности, характеризующего фактическую однородность бетона по плотности.

Влажность (по объему) легкого бетона (кроме бетона на вспученном перлитовом песке или золе) наружных ограждающих конструкций при отпуске их потребителю не должна превышать 13 % для жилых, общественных и вспомогательных зданий и сооружений и 15 % - для производственных зданий.

Отпускная влажность легкого бетона на вспученном перлитовом песке или золе не должна превышать 15 % для жилых, общественных и вспомогательных зданий и сооружений и 18 % - для производственных зданий.

Теплопроводность (коэффициент теплопроводности) легкого бетона наружных ограждающих конструкций (в высушенном до постоянной массы состоянии) не должна более чем на 10 % превышать значений, установленных проектной документацией согласно требованиям стандартов на бетон этого вида.

Виды и классы арматурной стали, применяемой для армирования конструкций, должны соответствовать установленным стандартами или техническими условиями на конструкции конкретных видов.

Форма и размеры арматурных и закладных изделий и их положение в конструкциях должны соответствовать указанным в стандарте на конструкции конкретных видов или в проектной документации.

Сварные арматурные и закладные изделия должны удовлетворять требованиям ГОСТ 10922-90.

Арматурные изделия в конструкциях из легкого бетона крупнопористой структуры, а также в случаях, когда это предусмотрено проектной документацией, - поверхности закладных изделий, арматурных выпусков и соединительных изделий должны иметь антикоррозионное покрытие.

Вид и техническая характеристика антикоррозионного покрытия арматуры, арматурных выпусков, закладных и соединительных изделий должны соответствовать установленным проектной документацией.

Концы напрягаемой арматуры не должны выступать за торцевые поверхности конструкций более чем на 10 мм, за исключением случаев, оговоренных в стандартах или технических условиях на конструкции конкретных видов.

Значения действительных отклонений геометрических параметров не должны превышать предельных, установленных стандартами или техническими условиями на конструкции конкретных видов.

На поверхности конструкций не допускается обнажение рабочей и конструктивной арматуры, за исключением арматурных выпусков и случаев, оговоренных в стандартах или технических условиях на конструкции конкретных видов. Значения действительных отклонений толщины защитного слоя бетона до рабочей арматуры не должны превышать предельных, указанных в нижеследующей таблице.

Номинальная толщина защитного слоя бетона до поверхности стержня арматуры

Предельное отклонение, мм, по толщине защитного слоя бетона при линейных размерах поперечного сечения конструкции или ее элемента

до 100

101 - 200

261 - 300

св. 300

От 10 до 14 включ.

+ 4

+ 5

+ 6

-

Св. 14 до 19 включ.

+ 4; - 3

+ 8; - 3

+ 10; - 3

+ 15; - 5

Св. 19

± 5

+ 8; - 5

+ 10; - 5

+ 15; - 5

В стандартах и технических условиях на конструкции конкретных видов могут быть указаны положительные отклонения по толщине защитного слоя бетона до арматурных стержней, превышающие указанные выше значения, если при этом обеспечивается требуемая несущая способность конструкций.

Бетонные поверхности конструкций подразделяют на категории А1 - А7. При этом размеры раковин, местных наплывов и впадин на бетонной поверхности и околов бетона ребер конструкций не должны превышать значений, указанных в нижеследующей таблице.

Категория бетонной поверхности конструкций конкретных видов должна соответствовать установленной стандартом или техническими условиями на эти конструкции.

Категория бетонной поверхности конструкции

Размеры, мм

Диаметр или наибольший размер раковины

Высота местного наплыва (выступа) или глубина впадины

Глубина окола бетона на ребре, измеряемая по поверхности конструкции

Суммарная длина околов бетона на 1 м ребра

А1

Глянцевая (по эталону)

2

20

А2

1

1

5

50

A3

4

2

5

50

А4

10

1

5

50

А5

не регламентируется

3

10

100

А6

15

5

10

100

А7

20

не регламентируется

20

не регламентируется

Допускаются отдельные (не более 1 шт. на 1 м2 поверхности) раковины диаметром или наибольшим размером не более, мм:

2 - для категории поверхности А2;

6 - для категории поверхности A3;

15 - для категории поверхности А4.

Участки неуплотненного бетона на поверхностях конструкций не допускаются.

На поверхности категории A3, предназначенной под оклейку обоями, местные наплывы (выступы) или впадины не должны быть высотой или глубиной более 1 мм.

Предельные размеры околов бетона на ребре конструкции, если это ребро входит в стык конструкции, который на строительной площадке замоноличивается (оштукатуривается) следует принимать по категории А7 для обеих смежных поверхностей.

В случаях, предусмотренных стандартами или техническими условиями на конструкции конкретных видов, требования к качеству бетонных поверхностей могут быть установлены отличные от указанных выше.

Качество поверхностей конструкций, отделываемых в процессе их изготовления (рельефная, шероховатая, зернистая, камневидная, с обнаженным заполнителем, облицованная плиткой, шлифованная, глянцевая и т.д.), должно соответствовать установленному эталону отделки конструкции.

В бетоне конструкций, поставляемых потребителю, трещины не допускаются, за исключением поперечных трещин от обжатия бетона в предварительно напряженных железобетонных конструкциях, а также усадочных и других поверхностных технологических трещин, ширина которых не должна превышать значений, установленных стандартами или техническими условиями на конструкции конкретных видов. При этом ширина усадочных и других поверхностных технологических трещин не должна превышать:

0,1 мм - в конструкциях из тяжелого бетона, подвергаемых попеременному замораживанию и оттаиванию в водонасыщенном состоянии или в условиях эпизодического водонасыщения; в предварительно напряженных железобетонных конструкциях; в колоннах и стойках;

0,2 мм - в остальных видах конструкций из тяжелого бетона; в конструкциях из легкого бетона с ненапрягаемой арматурой или неармированных.

На лицевых поверхностях конструкций не допускаются жировые и ржавые пятна.

Открытые поверхности стальных закладных изделий, выпуски арматуры, монтажные петли и строповочные отверстия должны быть очищены от наплывов бетона или раствора.

ГОСТ 13015.2-81* Конструкции и изделия бетонные и железобетонные сборные. Маркировка

Стандарт устанавливает общие правила нанесения маркировочных надписей и знаков на сборных бетонных и железобетонных конструкциях и изделиях (далее - конструкции).

Маркировочные надписи подразделяют на:

- основные;

- информационные.

Основные надписи должны содержать:

- марку конструкций;

- товарный знак или краткое наименование предприятия-изготовителя;

- штамп технического контроля.

Информационные надписи должны содержать:

дату изготовления конструкции;

величину массы конструкции (для конструкций, масса которых превышает 0,5 т).

К маркировочным знакам относят монтажные знаки, которые являются изображениями, указывающими:

место строповки конструкции;

верх конструкции;

место опирания конструкции;

установочные риски на конструкции.

Допускается применение маркировочных надписей и знаков, не предусмотренных данным стандартом. Изображение, наименование и назначение дополнительных маркировочных надписей и знаков устанавливаются стандартами или техническими условиями на конструкции конкретных видов.

Место строповки конструкции

Назначение знака и его размеры - по ГОСТ 14192-96

Верх конструкции

Назначение знака и его размеры - по ГОСТ 14192-96

Место опирания конструкции

Знак определяет место опирания конструкции на подкладку или прокладку при хранении и транспортировании конструкций

Установочная риска

Знак служат ориентиром для контроля установки конструкции в проектное положение при монтаже

На каждой конструкции, поставляемой потребителю, в месте, установленном стандартом или техническими условиями на эти конструкции, должны быть нанесены основные и информационные надписи. Необходимость нанесения монтажных знаков устанавливается стандартами или техническими условиями на конструкции конкретных видов.

Маркировочные надписи и знаки на конструкциях должны быть видимыми при хранении и монтаже этих изделий. Возможные варианты расположения надписей и знаков приведены ниже.

1 - марка конструкции; 2 - товарный знак или краткое наименование предприятия-изготовителя; 3 - штамп ОТК; 4 - дата изготовления конструкции; 5 - масса конструкции

Не допускается наносить надписи и знаки на отделанные или предназначенные под окраску лицевые поверхности конструкций, за исключением случаев, оговоренных стандартами или техническими условиями на конструкции конкретных видов.

Маркировка конструкций должна быть произведена следующими способами:

- окраской по трафарету;

- краской при помощи штампов;

- маркировочными машинами;

- штампованием при формовании конструкций.

Допускается наносить маркировочные надписи приведенным в рекомендуемом приложении 2 к стандарту шрифтом от руки специальным карандашом по неостывшей после тепловой обработки бетонной поверхности конструкции или краской.

Маркировочные надписи и знаки должны быть темного цвета (черного, темно-коричневого, темно-зеленого и др.).

Марка конструкции должна соответствовать установленной рабочими чертежами согласно требованиям стандарта или технических условий на данную конструкцию. Допускается по согласованию изготовителя с потребителем наносить на конструкции их сокращенные условные обозначения, принятые в проекте конкретного здания или сооружения.

Товарный знак или краткое наименование предприятия-изготовителя должны соответствовать зарегистрированному в установленном порядке.

Штамп технического контроля предприятия-изготовителя обозначают прописными буквами «ОТК». В штампе технического контроля допускается указывать номер, присвоенный контролеру.

Дата изготовления конструкции должна быть нанесена одной строкой в следующей последовательности: день месяца, месяц, год. Допускается после даты изготовления указывать номер смены. Например, дата 3 января 1997 г. и вторая смена должны быть обозначены: 03 01 97-2.

Масса конструкции должна быть указана в тоннах.

Расположение знаков «Место опирания» на конструкциях должно соответствовать установленному стандартами или техническими условиями на эти конструкции или указанному в рабочих чертежах.

ГОСТ 13015.3-81* Конструкции и изделия бетонные и железобетонные сборные. Документ о качестве

Стандарт устанавливает требования к документу, которым предприятие-изготовитель в соответствии с Положением о поставках продукции производственно-технического назначения должно удостоверить качество и комплектность поставляемых конструкций (далее - документ о качестве).

Документом о качестве должна сопровождаться (или направляться в адрес потребителя) каждая принятая техническим контролем предприятия-изготовителя партия конструкций, часть партии, группа конструкций из разных партий или отдельные конструкции, принимаемые и поставляемые поштучно.

Документ о качестве должен храниться на строительной площадке, а по окончании строительства - у заказчика. На предприятии-изготовителе должен храниться дубликат этого документа или фиксироваться в журнале сведения о его выдаче (с записью данных, содержащихся в документе о качестве).

В документе о качестве должны быть указаны:

- наименование и адрес предприятия-изготовителя;

- номер и дата выдачи документа;

- номер партии или конструкции (при поштучной поставке);

- наименование и марки конструкций;

- число конструкций каждой марки;

- дата изготовления конструкций;

- класс или марка бетона по прочности;

- отпускная прочность бетона (нормируемая, требуемая с учетом фактической однородности бетона по ГОСТ 18105-86* и фактическая);

- обозначение стандарта или технических условий.

Кроме указанных показателей в документе о качестве должны быть приведены и другие показатели, если это предусмотрено стандартами или техническими условиями на конструкции конкретных видов.

Документ о качестве конструкций, поставляемых потребителю, должен быть подписан работником, ответственным за технический контроль предприятия-изготовителя.

ГОСТ 13015.4-84 Конструкции и изделия бетонные и железобетонные сборные. Правила транспортирования и хранения

Стандарт устанавливает общие правила транспортирования и хранения сборных бетонных и железобетонных конструкций и изделий (далее конструкций).

Конструкции должны транспортироваться и храниться в соответствии с требованиями данного стандарта и стандарта или технических условий на конструкции конкретных видов.

Конструкции при транспортировании и хранении должны укладываться (устанавливаться) способом (в штабели, кассеты и др.), установленным стандартом или техническими условиями на конструкции конкретных видов в зависимости от их формы, размеров и назначения.

Малогабаритные и легковесные конструкции должны транспортироваться и храниться, как правило, в специализированных контейнерах или пакетах.

Погрузка, транспортирование, разгрузка и хранение конструкций должны производиться, соблюдая меры, исключающие возможность их повреждения.

При погрузочно-разгрузочных работах не допускается:

- разгружать конструкции со свободным их падением;

- перемещать конструкции по земле волоком.

Подъем, погрузку и разгрузку конструкций следует производить кранами при помощи траверс или стропов в соответствии со схемами строповки, приведенными в проектной документации на эти конструкции.

Требования безопасности при проведении погрузочно-разгрузочных работ - по ГОСТ 12.3.009-76*.

Конструкции при транспортировании и хранении следует опирать на инвентарные подкладки или опоры другого типа, а между рядами конструкций в штабеле - на инвентарные прокладки прямоугольного (трапецеидального) поперечного сечения из дерева или других материалов, обеспечивающих сохранность конструкций.

Толщина подкладок и прокладок должна быть не менее 30 мм. При наличии в конструкциях выступающих деталей или монтажных петель толщина подкладок и прокладок должна превышать размер выступающих деталей или петель не менее чем на 20 мм.

Минимальную толщину подкладок и прокладок изменяют, а также прокладки между рядами конструкций конкретных видов не устанавливают в случаях, указанных в стандартах или технических условиях на эти конструкции в зависимости от их формы, размеров и способа укладки.

Расположение подкладок (опор) и прокладок под конструкциями должно соответствовать установленному стандартом или техническими условиями на конструкции конкретных видов или проектной документацией на эти конструкции.

При укладке конструкций в штабели подкладки и прокладки по высоте штабеля следует располагать по вертикали одна над другой.

Конструкции или отдельные их элементы, показатели качества которых снижаются от попадания атмосферной влаги, должны быть защищены от увлажнения на период транспортирования и хранения.

Конструкции следует хранить на специально оборудованных складах рассортированными по видам и маркам.

Площадка склада должна иметь плотную, выровненную поверхность с небольшим уклоном для водоотвода.

Конструкции следует укладывать (устанавливать) на складе так, чтобы были видны маркировочные надписи и знаки, а также обеспечена возможность захвата каждой отдельно стоящей конструкции (или верхней конструкции в штабеле), контейнера или пакета краном и свободный подъем для погрузки на транспортные средства.

Высота штабеля конструкций должна соответствовать установленной стандартом или техническими условиями на конструкции конкретных видов.

ГОСТ 11024-84* Панели стеновые наружные бетонные и железобетонные для жилых и общественных зданий. Технические условия

Стандарт распространяется на бетонные и железобетонные панели, изготовляемые из легкого бетона, автоклавного ячеистого бетона и тяжелого бетона и предназначенные для наружных стен жилых и общественных зданий.

Панели, предназначенные для эксплуатации в условиях воздействия агрессивной среды, должны удовлетворять требованиям данного стандарта и дополнительным указаниям проектной документации, установленным с учетом требований СНиП 2.03.11-85.

Применение однослойных панелей из автоклавного ячеистого бетона и двухслойных панелей с теплоизоляционным слоем из легкого бетона крупнопористой структуры не допускается в стенах цокольного этажа и технического подполья.

Стандарт не распространяется на панели межвидового применения (полосовой разрезки для общественных и производственных зданий и однорядной разрезки для общественных и вспомогательных зданий промышленных предприятий) в части типов, основных параметров, размеров и условных обозначений панелей, а также на предварительно напряженные панели, сплошные двухслойные панели с теплоизоляционным слоем из автоклавного ячеистого бетона, панели, являющиеся внутренними в составных наружных стенах, и панели для стен помещений с мокрым режимом.

Панели классифицируют по следующим признакам, характеризующим их типы: назначению в здании; конструктивному решению и числу основных слоев.

По назначению в здании панели подразделяют на панели для: надземных этажей; цокольного этажа или технического подполья; чердака.

По конструктивному решению панели подразделяют на цельные и составные.

По числу основных слоев панели подразделяют на однослойные и слоистые (двух- и трехслойные).

Слоистые панели могут быть сплошными (без воздушных прослоек) и с воздушными прослойками. Двух- и трехслойные панели с воздушной прослойкой, расположенной за наружным слоем, в дальнейшем именуются двух- и трехслойными панелями с экраном.

Панели подразделяют на следующие типы:

для надземных этажей: 1НС - цельные однослойные, 2НС - цельные двухслойные, 3НС - цельные трехслойные, 4НС - составные однослойные, 5HC - составные двухслойные, 6НС - составные трехслойные;

для цокольного этажа или технического подполья: 1НЦ - цельные однослойные, 2НЦ - цельные двухслойные; 3НЦ - цельные трехслойные, 5НЦ - составные двухслойные, 6НЦ - составные трехслойные;

для чердака: 1НЧ - цельные однослойные; 2НЧ - цельные двухслойные; 3НЧ - цельные трехслойные; 4НЧ - составные однослойные; 5НЧ - составные двухслойные; 6НЧ - составные трехслойные.

Панели должны обозначаться марками в соответствии с требованиями ГОСТ 23009-78*.

Марка панели состоит из буквенно-цифровых групп, разделенных дефисами.

Первая группа содержит обозначение типа панели и ее номинальные габаритные размеры (значения которых округляют до целого числа): длину и высоту в дециметрах, толщину в сантиметрах.

Во второй группе указывают класс (или марку) бетона по прочности на сжатие, обозначаемый цифровым индексом класса (или марки) бетона, вид бетона, обозначаемый буквами: Т - тяжелый бетон, Л - легкий бетон, Я - автоклавный ячеистый бетон. Для слоистых панелей с внешними слоями из бетона разного класса (или марки) по прочности на сжатие или разного вида должен быть указан класс (или марка) и вид бетона несущего слоя панели.

Третья группа содержит дополнительные характеристики, обозначаемые буквами и отражающие особые условия применения панелей и их стойкость: С - к сейсмическим воздействиям (при расчетной сейсмичности 7 баллов и более); М - к воздействиям низких температур наружного воздуха (при строительстве в районах с расчетной зимней температурой наружного воздуха ниже минус 40 °С). Для панелей, применяемых в условиях воздействия агрессивных сред, в третью группу марки включают обозначения характеристик панелей, обеспечивающих их стойкость в условиях эксплуатации, при этом показатели проницаемости бетона панелей обозначают буквами: Н - нормальной проницаемости, П - пониженной проницаемости, О - особо низкой проницаемости.

В третью группу, в случае необходимости включают также обозначения конструктивных особенностей панели (форму панели; конфигурацию торцевых зон; наличие, вид и расположение проемов; наличие и форму штрабы в местах примыкания смежных конструкций; вид и расположение арматурных выпусков и закладных изделий; наличие арматуры для восприятия усилий, вызываемых неравномерными деформациями основания, сложенного просадочными, набухающими, мерзлыми, заторфованными, насыпными и прочими сильно деформируемыми грунтами, и другие). Эти особенности панели следует обозначать в марке арабскими цифрами или строчными буквами.

Пример условного обозначения (марки) панели типа 1НС длиной 5990 мм, высотой 2865 мм, толщиной 350 мм (типоразмера 1НС60.29.35), из легкого бетона марки по прочности на сжатие М75:

1НС 60.29.35-75Л

То же, панели типа 2НС длиной 3590 мм, высотой 2865 мм, толщиной 350 мм (типоразмера 2НС36.29.35), с внутренним несущим слоем из легкого бетона марки по прочности на сжатие М200:

2НС 36.29.35-200Л

То же, панели типа 3НС длиной 2990 мм, высотой 2865 мм, толщиной 350 мм (типоразмера 3НС30.29.35), с внутренним несущим слоем из тяжелого бетона марки по прочности на сжатие М200, предназначенной для зданий с расчетной сейсмичностью 8 баллов, строящихся в районах с расчетной зимней температурой наружного воздуха ниже минус 40 °С:

3НС 30.29.35-200Т-СМ

То же, панели типа 1НЦ длиной 2990 мм, высотой 2300 мм, толщиной 300 мм (типоразмера 1НЦ30.23.30), из легкого бетона марки по прочности на сжатие М100:

1НЦ 30.23.30-100Л

Панели конкретных видов должны изготовляться в соответствии с требованиями технических условий, разработанных с учетом данного стандарта, по проектной и технологической документации, утвержденной в установленном порядке.

Панели должны иметь заводскую готовность, соответствующую требованиям данного стандарта и дополнительным требованиям проектной документации на конкретные здания, устанавливаемым с учетом условий транспортирования и хранения панелей, технологии погрузочно-разгрузочных работ и монтажа зданий.

Составные панели должны поставляться в собранном виде.

В случаях, предусмотренных проектной документацией на конкретные здания, панели следует поставлять с нанесенными водонепроницаемыми и другими грунтовками, гидроизоляционными и пароизоляционными покрытиями, установленными окнами, дверями, подоконными плитами (досками) и сливами, с выполненной герметизацией и теплоизоляцией в стыках между оконными и дверными блоками и гранями проемов, накладными изделиями и другими конструктивными элементами.

Поставка панелей без окон, дверей, подоконных плит (досок) и сливов в том случае, если их установка предусмотрена проектной документацией, допускается только по соглашению изготовителя с потребителем и проектной организацией - автором проекта.

В случаях, предусмотренных проектной документацией, панели должны иметь:

- выступы, вырезы, штрабы, ниши, стальные закладные и накладные изделия и другие конструктивные элементы, предназначенные для опирания панелей на конструкции здания, а также для опирания и примыкания смежных конструкций; вырезы и углубления в торцевых зонах и в других местах примыканий к панелям смежных конструкций, предназначенные для образования шпоночного соединения после замоноличивания стыков;

- арматурные выпуски, стальные закладные изделия и другие конструктивные элементы для соединения панелей между собой и со смежными конструкциями здания;

- выступы, пазы и другие конструктивные детали в торцевых зонах панелей, а также по периметру проемов, предназначенные для образования противодождевого барьера, упора уплотняющих прокладок и герметиков, установки в стыке водоотбойного элемента (ленты) и других целей;

- гнезда для монтажных (подъемных) петель и других монтажных и соединительных деталей;

- установленные окна с подоконными плитами (или досками), сливами и двери;

- закладные и накладные изделия и другие конструктивные элементы для закрепления приставных подоконных плит (досок), солнцезащитных устройств, занавесей, карнизов, устройств для навески штор и другого оборудования здания, открытых нагревательных приборов и других элементов инженерного оборудования;

- каналы или замоноличенные трубки и коробки для скрытой сменяемой электропроводки.

Панели должны удовлетворять требованиям ГОСТ 13015.0-83*:

- по прочности, жесткости и трещиностойкости панелей;

- по показателям фактической прочности бетона (в проектном возрасте и отпускной);

- по морозостойкости бетона;

- по средней плотности, теплопроводности и отпускной влажности легкого бетона и автоклавного ячеистого бетона однослойных панелей, внутреннего слоя двухслойных панелей с экраном и теплоизоляционного слоя трехслойных панелей, а также легкого бетона теплоизоляционного слоя сплошных двухслойных панелей;

- к форме, размерам и качеству арматурных и закладных изделий и их положению в панелях;

- к классам и маркам арматурной стали для монтажных петель;

- по отклонениям толщины защитного слоя бетона до рабочей арматуры;

- по защите от коррозии арматурных выпусков, закладных и соединительных изделий, а также металлических связей, выполненных из сталей, не стойких к агрессивному воздействию среды, в трехслойных панелях.

Фактическая прочность раствора наружного защитно-декоративного и внутреннего отделочного слоев панелей должна соответствовать марке раствора по прочности на сжатие, установленной проектной документацией.

Поставка панелей потребителю должна производиться после достижения раствором нормируемой отпускной прочности.

Значение нормируемой отпускной прочности бетона и раствора панелей в процентах от класса или марки по прочности на сжатие следует принимать равным:

70 - для тяжелого и легкого бетона класса В12,5 и выше или марки M150 и выше, а также для раствора или бетона наружного защитно-декоративного и внутреннего отделочного слоев;

80 - для легкого бетона класса В10 и ниже или марки М100 и ниже;

100 - для автоклавного ячеистого бетона.

Допускается снижать нормируемую отпускную прочность бетона или раствора наружного защитно-декоративного слоя на белом цементе до 60 % класса или марки по прочности на сжатие.

Для холодного периода года допускается повышать значение нормируемой отпускной прочности бетона или раствора в процентах от класса или марки по прочности на сжатие, но не более:

85 - для тяжелого бетона всех классов или марок и для легкого бетона класса В12,5 и выше или марки М150 и выше;

90 - для легкого бетона класса В10 и ниже или марки М100 и ниже, а также раствора или бетона наружного защитно-декоративного и внутреннего отделочного слоев.

Для несущих панелей, наружного слоя трехслойных панелей, а также панелей, для которых определяющим является расчет на усилия, возникавшие при транспортировании и хранении панелей и при монтаже зданий, допускается для любого периода года повышать нормируемую отпускную прочность тяжелого и легкого бетонов, а также раствора или бетона наружного защитно-декоративного и внутреннего отделочного слоев до 100 % класса или марки по прочности на сжатие.

Значение нормируемой отпускной прочности бетона и раствора в соответствии с требованиями ГОСТ 13015.0-83* должно приниматься по проектной документации на конкретное здание.

Поставку панелей с отпускной прочностью бетона и раствора ниже прочности, соответствующей их классу или марке по прочности на сжатие, допускается проводить при условии, если изготовитель гарантирует достижение бетоном или раствором панелей требуемой прочности в проектном возрасте, определяемой по результатам испытания контрольных образцов, изготовленных из бетонной смеси рабочего состава и хранившихся в условиях согласно ГОСТ 18105-86*.

Морозостойкость раствора панелей должна соответствовать маркам по морозостойкости, установленным проектной документацией на конкретные здания и указанным в заказе на изготовление панелей.

Внешний вид и фактическое значение параметров отделки панелей должны соответствовать требованиям, установленным данным стандартом и проектной документацией на конкретные здания.

Вид и техническая характеристика гидроизоляционных материалов и грунтовочных составов, места их нанесения на панели, а также расположение участков торцевых и других граней панелей (например, откосов проемов), подлежащих затирке, должны соответствовать установленным проектной документацией. Места примыканий оконных в дверных блоков к граням проемов должны быть защищены от водо- и воздухопроницания с помощью герметизирующих мастик, уплотняющих прокладок или другим способом в соответствии с указаниями проектной документации.

Значения действительных отклонений геометрических параметров панелей не должны превышать предельных, указанных в нижеследующей таблице.

Геометрический параметр и его номинальное значение, мм

Пред. откл., мм

Длина и высота панели:

 

до 500

± 2,0

св. 500 до 1000

± 2,5

св. 1000 до 1600

± 3,0

св. 1600 до 2500

± 4,0

св. 2500 до 4000

± 5,0

св. 4000 до 8000

± 6,0

св. 8000

± 8,0

Толщина панели:

 

до 250

± 4,0

св. 250 до 500

± 5,0

Размеры проемов, вырезов, выступов и углублений, в том числе вырезов и углублений для образования шпоночного соединения после замоноличивания стыков, выступов для упора уплотнительных прокладок и герметиков, пазов для установки водоотбойного элемента (ленты):

 

до 20

± 1,2

св. 20 до 60

± 1,5

св. 60 до 120

± 2,0

св. 120 до 250

± 2,5

св. 250 до 500

± 3,0

св. 500 до 1000

± 4,0

св. 1000 до 1600

± 5,0

св. 1600 до 2500

± 6,0

св. 2500 до 4000

± 8,0

Размеры гнезд для ответвительных коробок, выключателей и штепсельных розеток, борозд для электропроводки

0; + 2,0

Размер, определяющий положение проемов, вырезов, выступов и углублений, в том числе вырезов и углублений для образования шпоночного соединения после замоноличивания стыков, выступов для упора уплотнительных прокладок и герметиков, пазов для установки водоотбойного элемента (ленты):

 

до 20

1,2

св. 20 до 60

1,5

св. 60 до 120

2,0

св. 120 до 250

2,5

св. 250 до 500

3,0

св. 500 до 1000

4,0

св. 1000 до 1600

5,0

св. 1600 до 2500

6,0

св. 2500 до 4000

8,0

Размер, определяющий положение элементов стальных закладных изделий, расположенных в соответствии с проектной документацией на одном уровне с поверхностью бетона и не служащих фиксаторами при монтаже:

 

в плоскости панели:

 

для элементов закладных изделий размером в этой плоскости до 100 мм

5,0

для элементов закладных изделий размером в этой плоскости св. 100 мм

10,0

из плоскости панели

3,0

Размер, определяющий положение стальных закладных изделий, служащих фиксаторами при монтаже

3,0

Прямолинейность профиля лицевых поверхностей панели, ее опорных граней и участков торцевых граней, образующих устья стыков, в любом сечении:

 

на участках длиной 1 м

2,0

на всей длине панели длиной:

 

до 2500

4,0

св. 2500 до 4000

5,0

св. 4000 до 8000

6,0

св. 8000

8,0

Плоскостность лицевой поверхности панели при измерениях от условной плоскости, проходящей через три угловых точки поверхности панели, при наибольшем размере (длине или высоте):

 

до 2500

6,0

св. 2500 до 4000

8,0

св. 4000 до 8000

10,0

св. 8000

12,0

Разность длин диагоналей лицевых поверхностей панели (для панелей и проемов, имеющих форму прямоугольника) при наибольшем размере (длине или высоте):

 

до 4000

8,0

св. 4000 до 8000

10,0

св. 8000

12,0

Перпендикулярность смежных торцевых граней (для панелей и проемов непрямоугольной формы) на участках длиной:

 

400

2,0

1000

2,5

Допускаются значения предельных отклонений геометрических параметров, установленные техническими условиями на панели конкретных видов на основании расчета точности по ГОСТ 21780-83.

Значения действительных отклонений размеров и положения выпусков арматуры панелей не должны превышать предельных, указанных в проектной документации.

Значения действительных отклонений толщины защитного слоя бетона до конструктивной арматуры не должны превышать удвоенных предельных значений отклонений, установленных ГОСТ 13015.0-83* по толщине защитного слоя бетона до рабочей арматуры, но не более 20 мм.

Качество отделки и внешний вид панелей должны соответствовать требованиям ГОСТ 13015.0-83* и данного стандарта.

Категории бетонных (растворных) поверхностей панелей должны соответствовать установленным техническими условиями на панели конкретных видов. В случае, если в технических условиях не установлены категории поверхностей, то их следует принимать (кроме поверхностей, отделываемых в процессе изготовления):

А2 - лицевых наружных и внутренних поверхностей полной заводской готовности, а также лицевых внутренних поверхностей, подготовленных под окраску (в том числе откосов оконных и дверных проемов) без шпатлевания их на строительной площадке;

A3 - лицевых наружных поверхностей, подготовленных под окраску без шпатлевания их на строительной площадке, а также лицевых внутренних поверхностей, подготовленных под окраску со шпатлеванием на строительной площадке;

А4 - лицевых поверхностей, подготовленных под оклейку обоями и другими рулонными и листовыми материалами толщиной до 1 мм, а также под облицовку плитками на мастике (без растворного слоя);

A5 - лицевых поверхностей, подготовленных под облицовку керамическими, стеклянными и другими плитками по слою раствора;

А6 - лицевых неотделываемых поверхностей (например, внутренних поверхностей панелей чердачных помещений);

А7 - нелицевых поверхностей, невидимых в условиях эксплуатации.

Суммарная длина околов бетона на 1 м ребра панели для поверхностей категории А7 в опорной зоне панели не должна превышать 200 мм.

Допускается по согласованию с организацией - автором проекта конкретного здания увеличивать предельную суммарную длину околов на 1 м ребра в опорной зоне.

На участках поверхностей панелей, предназначенных для образования герметизируемых зов в стыках и устройства оклеечной воздухоизоляции, не допускаются:

раковины диаметром более 3 мм и глубиной более 2 мм;

местные наплывы и впадины высотой (глубиной) более 2 мм;

околы бетона ребер глубиной более 2 мм и длиной более 30 мм на 1 м ребра.

Наличие на панелях отслоившихся облицовочных плиток не допускается. Качество швов между облицовочными плитками должно соответствовать установленному эталоном отделки панели (или ее фрагмента).

В бетоне и растворе панелей, поставляемых потребителю, не должно быть трещин, за исключением местных поверхностных усадочных и других технологических трещин шириной не более:

0,15 мм - на участках, где согласно проектной документации требуется контролировать ширину раскрытия трещин при испытании панелей нагружением;

0,2 мм - в остальных случаях.

Маркировка панелей должна выполняться по ГОСТ 13015.2-81* и данному стандарту.

Маркировочные надписи должны наноситься на нелицевой торцевой вертикальной грани панели. Допускается наносить маркировочные надписи на лицевой поверхности панели вблизи ее торцевой вертикальной грани краской, не снижающей качество последующей отделки панелей.

Допускается по соглашению изготовителя с потребителем и проектной организацией - автором проектной документации на конкретные здания вместо марок наносить на панели их сокращенные условные обозначения, принятые в проектной документации.

Монтажные знаки должны наноситься на панели в случаях, предусмотренных проектной документацией. Монтажные знаки, указывающие места строповки и опирания панелей, должны быть нанесены во всех случаях, когда поставку панелей осуществляют железнодорожным или водным транспортом.

Требования к документу о качестве панелей, поставляемых потребителю, - по ГОСТ 13015.3-81* и данному стандарту.

Для слоистых панелей, выполненных из бетонов разных видов или структур, показатели качества бетона следует указывать для каждого слоя.

При наличии в панелях слоев из раствора в документе о качестве следует приводить показатели прочности раствора (марку по прочности на сжатие, нормируемую и фактическую отпускную прочность) и марку раствора по морозостойкости. Для бетона и раствора следует указывать класс или марку по прочности на сжатие.

Фактическую среднюю плотность бетона и фактическую теплопроводность (коэффициент теплопроводности) следует указывать для бетона в высушенном до постоянной массы состоянии.

Панели следует транспортировать и хранить в соответствии с требованиями ГОСТ 13015.4-84 и данного стандарта.

Панели следует хранить в кассетах в вертикальном или наклонном положении. Каждая панель должна быть установлена на деревянные подкладки высотой не менее 30 мм или опоры другого типа, обеспечивающие ее сохранность.

При хранении и транспортировании слоистых панелей опоры следует располагать только под несущим слоем. Конструкция опор должна исключать возможность опирания панели теплоизоляционным или наружным защитно-декоративным слоем.

При наличии в панели выступающих вниз частей и деталей высота опор должна превышать их высоту не менее чем на 20 мм.

Кассеты следует устанавливать на площадках с твердым искусственным покрытием или плотным и ровным естественным основанием.

Панели следует перевозить в вертикальном или наклонном положении на панелевозах, железнодорожных платформах и других транспортных средствах, снабженных специальными крепежными и опорными устройствами, обеспечивающими неподвижность панелей и их сохранность, включая сохранность заполнения проемов и деталей, выступающих из плоскости панелей.

Окна и двери, установленные в панелях, при хранении и транспортировании панелей должны быть закрыты и закреплены.

Подъем, погрузку и разгрузку панелей следует производить за монтажные петли или с применением специальных захватных устройств, предусмотренных проектной документацией.

ГОСТ 12504-80* Панели стеновые внутренние бетонные и железобетонные для жилых и общественных зданий. Общие технические условия

Стандарт распространяется на сплошные плоские бетонные и железобетонные панели, изготовленные из тяжелого, легкого бетона, плотного силикатного бетона и автоклавного ячеистого бетона и предназначенные для внутренних несущих стен и перегородок жилых и общественных зданий.

Стандарт не распространяется на предварительно напряженные панели и панели специального назначения (вентиляционные, дымовые, электропанели и др.), а также на панели из плотного силикатного и автоклавного ячеистого бетонов, предназначенные для стен помещений с относительной влажностью воздуха свыше 75 %.

Панели классифицируют по следующим признакам, характеризующим их типы: участию в восприятии вертикальных нагрузок, назначению в здании и конструктивному решению.

По участию в восприятии вертикальных нагрузок панели подразделяют на панели несущие и панели не несущие (панели перегородок).

По назначению в здании панели подразделяют на панели для надземных этажей, панели для подвального и цокольного этажей или технического подполья и панели для чердака.

По конструктивному решению панели подразделяют на панели цельные и панели составные.

Панели подразделяют на следующие типы:

для надземных этажей: ПСВ - несущие цельные; ПСВС - несущие составные; ПГВ - ненесущие цельные; ПГВС - ненесущие составные;

для подвального и цокольного этажей или технического подполья: ПСП - несущие цельные; ПСПС - несущие составные; ПГП - ненесущие цельные; ПГПС - ненесущие составные;

для чердака: ПСЧ - несущие цельные; ПСЧС - несущие составные; ПГЧ - ненесущие цельные; ПГЧС - ненесущие составные.

Координационные размеры панелей при отсутствии разделяющих элементов в местах их сопряжений со смежными конструкциями здания (например, стен перпендикулярного направления или перекрытий) должны соответствовать приведенным в нижеследующей таблице.

Координационный размер панели

Кратность координационного размера модулю

Ряд координационных размеров, мм

Длина

12М

1200; 2400; 3600; 4800; 6000; 7200

1200; 1800; 2400; 3000; 3600; 4200; 4800; 5400; 6000; 6600; 7200

15M

1500; 3000; 4500; 6000; 7500

Высота

6М; 3М; М

2800; 3000; 3300; 3600; 4200

Толщина

М/5

60; 80; 100; 120; 140; 160; 180; 200; 220; 240; 260; 280; 300

Номинальная толщина бетонных панелей должна быть не менее:

100 мм - для несущих панелей;

60 мм - для не несущих панелей.

Панели должны обозначаться марками в соответствии с ГОСТ 23009-78*.

Марка панелей состоит из буквенно-цифровых групп, разделенных дефисами.

Первая группа содержит обозначение типа панели и ее номинальные габаритные размеры: длину и высоту в дециметрах (значения которых округляются до целого числа) и толщину в сантиметрах.

Во второй группе указывают класс или проектную марку бетона по прочности на сжатие, обозначаемую цифровым индексом класса или марки бетона, и вид бетона, обозначаемый буквами: Л - легкий бетон, С - силикатный бетон, Я - ячеистый бетон.

Третья группа содержит дополнительные характеристики, обозначаемые буквами и отражающие особые условия применения панелей и их стойкость: С - к сейсмическим воздействиям (при расчетной сейсмичности зданий 7 баллов и более); М - к воздействиям низких температур наружного воздуха (при строительстве в районах с расчетной зимней температурой наружного воздуха ниже 40 °С). Для панелей, применяемых в условиях воздействия агрессивных сред, в третью группу марки включают обозначения характеристик панелей, обеспечивающих их долговечность в условиях эксплуатации. При этом показатели проницаемости бетона обозначают буквами: Н - нормальной проницаемости; П - пониженной проницаемости, О - особонизкой проницаемости.

В третью группу, в случае необходимости, включают также обозначения конструктивных особенностей панели (конфигурацию торцовых зон; наличие, вид и расположение проемов и отверстий; вид и расположение арматурных выпусков и закладных изделий; наличие арматуры для восприятия усилий, вызываемых неравномерными деформациями основания, сложенного проселочными, набухающими, мерзлыми, заторфованными, насыпными и прочими сильно деформируемыми грунтами, и др.). Эти особенности панели следует обозначать в марке арабскими цифрами или строчными буквами.

Пример условного обозначения (марки) панели типа ПСВ длиной 4720 мм, высотой 2650 мм, толщиной 160 мм (типоразмера ПCB47.27.16), из тяжелого бетона проектной марки по прочности на сжатие М 200:

ПСВ 47.27.16-200

То же, панели типа ПСП длиной 2980 мм, высотой 2170 мм, толщиной 200 мм (типоразмера ПСП30.22.20), из легкого бетона проектной марки по прочности на сжатие М150, предназначенной для зданий с расчетной сейсмичностью 8 баллов:

ПСП 30.22.20-150Л-C

То же, панели типа ПСВС длиной 3580 мм, высотой 2970 мм, толщиной 240 мм (типоразмера ПСВС36.30.24), из ячеистого бетона проектной марки по прочности на сжатие М75, предназначенного для зданий, возводимых в районах с расчетной зимней температурой наружного воздуха ниже минус 40 °С:

ПСВС 36.30.24-75Я-М

Панели должны изготовляться в соответствии с требованиями данного стандарта по проектной и технологической документации, утвержденной в установленном порядке.

Фактическая прочность бетона (в проектном возрасте и отпускная) должна соответствовать требуемой, назначаемой по ГОСТ 18105-86* в зависимости от нормируемой прочности бетона, указанной в проектной документации и заказе на изготовление панелей, и от показателя фактической однородности прочности бетона.

При этом класс или марка бетона по прочности на сжатие несущих панелей, а также ненесущих панелей, участвующих в пространственной работе здания, должны быть не ниже:

В12,5 или М150 - в железобетонных панелях из бетона любого вида и в бетонных панелях из плотного силикатного бетона;

В7,5 или М100 - в бетонных панелях из тяжелого бетона;

В5 или М75 - в бетонных панелях из легкого бетона;

В2 или М25 - в бетонных панелях из автоклавного ячеистого бетона.

Поставка панелей потребителю должна производиться после достижения бетоном требуемой отпускной прочности.

Значение нормируемой отпускной прочности бетона панелей в процентах от класса или марки бетона на сжатие должно быть равным:

70 - для тяжелого бетона, но не менее 9,8 МПа (100 кгс/см2), и для легкого бетона класса В12,5 и выше или марки М150 и выше;

80 - для легкого бетона класса В7,5 и ниже или марки М100 и ниже;

100 - для плотного силикатного и автоклавного ячеистого бетонов.

Для холодного периода года допускается повышать значение нормируемой отпускной прочности тяжелого и легкого бетонов, но не более 90 % класса или марки бетона по прочности на сжатие.

Для ненесущих панелей, а также панелей, для которых определяющим является расчет на усилия, возникающие при транспортировании, хранении панелей и при монтаже зданий, допускается для любого периода года повышать нормируемую отпускную прочность тяжелого и легкого бетонов до 100 % класса или марки по прочности на сжатие.

Значение нормируемой отпускной прочности бетона должно приниматься по проектной документации на конкретное здание в соответствии с требованиями ГОСТ 13015.0-83*.

Поставку панелей с отпускной прочностью бетона ниже прочности, соответствующей их классу или марке по прочности на сжатие, допускается производить при условии, если изготовитель гарантирует достижение бетоном панелей требуемой прочности в проектном возрасте, определяемой по результатам испытания контрольных образцов, изготовленных из бетонной смеси рабочего состава и хранившихся в условиях согласно ГОСТ 18105-86*.

Морозостойкость бетона панелей должна соответствовать марке по морозостойкости, установленной в рабочих чертежах конкретного проекта здания согласно требованиям главы СНиП 2.03.01-84* в зависимости от климатических условий района строительства и указанной при заказе.

Марка ячеистого бетона по морозостойкости должна быть не менее Мрз 25.

В тех случаях, когда панели на части своей длины являются элементом наружной стены здания, марка бетона панелей по морозостойкости должна быть такой же, как и для панелей из того же вида бетона, применяемых в наружных стенах.

Отклонения фактических размеров панелей от номинальных, мм, приведенных в рабочих чертежах, не должны превышать величин, указанных в нижеследующей таблице.

Номинальная длина панели

Предельные отклонения

по длине

по высоте

по толщине при номинальной толщине панели

до 100

св. 100

До 2500

± 6

± 5

± 3

± 5

Св. 2500 до 4000

± 8

± 5

Св. 4000 до 8000

± 10

± 6

Отклонения фактических размеров деталей панелей от номинальных, указанных в рабочих чертежах, не должны превышать, мм:

размеров проемов, вырезов и выступов ± 5;

размеров гнезд и отверстий для распаечных коробок, выключателей и штепсельных розеток + 2.

Отклонения от номинального положения деталей не должны превышать:

10 мм - проемов, вырезов и выступов; 20 мм - гнезд и отверстий для распаечных коробок, выключателей и штепсельных розеток.

Непрямолинейность профиля лицевых поверхностей и опорных граней панелей в любом сечении не должна превышать, мм:

на участках длиной 1,6 м - 3;

на всей длине панели длиной: до 2,5 м - 3; св. 2,5 до 4,0 м - 5; св. 4,0 до 8,0 - 8.

Неплоскостность лицевых поверхностей панелей при измерениях от условной плоскости, проходящей через три угловых точки панели, не должна превышать в мм следующих значений, для панелей длиной: до 4,0 м - 8; св. 4,0 м - 13.

Разность длин диагоналей лицевых плоскостей панелей прямоугольной формы не должна превышать величин, указанных в нижеследующей таблице.

Разность длин диагоналей проемов прямоугольной формы не должна превышать 10 мм.

Номинальная длина панели

Предельная разность длин диагоналей

До 2500

10

Св. 2500 до 4000

13

Св. 4000 до 8000

16

Отклонения от номинального положения элементов стальных закладных изделий, расположенных в соответствии с проектом на одном уровне с поверхностью бетона и не служащих фиксаторами при монтаже, не должны превышать, мм:

в плоскости панели:

5 - для элементов закладных изделий размером в этой плоскости до 100 мм;

10 - для элементов закладных изделий размером в этой плоскости свыше 100 мм;

из плоскости панели - 5.

Отклонения от номинального положения элементов стальных закладных изделий, служащих фиксаторами при монтаже, не должны превышать 3 мм.

Отклонения от номинальных размеров и положения выпусков арматуры не должны превышать величин, указанных в рабочих чертежах.

Толщина защитного слоя бетона до арматуры в панелях должна соответствовать указанной в рабочих чертежах.

Значения действительных отклонений толщины защитного слоя бетона до рабочей арматуры не должны превышать предельных, указанных в ГОСТ 13015.0-83*, а до конструктивной арматуры - удвоенных предельных значений, установленных ГОСТ 13015.0-83* до рабочей арматуры, но не более 20 мм.

Требования к качеству поверхностей и внешнему виду панелей - по ГОСТ 13015.0-83*. При этом качество поверхностей панелей должно удовлетворять требованиям, установленным для категорий (кроме поверхностей, отделываемых в процессе изготовления):

А4 - лицевых; А7 - боковых, невидимых в условиях эксплуатации.

По согласованию между изготовителем и потребителем могут быть установлены вместо указанных следующие категории поверхностей:

А2 или A3 - лицевых, подготовленных под окраску;

А5 - лицевых, подготовленных под облицовку керамическими и другими плитками по слою раствора;

А6 - лицевых, к которым не предъявляют требования по качеству отделки.

Суммарная длина околов на 1 м ребра панели для поверхностей категории А7 в опорной зоне панели не должна превышать 200 мм. Допускается по согласованию с организацией - автором проекта конкретного здания увеличивать предельную суммарную длину околов бетона на 1 м ребра в опорной зоне.

В бетоне панелей, поставляемых потребителю, не должно быть трещин, за исключением местных поверхностных усадочных и других технологических трещин шириной не более 0,2 мм.

Размеры, отклонения от прямолинейности, плоскостности и равенства диагоналей поверхностей панелей, ширину раскрытия технологических трещин, размеры раковин, наплывов и околов бетона панелей следует проверять методами, установленными ГОСТ 26433.0-85 и ГОСТ 26433.1-89.

Размеры и положение арматурных изделий, толщину защитного слоя бетона до арматуры следует определять по ГОСТ 17625-83 или ГОСТ 22904-93. При отсутствии необходимых приборов допускается вырубка борозд и обнажение арматуры панелей с последующей заделкой борозд.

Маркировка панелей - по ГОСТ 13015.2-81*. Маркировочные надписи и знаки должны быть нанесены на торцовой вертикальной грани панели. Допускается наносить маркировочные надписи и знаки на лицевой поверхности панели вблизи ее торцовой вертикальной грани краской, не снижающей качество отделки панели.

Панели с допускаемыми сквозными трещинами должны иметь маркировочный знак Т, нанесенный на ту часть панели, которая видима при хранении на складе и после монтажа. Каждая сквозная трещина должна быть помечена линией, нанесенной на расстоянии 3 - 4 см от трещины на всю ее длину. Указанные линии и маркировочный знак должны наноситься несмываемой краской, не снижающей качество последующей отделки панелей.

На панели с допускаемыми сквозными трещинами должен быть выписан отдельный документ о качестве по ГОСТ 13015.3-81*.

Транспортировать и хранить панели следует в соответствии с требованиями ГОСТ 13015.3-84 и данного стандарта.

Панели должны храниться в кассетах в вертикальном положении, рассортированными по маркам и установленными на подкладки толщиной не менее 30 мм или другие опоры, обеспечивающие сохранность панелей. Кассеты должны устанавливаться на площадках с твердым искусственным покрытием или с плотным и ровным основанием.

Панели должны устанавливаться на складе так, чтобы были видны их маркировочные знаки.

Панели должны перевозиться в вертикальном или наклонном положении на панелевозах, железнодорожных платформах и других транспортных средствах, снабженных специальными крепежными и опорными устройствами, обеспечивающими неподвижность панелей и их сохранность, включая сохранность деталей, выступающих из плоскости панелей.

Панели с допускаемыми сквозными трещинами должны храниться и транспортироваться отдельно от остальных панелей.

В случаях, предусмотренных проектом, панели должны быть защищены от увлажнения на период их хранения и транспортирования.

Подъем, погрузку и разгрузку панелей следует производить краном с захватом монтажных петель или с применением специальных захватных устройств, предусмотренных проектом.

Изготовитель должен гарантировать соответствие поставляемых панелей требованиям данного стандарта при соблюдении транспортными организациями правил транспортирования, а потребителем - условий применения и хранения панелей, установленных данным стандартом.

Гарантийный срок хранения и эксплуатации панелей, в течение которого изготовитель обязав устранять обнаруженные потребителем скрытые дефекты - два года с даты отгрузки панелей потребителю.

Скрытые дефекты - такие дефекты, которые не могли быть обнаружены при входном контроле панелей потребителем и выявились в процессе их транспортирования, хранения, подготовки к монтажу, монтажа и эксплуатации в здании.

ГОСТ 26434-85** Плиты перекрытий железобетонные для жилых зданий. Типы и основные параметры

Стандарт распространяется на сборные железобетонные плиты, изготовляемые из конструкционных тяжелого и легкого бетонов и предназначенные для несущей части перекрытий жилых зданий.

Плиты подразделяются на следующие типы:

1П - сплошные однослойные плиты толщиной 120 мм;

2П - то же, толщиной 160 мм;

Плиты типов 2П изготовляют только из тяжелого бетона.

Плиты всех типов могут быть предусмотрены для опирания по двум или трем стропам или по контуру.

В жилых зданиях с встроенными или пристроенными помещениями общественного назначения для перекрытий этих помещений допускается применять плиты типов и размерами, установленными для перекрытий общественных зданий.

Координационные длина и ширина плит должны соответствовать указанным в нижеследующей таблице.

Типоразмер плиты

Координационные размеры плиты, мм

Длина

Ширина

Плиты типа 1П

1П30.48

3000

4800

1П30.54

5400

1П30.60

6000

1П30.66

6600

1П36.48

3600

4800

1П36.54

5400

1П36.60

6000

1П36.66

6600

Плиты типа 2П

2П24.60

2400

6000

2П30.48

3000

4800

2П30.54

5400

2П30.60

6000

2П36.24

3600

2400

2П36.30

3000

2П36.36

3600

2П36.48

4800

2П36.54

5400

2П36.60

6000

2П60.12

6000

1200

2П60.24

2400

2П60.30

3000

2П60.36

3600

Конструктивная длина и ширина плит должна быть равна соответствующему координационному размеру, уменьшенному на 20 мм - размер зазора между смежными плитами.

В случае необходимости перекрытия плитой пространства, превышающего расстояние между соседними координационными осями здания (например, для плит, опираемых на всю толщину стены лестничной клетки крупнопанельных зданий с поперечными несущими стенами), конструктивная длина должна быть равна соответствующему координационному размеру, увеличенному на 60 мм.

Категория нижней потолочной бетонной поверхности плит - А2 по ГОСТ 13015.0-83*.

Плиты следует обозначать марками в соответствии с требованиями ГОСТ 23009-78*.

Марка плиты состоит из буквенно-цифровых групп, разделенных дефисами.

Первая группа содержит обозначение типа плиты и ее конструктивные длину и ширину в дециметрах (значения которых округляют до целого числа).

Во второй группе указывают:

значение расчетной нагрузки в кПа;

класс напрягаемой арматуры для предварительно напряженных плит;

вид бетона для плит, изготовляемых из легкого бетона (обозначаемый прописной буквой Л).

В третью группу, при необходимости, включают дополнительные характеристики, отражающие особые условия применения плит и их стойкость к сейсмическим и другим воздействиям, а также обозначения конструктивных особенностей плит (наличие, размеры и расположение проемов, вид и расположение арматурных выпусков и закладных изделий и др.). Особые условия применения плит обозначают прописными буквами, а конструктивные особенности плит - строчными буквами или арабскими цифрами.

ГОСТ 9561-91 Плиты перекрытий железобетонные многопустотные для зданий и сооружений. Технические условия

Стандарт распространяется на железобетонные многопустотные плиты (далее - плиты), изготовляемые из тяжелого, легкого и плотного силикатного бетонов и предназначаемые для несущей части перекрытий зданий и сооружений различного назначения.

Плиты должны применяться в соответствии с указаниями рабочих чертежей плит и дополнительными требованиями, оговариваемыми при заказе этих конструкций.

Плиты должны изготовляться в соответствии с требованиями данного стандарта и технологической документации, утвержденной предприятием-изготовителем, по рабочим чертежам типовых конструкций или проектов зданий (сооружений).

Допускается по согласованию изготовителя с потребителем изготовлять плиты, отличающиеся типами и размерами от приведенных в данном стандарте, при соблюдении остальных требований этого стандарта.

Плиты подразделяют на типы:

1ПК - толщиной 220 мм с круглыми пустотами диаметром 159 мм, предназначенные для опирания по двум сторонам;

1ПКТ - то же, для опирания по трем сторонам;

1ПКК - то же, для опирания по четырем сторонам;

2ПК - толщиной 220 мм с круглыми пустотами диаметром 140 мм, предназначенные для опирания по двум сторонам;

2ПКТ - то же, для опирания по трем сторонам;

2ПКК - то же, для опирания по четырем сторонам;

3ПК - толщиной 220 мм с круглыми пустотами диаметром 127 мм, предназначенные для опирания по двум сторонам;

3ПКТ - то же, для опирания по трем сторонам;

3ПКК - то же, для опирания по четырем сторонам;

4ПК - толщиной 260 мм с круглыми пустотами диаметром 159 мм и вырезами в верхней зоне по контуру, предназначенные для опирания по двум сторонам;

5ПК - толщиной 260 мм с круглыми пустотами диаметром 180 мм, предназначенные для опирания по двум сторонам;

6ПК - толщиной 300 мм с круглыми пустотами диаметром 203 мм, предназначенные для опирания по двум сторонам;

7П - толщиной 160 мм с круглыми пустотами диаметром 114 мм, предназначенные для опирания по двум сторонам;

ПГ - толщиной 260 мм с грушевидными пустотами, предназначенные для опирания по двум сторонам;

ПБ - толщиной 220 мм, изготовляемые методом непрерывного формования на длинных стендах и предназначенные для опирания по двум сторонам.

Форма и координационные длина и ширина плит (за исключением плит типа ПБ) должны соответствовать приведенным ниже.

Тип плиты

Координационные размеры плиты, мм

Длина

Ширина

1ПК, 2ПК

От 2400 до 6600 включительно с интервалом 300, 7200, 7500, 9000

1000, 1200, 1500, 1800, 2400,

3ПК

3000, 3600

1ПК

1000, 1200, 1500

1ПКТ, 2ПКТ

От 3600 до 6600 включительно с интервалом 300, 7200, 7500

От 2400 до 3600 включ. с интервалом 300

1ПКК, 2ПКК, 3ПКК

От 2400 до 3600 включительно с интервалом 300

От 4800 до 6600 включ. с интервалом 300, 7200

4ПК

От 2400 до 6600 включительно с интервалом 300, 7200, 9000

1000, 1200, 1500

5ПК

6000, 9000, 12000

1000, 1200, 1500

6ПК

12000

1000, 1200, 1500

7ПК

От 3600 до 6300 включительно с интервалом 300

1000, 1200, 1500, 1800

ПГ

6000, 9000, 12000

1000, 1200, 1500

Конструктивная длина и ширина плит (за исключением плит типа ПБ) должны быть равными соответствующему координационному размеру из приведенной выше таблицы, уменьшенному на величину a1 (зазор между смежными плитами) или а2 (расстояние между смежными плитами при наличии между ними разделяющего элемента, например, антисейсмического пояса, вентиляционных каналов, ребра ригеля), или увеличенному на величину а3 (например, для плит, опираемых на всю толщину стен лестничной клетки зданий с поперечными несущими стенами). Значения а1, а2, а3 приведены в нижеследующей таблице.

Область применения плит

Дополнительные размеры, учитываемые при определении конструктивного размера плиты, мм

длины

ширины а1

а1

а2

а3

Крупнопанельные здания, в том числе здания при расчетной сейсмичности 7 - 9 баллов

20

-

60

10 - для плит координационной шириной менее 2400, 20 - для плит координационной шириной 2400 и более

Здания (сооружения) со стенами из кирпича, камней и блоков, за исключением зданий (сооружений) при расчетной сейсмичности 7 - 9 баллов

20

-

-

Здания (сооружения) со стенами из кирпича, камней и блоков при расчетной сейсмичности 7 - 9 баллов

20

140

-

Каркасные здания (сооружения), в том числе здания (сооружения) при расчетной сейсмичности 7 - 9 баллов

20

350

-

За длину плит принимают:

размер стороны плиты, не опираемой на несущие конструкции здания (сооружения) - для плит, предназначенных для опирания по двум или трем сторонам;

меньший из размеров плиты в плане - для плит, предназначенных для опирания по контуру.

Для зданий (сооружений) с расчетной сейсмичностью 7 баллов и более допускается изготовлять плиты, имеющие форму, отличающуюся от указанной на нижеприведенном рисунке.

ПЛИТЫ ТИПОВ 1ПК, 2ПК, 3ПК, 5ПК, 6ПК, 7ПК

Пустоты в плитах, предназначенных для опирания по двум или трем сторонам, должны располагаться параллельно направлению, по которому определяется длина плит. В плитах, предназначенных для опирания по четырем сторонам, пустоты могут располагаться параллельно любой из сторон контура плиты.

Номинальное расстояние между центрами пустот в плитах типов 1ПК, 1ПКТ, 1ПКК, 2ПК, 2ПКТ, 2ПКК, 3ПК, 3ПКТ, 3ПКК должно быть не менее 185 мм, в плитах 7ПК - не менее 139 мм.

Плиты должны изготовляться с углублениями и пазами на боковых гранях для образования после замоноличивания прерывистых или непрерывных шпонок, обеспечивающих совместную работу плит перекрытий на сдвиг в горизонтальном и вертикальном направлениях.

По согласованию изготовителя с потребителем и проектной организацией - автором проекта конкретного здания (сооружения) допускается изготовлять плиты без углублений или пазов для образования шпонок.

Плиты, предназначенные для опирания по двум или трем сторонам, должны изготовляться предварительно напряженными. Плиты толщиной 220 мм, длиной менее 4780 мм, с пустотами диаметрами 159 и 140 мм и плиты толщиной 260 мм, длиной менее 5680 мм, а также плиты толщиной 220 мм, любой длины, с пустотами диаметром 127 мм допускается изготовлять с ненапрягаемой арматурой.

Плиты должны изготовляться с усиленными торцами. Усиление торцов достигается уменьшением поперечного сечения пустот на опорах или заполнением пустот бетоном или бетонными вкладышами. При расчетной нагрузке на торцы плит в зоне опирания стен, не превышающей 1,67 МПа (17 кгс/см2), допускается по согласованию изготовителя с потребителем поставлять плиты с неусиленными торцами.

Способы усиления и минимальные размеры заделок устанавливают в рабочих чертежах или указывают при заказе плит.

В случаях, предусмотренных рабочими чертежами конкретного здания (сооружения), плиты могут иметь закладные изделия, выпуски арматуры, местные вырезы, отверстия и другие дополнительные конструктивные детали.

Плиты должны обозначать марками в соответствии с требованиями ГОСТ 23009-78*. Марка плиты состоит из буквенно-цифровых групп, разделенных дефисами.

В первой группе указывают обозначение типа плиты, длину и ширину плиты в дециметрах, значения которых округляют до целого числа.

Во второй группе указывают:

- расчетную нагрузку на плиту в килопаскалях (килограмм-сила на квадратный метр) или порядковый номер плиты по несущей способности;

- класс стали напрягаемой арматуры (для предварительно напряженных плит);

- вид бетона (Л - легкий бетон, С - плотный силикатный бетон; тяжелый бетон не обозначают).

В третьей группе, при необходимости, указывают дополнительные характеристики, отражающие особые условия применения плит (например, их стойкость к воздействию агрессивных газообразных сред, сейсмическим воздействиям), а также обозначения конструктивных особенностей плит (например, наличие дополнительных закладных изделий).

Пример условного обозначения (марки) плиты типа 1ПК длиной 6280 мм, шириной 1490 мм, рассчитанной под расчетную нагрузку 6 кПа, изготовленной из легкого бетона с напрягаемой арматурой класса Ат-V:

1ПК 63.15-6АтVЛ

То же, изготовленной из тяжелого бетона и предназначенной для применения в зданиях с расчетной сейсмичностью 7 баллов:

1ПК 63.15-6АтV-C7

Плиты должны удовлетворять установленным при проектировании требованиям по прочности, жесткости, трещиностойкости и при испытании их нагружением в случаях, предусмотренных рабочими чертежами, выдерживать контрольные нагрузки.

Плиты должны удовлетворять требованиям ГОСТ 13015.0-83*:

- по показателям фактической прочности бетона (в проектном возрасте, передаточной и отпускной);

- по морозостойкости бетона, а для плит, эксплуатируемых в условиях воздействия агрессивной газообразной среды, также по водонепроницаемости бетона;

- по средней плотности легкого бетона;

- к маркам сталей для арматурных и закладных изделий, в том числе монтажных петель;

- по отклонениям толщины защитного слоя бетона до арматуры;

- по защите от коррозии.

Плиты, применяемые в качестве несущей части лоджий, должны удовлетворять также дополнительным требованиям ГОСТ 25697-83*. Плиты должны изготовляться из тяжелого бетона по ГОСТ 26633-91, конструкционного легкого бетона плотной структуры средней плотности не менее 1400 кг/м2 по ГОСТ 25820-83* или плотного силикатного бетона средней плотности не менее 1800 кг/м2 по ГОСТ 25214-82 классов или марок по прочности на сжатие, указанных в рабочих чертежах этих плит.

Нормируемая передаточная прочность бетона предварительно напряженных плит в зависимости от класса или марки бетона по прочности на сжатие, вида и класса напрягаемой арматурной стали должна соответствовать указанной в рабочих чертежах этих плит.

Нормируемая отпускная прочность бетона предварительно напряженных плит из тяжелого или легкого бетона для теплого периода года должна быть равна нормируемой передаточной прочности бетона, а плит с ненапрягаемой арматурой - 70 % прочности бетона на сжатие, соответствующей его классу или марке. При поставке этих плит в холодный период года или для обеспечения сохранности их при перевозке железнодорожным транспортом в теплый период года (по согласованию между изготовителем и потребителем плит) нормируемая отпускная прочность бетона может быть повышена до 85 % прочности бетона на сжатие, соответствующей его классу или марке.

Нормируемая отпускная прочность бетона плит из плотного силикатного бетона должна быть равна 100 % прочности бетона на сжатие, соответствующей его классу или марке.

Требования к качеству бетонных поверхностей и внешнему виду плит (в том числе требования к допустимой ширине раскрытия технологических трещин) - по ГОСТ 13015.0-83* и данному стандарту.

Качество бетонных поверхностей плит должно удовлетворять требованиям, установленным для категорий:

A3 - нижней (потолочной);

А7 - верхней и боковых.

По согласованию изготовителя с потребителем плит могут быть установлены вместо указанных следующие категории поверхностей:

А2 - нижняя (потолочная), подготовленная под окраску;

А4 - то же, подготовленная под оклейку обоями или декоративную отделку пастообразными составами, и верхняя, подготовленная под покрытие линолеумом;

А6 - нижняя (потолочная), к которой не предъявляются требования по качеству отделки.

Значения действительных отклонений геометрических параметров плит не должны превышать предельных, указанных в нижеследующей таблице.

Наименование отклонения геометрического параметра

Предельное отклонение, мм

Отклонение от линейного размера:

 

длины и ширины плиты:

 

до 2500 мм включ.

± 6

св. 2500 до 4000 мм включ.

± 8

св. 4000 до 8000 мм включ.

± 10

св. 8000 мм

± 12

толщины плиты

± 5

размера, определяющего положение:

 

отверстий и вырезов закладных изделий:

10

в плоскости плиты

10

из плоскости плиты

5*

Отклонение от прямолинейности профиля верхней поверхности плиты, предназначаемой под непосредственную наклейку линолеума, а также профиля боковых граней плиты на длине 2000 мм

5

Отклонение от плоскостности лицевой нижней (потолочной) поверхности плиты при измерениях от условной плоскости, проходящей через три угловых точки плиты длиной:

 

до 8000 мм

8

св. 8000 мм

10

* - отклонение от размера, определяющего положение закладного изделия из верхней плоскости плит, предназначенных под непосредственную наклейку линолеума, должно быть только во внутрь плиты.

В бетоне плит, поставляемых потребителю, трещины не допускаются, за исключением усадочных и других поверхностных технологических трещин шириной не более 0,3 мм на верхней поверхности плит и не более 0,2 мм - на боковых и нижней поверхностях плит.

На лицевых поверхностях плит не допускаются:

- жировые и ржавые пятна;

- участки неуплотненного бетона:

- обнажение арматуры, за исключением выпусков арматуры или концов напрягаемой арматуры, которые не должны выступать за торцовые поверхности плит более чем на 10 мм и должны быть защищены слоем цементно-песчаного раствора или битумным лаком;

наплывы бетона или раствора на открытых поверхностях стальных закладных изделий, выпусках арматуры, монтажных петлях и строповочных отверстиях.

Маркировочные надписи и знаки должны быть нанесены на боковые грани или верхнюю поверхность плит.

На верхней поверхности плиты, опираемой по трем сторонам, должны быть нанесены знаки «Место опирания» по ГОСТ 13015.2-81*, располагаемые посередине у каждой стороны опирания плиты.

В документе о качестве плит должны быть указаны:

наименование и адрес предприятия-изготовителя;

номер и дата выдачи документа;

номер партии; наименование и марка плит; число плит каждой марки;

дата изготовления плит;

класс или марка бетона по прочности; отпускная прочность бетона (нормируемая, требуемая и фактическая);

обозначение данного стандарта.

В документе о качестве плит, предназначенных для эксплуатации в условиях воздействия агрессивных сред, дополнительно должна быть приведена марка бетона по водонепроницаемости (если этот показатель оговорен в заказе на изготовление плит).

Плиты должны транспортироваться и храниться в штабелях, уложенными в горизонтальное положение. На специализированных транспортных средствах допускается перевозка плит в наклонном или вертикальном положении.

Высота штабеля плит не должна быть более 2,5 м.

Подкладки под нижний ряд плит и прокладки между ними в штабеле следует располагать вблизи монтажных петель.

ГОСТ 12767-94 Плиты перекрытий железобетонные сплошные для крупнопанельных зданий. Общие технические условия

Стандарт распространяется на железобетонные сплошные плиты, изготовляемые из тяжелого бетона, конструкционного легкого бетона плотной структуры и плотного силикатного бетона и предназначенные для использования их в качестве несущей части перекрытий крупнопанельных зданий различного назначения с расчетной нагрузкой на перекрытие (без учета собственного веса плит) до 6,0 кПа включ.

Стандарт не распространяется на железобетонные плиты с выступающими частями для образования балконов.

Плиты классифицируют по следующим признакам, характеризующим их типы:

- по толщине плиты;

- по схеме опирания плиты на несущие конструкции здания.

Плиты подразделяют на типы, указанные в нижеследующей таблице.

Толщина плиты мм

Тип плит при их опирании на несущие конструкции

по четырем сторонам

по трем сторонам

по двум сторонам

100

-

-

120

-

2ПД

140

3ПТ

3ПД

160

4ПТ

4ПД

180

5ПТ

5ПД

200

T

6ПД

Форма и размеры плит должны соответствовать установленным рабочими чертежами на эти плиты.

Конструктивную длину и ширину плиты принимают согласно ГОСТ 28984-91 равными соответствующему координационному размеру плиты, уменьшенному на зазор между смежными плитами, который в плитах массового применения должен быть равным 20 мм.

Плиты должны иметь:

- стальные закладные детали, выпуски арматуры и другие конструктивные элементы, предназначенные для соединения со смежными конструкциями зданий;

- каналы для скрытой электропроводки, гнезда для распаечных коробок и розеток, пластмассовые коробки с анкерами для крепления светильников;

- отверстия и проемы для пропуска инженерных коммуникаций.

Плиты обозначают марками, состоящими из буквенно-цифровых групп, разделенных дефисами.

Первая группа содержит обозначение типа плиты и габаритные размеры (длину, ширину) плит в дециметрах, значения которых округляют до целого числа.

Во второй группе приводят:

- расчетную нагрузку на плиту (без учета нагрузки от ее собственного веса) в килопаскалях или установленный проектной документацией порядковый номер плиты по ее несущей способности;

- класс напрягаемой арматуры (для предварительно напряженных плит);

- для плит из легкого и плотного силикатного бетона - дополнительно его вид (л - легкий бетон, с - плотный силикатный бетон).

В третьей группе, при необходимости, указывают дополнительные характеристики плит, отражающие особые условия их применения (например, стойкость к сейсмическим воздействиям обозначается буквой «С» и цифрой, соответствующей расчетной сейсмичности в баллах), а также обозначения конструктивных особенностей плит (наличие проемов, скосов).

Пример условного обозначения плиты типа 2П, длиной 3580 мм, шириной 5980 мм под расчетную нагрузку 3,0 кПа, с напрягаемой арматурой, из легкого бетона:

2П 36.60-3л

То же, плиты 4ПД длиной 5980 мм, шириной 2380 мм под расчетную нагрузку 6,0 кПа, с напрягаемой арматурой класса Ат-V, изготовляемой из тяжелого бетона:

4ПД 60.24-6АтV

Допускается принимать обозначения марок плит в соответствии с рабочими чертежами плит.

Плиты должны изготовляться в соответствии с требованиями данного стандарта и утвержденной предприятием-изготовителем технологической документации, содержащей требования к изготовлению плит на всех стадиях производственного процесса, по проектной документации, утвержденной в установленном порядке.

Плиты, предназначенные для применения в качестве плит лоджий зданий, должны удовлетворять дополнительным требованиям ГОСТ 25697-83*.

Плиты должны удовлетворять установленным при проектировании требованиям по прочности, жесткости и трещиностойкости.

Плиты должны изготовляться из тяжелого бетона средней плотности более 2200 до 2500 кг/м3 включ., конструкционного легкого бетона плотной структуры средней плотности не менее 1500 кг/м3 или плотного силикатного бетона средней плотности не менее 1800 кг/м3 классов (марок) по прочности на сжатие, установленных проектной документацией.

Фактическая прочность бетона должна соответствовать требуемой, назначаемой по ГОСТ 18105-86* в зависимости от нормируемой прочности (класса или марки по прочности на сжатие, передаточной и отпускной) и от характеристики фактической однородности прочности бетона.

Нормируемая передаточная прочность бетона предварительно напряженных плит в зависимости от класса (марки) бетона по прочности на сжатие, вида и класса напрягаемой арматуры должна соответствовать указанной в проектной документации.

Значение нормируемой отпускной прочности бетона на сжатие предварительно напряженных плит из тяжелого или легкого бетона принимают равным значению нормируемой передаточной прочности, а плит с ненапрягаемой арматурой - 70 % прочности бетона, соответствующей его классу (марке).

При поставке плит в холодный период года, а также для обеспечения сохранности их при перевозке железнодорожным транспортом (по согласованию с потребителем плит) нормируемая отпускная прочность бетона плит может быть повышена до 85 % прочности бетона, соответствующей его классу (марке).

Нормируемая отпускная прочность бетона плит из плотного силикатного бетона должна быть равна 100 % прочности бетона на сжатие, соответствующей его классу (марке).

Поставка плит с отпускной прочностью бетона ниже прочности, соответствующей его классу (марке) по прочности на сжатие, производится при условии, если изготовитель гарантирует достижение бетоном плит требуемой проектной прочности, определяемой по результатам испытания контрольных образцов, изготовленных из бетонной смеси рабочего состава, хранившихся в условиях согласно ГОСТ 18105-86* и испытанных в возрасте 28 сут.

Морозостойкость и водонепроницаемость бетона плит должна соответствовать его маркам по морозостойкости и водонепроницаемости, установленным проектной документацией конкретного здания и указанным при заказе плит.

Вид и класс арматурной стали, применяемой для армирования плит, должны соответствовать установленным рабочими чертежами конкретных плит.

В случаях, предусмотренных проектной документацией, арматурные и закладные изделия, выпуски арматуры и соединительные элементы должны иметь антикоррозионное покрытие, вид и технические характеристики которых должны соответствовать установленным проектной организацией.

Действительные отклонения геометрических параметров плит не должны превышать предельных, мм:

по длине и ширине плит при их размерах:

до 4000 включ.                                                                                                             ± 8

св. 4000                                                                                                                         ± 10

по толщине плит                                                                                                          ± 6

по размерам вырезов и выступов                                                                              ± 6

по размерам, определяющим положение:

отверстий, вырезов, пластмассовых коробок с анкерами и ответвительных коробок 10

закладных изделий: в плоскости плиты                                                                    10

из плоскости плиты                                                                 5

Отклонение от прямолинейности профиля верхней поверхности плиты, предназначенной под непосредственную наклейку линолеума, а также профиля боковых граней плиты не должно превышать: на длине 2000 - 5 мм, по всей длине - 16 мм.

Отклонение от плоскостности лицевой нижней (потолочной) поверхности плиты при измерениях от условной плоскости, проходящей через три угловые точки плиты, не должно превышать: для плит длиной до 4000 мм - 10 мм, для плит длиной свыше 4000 мм - 12 мм.

Разность диагоналей плит не должна превышать: для плит длиной до 4000 мм - 8 мм, для плит длиной свыше 4000 мм - 10 мм.

По согласованию с проектной организацией - автором проекта конкретного здания (сооружения) допускается принимать значения предельных отклонений геометрических параметров, отличные от вышеуказанных, на основе расчета точности по ГОСТ 21780-83 с учетом конструктивного решения здания (сооружения) и условий строительства.

Действительные отклонения толщины защитного слоя бетона до арматуры от его номинального значения, указанного в рабочих чертежах плит, не должны превышать предельных, указанных в ГОСТ 13015.0-83*.

Для размещения скрытой сменяемой электропроводки должны применяться пластмассовые трубки. Действительный диаметр каналов сменяемой электропроводки не должен быть менее 0,9 их номинального диаметра.

Требования к качеству бетонных поверхностей и внешнему виду плит - по ГОСТ 13015.0-83*.

В бетоне плит, поставляемых потребителю, трещины не допускаются, за исключением усадочных и других поверхностных технологических трещин на нижней (потолочной) поверхности плит шириной не более 0,2 мм.

Обнажение арматуры не допускается, за исключением выпусков арматуры или концов напрягаемой арматуры, которые не должны выступать торцевые поверхности плит более чем на 10 мм и должны быть защищены слоем цементно-песчаного раствора или битумным лаком.

Открытые поверхности стальных закладных изделий, выпуски арматуры, строповочные отверстия и монтажные (подъемные) петли должны быть очищены от наплывов бетона.

Документ о качестве поставляемых плит - по ГОСТ 13015.3-81*.

Маркировка плит - по ГОСТ 13015.2-81*.

Маркировочные надписи и знаки должны наноситься на боковой грани или верхней поверхности плиты.

На верхнюю поверхность плиты, опираемой по трем сторонам, должны быть нанесены знаки «Место опирания» по ГОСТ 13015.2-81*, располагаемые посередине у каждой стороны опирания плиты. На плитах должны быть нанесены обозначения верхней поверхности плиты и направление рабочего пролета плит, опираемых по двум или трем сторонам.

ГОСТ 9574-90 Панели гипсобетонные для перегородок. Технические условия

Данный стандарт распространяется на гипсобетонные панели, изготовляемые из бетонов на гипсовых вяжущих (включая гипсоцементнопуццолановые, гипсоизвестково-шлаковые, гипсошлаковый и т.п.), армируемые деревянными каркасами и предназначаемые для ненесущих перегородок в зданиях различного назначения.

Панели должны изготовляться в соответствии с требованиями данного стандарта по рабочим чертежам и технологической документации, утвержденным в установленном порядке.

Панели подразделяют в зависимости от конструктивного решения на типы:

ПГ - без проемов; ПГП - с проемами; ПГВ - с вырезами.

Форма и размеры панелей должны соответствовать указанным в рабочих чертежах.

Панели должны иметь отверстия для пропуска инженерных коммуникаций, замоноличенные трубки, каналы, штрабы или пазы для скрытой электропроводки, гнезда и закладные цилиндры для ответвительных коробок, выключателей и штепсельных розеток, если это предусмотрено проектом конкретного здания.

Условные обозначения (марки) панелей - по ГОСТ 23009-78*. Марка панели состоит из буквенно-цифровых групп, разделенных дефисами.

Первая группа содержит обозначение типа панели и ее габаритные размеры: длину и высоту в дециметрах с округлением значений до целого числа и толщину в сантиметрах.

Вторая группа содержит марку бетона по прочности на сжатие и обозначение вида вяжущего (Г - гипсовое, ГЦ - гипсоцементнопуццолановое, ГИ - гипсоизвестковошлаковое, ГШ - гипсошлаковое).

В случаях, предусмотренных рабочими чертежами, марка панели может иметь третью группу, содержащую обозначения ее дополнительных характеристик.

Пример условного обозначения (марки) панели без проемов длиной 5960 мм, высотой 2740 мм, толщиной 80 мм, из бетона марки М50 на гипсовом вяжущем:

ПГ 60.27.8-50 Г

По согласованию между изготовителем и потребителем могут быть установлены упрощенные условные обозначения.

Прочность бетона панелей должна соответствовать маркам бетона по прочности на сжатие, указанным в рабочих чертежах. При этом марка бетона панелей должна быть не менее М50.

Отпускная прочность бетона на сжатие панелей (независимо от его марки) должна быть не менее 3,5 МПа (35,7 кгс/см2).

Средняя плотность бетона панелей в сухом состоянии должна быть не менее 1100 и не более 1500 кг/м3.

Влажность (по массе) бетона при отпуске панелей потребителю не должна превышать 12 % для бетона на гипсовом вяжущем и 14 % для бетона на гипсоцементнопуццолановом, гипсоизвестковошлаковом и гипсошлаковом вяжущем.

Панели должны армироваться каркасами, состоящими из деревянных спаренных брусков, образующих обвязки по контуру панелей и проемов и скрепленных деревянными рейками. Расположение деревянных брусков и реек в каркасе, а также способы их соединения и размеры должны соответствовать указанным в рабочих чертежах.

Панели должны иметь стальные монтажные петли, заделываемые на всю высоту панели. Расположение монтажных петель и способ их крепления к каркасу должны соответствовать указанным в рабочих чертежах.

При применении для подъема и перемещения панелей специальных захватных устройств по согласованию между изготовителем и потребителем панели изготовляют без монтажных петель, предусматривая углубления и прорези для закрепления захватных устройств.

Значения действительных отклонений геометрических параметров панелей не должны превышать предельных, указанных в нижеследующей таблице.

Геометрические параметры

Предельные отклонения, мм

Длина панели:

 

до 4000 мм включ.

+ 8, - 16

св. 4000 мм

+10, -20

Высота панели

+ 5, - 15

Толщина панели

± 5

Высота и ширина проема, выреза

± 10

Размеры, определяющие положение:

 

проемов, вырезов, отверстий (для пропуска инженерных коммуникаций)

± 10

замоноличенных трубок, каналов, штраб или пазов для скрытой электропроводки, гнезд и закладных цилиндров для ответвительных коробок, выключателей, розеток, углублений и прорезей для закрепления захватных устройств

± 40

монтажных петель

± 50

Прямолинейность профиля бетонных поверхностей панелей на любом участке длиной 1600 мм

3

Разность длин диагоналей:

 

бетонных поверхностей панелей длиной:

 

до 4000 мм включ.

16

св. 4000 мм

20

проемов, вырезов

10

Размеры раковин, местных наплывов и впадин на бетонной поверхности панелей, а также околов бетона ребер не должны превышать, мм:

диаметр или наибольший размер раковины................................................ 15

высота местного наплыва (выступа) или глубины впадины..................... 2

глубина околов бетона ребер......................................................................... 10

суммарная длина околов бетона на 1 м ребра.............................................. 100

Допускаются отдельные (не более 2 шт. на 1 м2 поверхности) раковины диаметром или наибольшим размером не более 20 мм.

По согласованию между изготовителем и потребителем могут быть установлены категории поверхностей по ГОСТ 13015.0-83*.

В бетоне панелей трещины не допускаются, за исключением поверхностных, ширина которых не должна превышать 0,5 мм.

Маркировка панелей - по ГОСТ 13015.2-81*. Маркировочные надписи и знаки должны наноситься на одну из бетонных поверхностей панелей в верхнем или нижнем углу.

Транспортировать и хранить панели следует в соответствии с требованиями ГОСТ 13015.4-84 и данного стандарта.

Панели следует транспортировать и хранить в вертикальном положении или с уклоном не более 6° от вертикали в специальных кассетах или пирамидах.

При хранении и транспортировании каждое изделие должно опираться на подкладки сплошные или расставленные не более чем через 1 м.

Подъем, перемещение и монтаж панелей следует производить, применяя траверсы со специальными захватными устройствами или четырехстропные самобалансирующиеся траверсы.

Для обеспечения сохранности панелей с проемами и вырезами при их хранении, транспортировании, подъеме и перемещении при необходимости должны устанавливаться временные заполнения, распорки или раскосы. По согласованию с потребителем допускается оставлять арматурный каркас, заполненный бетоном.

Для влажностных режимов помещений: сухого, нормального и влажного применяют панели из бетонов на основе вяжущих Г, ГИ, ГЦ, ГШ; для мокрого - на основе вяжущего ГЦ.

Изготовитель должен гарантировать соответствие панелей требованиям данного стандарта при соблюдении условий транспортирования и хранения.

Гарантийный срок хранения панелей - один месяц со дня отгрузки потребителю.

ГОСТ 25098-87 Панели перегородок железобетонные для зданий промышленных и сельскохозяйственных предприятий. Технические условия

Данный стандарт распространяется на железобетонные панели, изготовляемые из тяжелого или легкого бетонов и предназначенные для перегородок зданий промышленных и сельскохозяйственных предприятий.

Панели должны изготовляться в соответствии с требованиями данного стандарта и технологической документации, утвержденной в установленном порядке по рабочим чертежам серии 1.030.9-2 и 1.431.9-27с.

Длина и высота панелей должна соответствовать указанным в рабочих чертежах, толщина панелей должна быть 80 мм.

Условные обозначения (марки) панелей - по ГОСТ 23004-78*. Марка панели состоит из буквенно-цифровых групп, разделенных дефисами.

Первая группа содержит обозначение типоразмера панели: условное буквенное обозначение наименования конструкции (ПГ) и ее длину и высоту в дециметрах (значения которых округляют до целого числа).

Во второй группе указывают несущую способность панелей по скоростному напору ветра, обозначаемую арабскими цифрами (1 - для I и II районов, 2 - для III и IV районов), а также для панелей, изготовленных из легкого бетона, - вид бетона, обозначаемый буквой Л.

В третьей группе, при необходимости, указывают наличие в панелях дверных проемов, вырезов, отверстий и каналов, обозначаемое строчными буквами и арабскими цифрами: а - один дверной проем в средней части панели; б - один дверной проем, смещенный к боковой грани панели; в - два дверных проема; 1, 2, 3 и т.д. - порядковый номер размера выреза в панели; э - отверстия и каналы для скрытой электропроводки; t - расположение панели у температурного шва.

Пример условного обозначения (марки) панели длиной 5980 мм, высотой 2985 мм, первой несущей способности, из тяжелого бетона, с одним дверным проемом, смещенным к боковой грани панели:

ПГ 55.30-1-б

То же, панели длиной 5540 мм, высотой 2985 мм, второй несущей способности, из легкого бетона, с двумя дверными проемами и вырезами размерами 150 - 170 мм:

ПГ 55.30-2Л-в8

Панели должны удовлетворять требованиям ГОСТ 13015.0-83*:

- по показателям фактической прочности бетона (в проектом возрасте и отпускной);

- по морозостойкости бетона;

- к маркам сталей для монтажных петель;

- по отклонениям толщины защитного слоя бетона до арматуры;

- по защите от коррозии.

Панели должны изготовляться из тяжелого бетона по ГОСТ 26633-91 или легкого бетона плотной структуры средней плотности 1500 и 1600 кг/м3 по ГОСТ 25820-83* марок по прочности на сжатие, указанных в рабочих чертежах на эти панели.

Нормируемую отпускную прочность бетона на сжатие панелей, поставляемых потребителю в летний и зимний периоды года, принимают равной 90 % марки бетона по прочности на сжатие.

Форма и размеры арматурных изделий и их положение в панелях должны соответствовать указанным в рабочих чертежах на эти панели.

Значения действительных отклонений геометрических параметров панелей не должны превышать предельных, указанных в нижеследующей таблице.

Геометрические параметры

Предельные отклонения, мм

Длина панели:

 

до 2500 мм включ.

± 4

св. 2500 до 4000 мм включ.

± 5

св. 4000 мм

± 8

Высота панели:

 

до 1600 мм включ.

± 3

св. 1600 до 2500 мм включ.

± 4

св. 2500 мм

± 5

Толщина панели

± 2

Размеры проемов, вырезов и отверстий

± 5

Размер, определяющий положение проемов, вырезов и отверстий

5

Отклонение от прямолинейности профиля лицевых поверхностей в любом сечении:

 

на заданной длине 1000 мм

3

на всей длине панели длиной:

 

до 4000 мм

3

св. 4000 мм

5

Отклонение от плоскостности панели при измерениях от условной плоскости, проходящей через три угловых точки панели длиной:

 

до 2500 мм включ.

6

св. 2500 до 4000 мм включ.

8

св. 4000 мм

10

Отклонения от равенства диагоналей панели длиной:

 

до 4000 мм

10

св. 4000 мм

12

Отклонение от равенства диагоналей дверного проема

10

Требования к качеству поверхностей и внешнему виду панелей - по ГОСТ 13015.0-83*.

Размеры раковин, местных наплывов и впадин на бетонных поверхностях и околов бетона ребер панелей не должны превышать предельных, установленных для категорий поверхности: A3 - на лицевой поверхности панели; А7 - на нелицевой поверхности панели (невидимой в условиях эксплуатации).

Трещины в панелях не допускаются, за исключением усадочных и других поверхностных технологических трещин, ширина которых не должна превышать 0,1 мм.

Маркировка панелей - по ГОСТ 13015.2-81*. Маркировочные надписи и знаки должны наноситься на торцевой вертикальной грани панелей.

Допускается по согласованию изготовителя с потребителем, проектной организацией - автором проекта конкретного здания вместо марок наносить на панели их сокращенные условные обозначения, принятые в проектной документации на конкретное здание.

Транспортировать и хранить панели следует в соответствии с требованиями ГОСТ 13015.4-84 и данного стандарта.

Панели следует хранить в кассетах рассортированными по маркам и установленными на подкладки толщиной не менее 30 мм или другие опоры, обеспечивающие сохранность панелей.

Все операции, связанные с погрузо-разгрузочными работами, перевозкой и складированием, должны выполняться при вертикальном положении панелей с соблюдением мер, исключающих возможность их повреждения.

Подъем, погрузка и выгрузка панелей должны производиться краном с захватом при помощи траверсы, обеспечивающей вертикальное направление подъемного усилия во всех точках строповки.

ГОСТ 17079-88 Блоки вентиляционные железобетонные. Технические условия

Данный стандарт распространяется на железобетонные вентиляционные блоки (далее - блоки), изготовляемые из тяжелого или легкого бетона и предназначенные для жилых, общественных, производственных, административных и бытовых зданий.

Блоки должны изготовляться в соответствии с требованиями данного стандарта и технологической документации, утвержденной в установленном порядке, по рабочим чертежам серий 1.134.1-12, 1.134.1-15 и 1.034.1-1/89.

Блоки подразделяют на следующие типы:

В - самонесущие;

1ВД - блоки-диафрагмы жесткости с одной консолью; 2ВД - то же, с двумя консолями; ВД - то же, без консолей;

1ВДП - блоки-диафрагмы жесткости с дверным проемом и одной консолью; 2ВДП - то же, с двумя консолями; ВДП - то же, без консолей;

ВТ - чердачные для зданий с теплым чердаком.

ВХ - то же, с холодным чердаком;

1ВК - крышные с одной консолью; 2ВК - то же, с двумя консолями; ВК - то же, без консолей.

Блоки обозначают марками в соответствии с требованиями ГОСТ 23009-78*. Марка блоков состоит из буквенно-цифровых групп, разделенных дефисом.

Первая группа содержит обозначение типа блока, его высоту и длину в дециметрах (значение которых округляют до целого числа) и толщину в сантиметрах.

Во второй группе для блоков, изготовляемых из легкого бетона, указывают вид бетона, обозначаемый прописной буквой Л.

Пример условного обозначения (марки) блока типа 1ВД высотой 2770 мм, длиной 1180 мм, толщиной 260 мм, изготовляемого из легкого бетона:

1ВД 28.12.26-Л

Блоки должны удовлетворять требованиям ГОСТ 131015.0-83*:

- по показателям фактической прочности бетона (в проектном возрасте и отпускной);

- по морозостойкости и водонепроницаемости бетона;

- по средней плотности легкого бетона;

- к маркам сталей для арматурных и закладных изделий, в том числе для монтажных петель;

- по толщине защитного слоя бетона до арматуры;

- по защите от коррозии.

Блоки должны удовлетворять установленным при проектировании требованиям по прочности, жесткости и трещиностойкости.

Блоки должны быть изготовлены из тяжелого бетона по ГОСТ 26633-91 или легкого бетона плотной структуры по ГОСТ 25820-83*.

Нормируемая отпускная прочность бетона блоков (в процентах от класса или марки по прочности на сжатие) должна быть равной:

70 - для блоков из тяжелого и легкого бетона класса В12,5 и выше или марки М150 и выше;

80 - для блоков из легкого бетона класса В7,5 или марки М100.

Указанная нормируемая отпускная прочность бетона может быть уменьшена или увеличена в соответствии с требованиями ГОСТ 13015.0-83*.

Форма и размеры арматурных и закладных изделий и их положение в блоках должны соответствовать указанным в рабочих чертежах на эти блоки.

Значения действительных отклонений геометрических параметров блоков не должны превышать предельных, указанных в нижеследующей таблице.

Геометрические параметры

Предельные отклонения, мм

Длина блока:

 

до 1600 мм включ.

± 5

св. 1600 мм

± 10

Высота блока

± 8

Толщина блока

± 5

Поперечное сечение каналов, размеры выступов, вырезов и отверстий

± 5

Положение каналов

5

Положение закладных изделий:

 

в плоскости блока

10

из плоскости блока

5

Отклонение от прямолинейности профиля лицевых поверхностей в любом сечении на длине 1600 мм

5

Отклонение от равенства диагоналей лицевых поверхностей блоков (кроме крышных и чердачных)

16

Отклонение от равенства диагоналей дверных проемов

10

Требования к качеству поверхностей и внешнему виду блоков - по ГОСТ 13015.0-83*. При этом качество поверхностей блоков должно удовлетворять требованиям, установленным для категорий:

А4 - лицевых, подготовленных под оклейку обоями или другими рулонными материалами;

А6 - лицевых, к которым не предъявляются требования по качеству отделки;

А7 - нелицевых, невидимых в условиях эксплуатации.

По согласованию изготовителя с потребителем может быть установлена категория А2 или A3 для лицевых поверхностей, подготовленных под окраску.

Маркировка блоков - по ГОСТ 13015.2-81*. Маркировочные надписи и знаки должны наноситься на нелицевой поверхности блока.

Транспортировать и хранить блоки следует в соответствии с требованиями ГОСТ 13015.4-84 и данного стандарта.

Блоки при транспортировании и хранении должны укладываться в вертикальном положении в кассеты.

Допускается транспортировать и хранить блоки без консолей в горизонтальном положении в штабелях. Высота штабеля - не более 2,5 м. Подкладки под блоками и прокладки между ними в штабеле должны располагаться на расстоянии 500 мм от торцов блока.

ГОСТ 17538-82* Конструкции и изделия железобетонные для шахт лифтов жилых зданий. Технические условия

Данный стандарт распространяется на железобетонные конструкции и изделия (далее - конструкции), изготовленные из тяжелого бетона или легкого конструкционного бетона и предназначаемые для устройства шахт пассажирских лифтов по ГОСТ 5746-83* в жилых зданиях, а также в гостиницах, пансионатах, домах отдыха и других зданиях с высотами этажей 2,8 и 3,0 м.

Конструкции шахт лифтов в зависимости от назначения и расположения по высоте шахты подразделяют на следующие типы:

ШЛН - объемные блоки шахт лифтов (далее - блоки) нижние;

ШЛС - блоки средние (основные);

ШЛВ - блоки верхние;

ПЛ - плиты перекрытия над шахтами лифтов (далее - плиты перекрытия);

ПП - плиты пола приямка шахт лифтов (далее - плиты приямка);

ТЛ - тумбы под буфеты кабин лифтов (далее - тумбы).

Конструкции шахт лифтов должны обозначаться в соответствии с требованиями ГОСТ 23009-78*.

Марка конструкций должна состоять из буквенно-цифровых групп, разделенных дефисами.

Первая группа должна содержать обозначение типа конструкции и ее номинальные размеры в дециметрах (значения которых округляют до целого числа): для блоков и тумб - высоту, для плит перекрытия и приямка - длину и ширину. Для блоков, плит перекрытия и приямка первую группу дополняют строчными буквами, обозначающими вариант исполнения конструкций: «пр» - при расположении противовеса с правой стороны кабины, «л» - с левой стороны кабины.

Во второй группе должны приводиться: грузоподъемность лифта (в десятках килограммов) для блоков, плит перекрытия и приямка;

прописную букву «Г» для конструкций шахт грузопассажирских лифтов;

прописную букву «Л» для конструкций, изготовляемых из легкого бетона.

Пример условного обозначения (марки) блока типа ШЛС, высотой 2989 мм, с противовесом сзади кабины, для шахты пассажирского лифта грузоподъемностью 320 кг, из легкого бетона:

ШЛС 30-32Л

То же, плиты перекрытия типа ПЛ, длиной 2780 мм, шириной 2080 мм, с противовесом с правой стороны кабины, для шахты грузопассажирского лифта грузоподъемностью 500 кг, из тяжелого бетона:

ПЛ 28.21-50Г

То же, тумбы типа ТЛ, высотой 520 мм, для шахты пассажирского лифта грузоподъемностью 320 кг, из тяжелого бетона:

ТЛ 5-32

Конструкции шахт лифтов должны изготовляться в соответствии с требованиями данного стандарта по рабочим чертежам, утвержденным в установленном порядке.

Блоки должны быть цельноформованными.

Конструкции шахт лифтов должны удовлетворять установленным при проектировании требованиям по прочности, жесткости и трещиностойкости.

В блоках должны быть предусмотрены:

- фиксирующие стыковочные устройства, обеспечивающие установку блоков в проектное положение;

- закладные изделия для крепления кронштейнов направляющих кабин и противовесов, а также для крепления дверей шахты; по согласованию с организацией, осуществляющей монтаж лифтов, блоки могут изготовляться без закладных изделий в случае выполнения указанных креплений с помощью болтовых соединений или с применением других решений;

- проемы и отверстия для установки сигнальной и вызывной электроаппаратуры, для аварийного отпирания дверей шахты, а также ниши (или закладные изделия) для установки брусьев под настилы, с которых выполняется монтаж оборудования лифта, и для других устройств.

Нижние блоки должны иметь металлические скобы (под дверным проемом среднего блока первого этажа) для спуска в приямок шахты.

Верхние блоки, предназначаемые для зданий высотой 10 этажей и более, должны иметь проем для воздуховода вентиляционной системы подпора воздуха согласно проекту конкретного здания.

В плитах перекрытия должны быть предусмотрены проемы для пропуска тяговых канатов, канатов ограничителя скорости и электропроводки внутри шахты, закладные изделия для крепления приводных механизмов, а также каналы для скрытой прокладки электропроводки по машинному помещению, закрываемые металлическими крышками, а в плитах приямка - закладные изделия для крепления тумб.

Тумбы должны быть изготовлены с закладными изделиями для крепления к плите приямка и установки стаканов буферов.

Конструкции шахт должны быть изготовлены из тяжелого бетона по ГОСТ 26633-91 или легкого бетона плотной структуры по ГОСТ 25820-83*.

Фактическая прочность бетона конструкций должна соответствовать требуемой, принимаемой по ГОСТ 18105-86* в зависимости от проектной марки бетона по прочности на сжатие, указанной в рабочих чертежах и от фактической однородности прочности бетона.

Требования к морозостойкости бетона и к средней плотности легкого бетона конструкций - по ГОСТ 13015.0-83*.

Форма и размеры арматурных и закладных изделий должны соответствовать указанным в рабочих чертежах конструкций шахт лифтов.

Поставка конструкций шахт лифтов потребителю должна производиться после достижения бетоном требуемой отпускной прочности, устанавливаемой по ГОСТ 18105-86* в зависимости от значения нормируемой отпускной прочности и фактической однородности прочности бетона.

Значения нормируемой отпускной прочности бетона конструкций должны назначаться и согласовываться в соответствии с требованиями ГОСТ 13015.0-83*. При этом значения нормируемой отпускной прочности бетона должны быть не менее 70 % его проектной марки по прочности на сжатие.

Поставка конструкций с отпускной прочностью бетона ниже прочности, соответствующей его проектной марке, может производиться только при условии, что изготовитель гарантирует достижение бетоном прочности, соответствующей его проектной марке (определяемой по результатам испытаний контрольных образцов, хранившихся в условиях согласно ГОСТ 18105-86*) в возрасте 28 суток.

Отклонения действительных размеров конструкций от номинальных, указанных в рабочих чертежах, не должны превышать, мм:

по длине (глубине) и ширине изнутри блока                                      0; - 6

по высоте блока                                                                                      0; - 10

по толщине стенки блока                                                                      ± 3

по длине, ширине и высоте (толщине) плиты

перекрытия (или приямка) и тумбы                                                     ± 8

по высоте и ширине дверного проема                                                 + 10, - 6

по размерам проемов, отверстий и ниш                                              ± 3

по размерам фиксирующих монтажных устройств,

а также отверстий под болтовые соединения                                     ± 2

Отклонение положения дверного проема и других проемов, отверстий и ниш в конструкциях от номинального, указанного в рабочих чертежах, не должно превышать 8 мм.

Отклонение положения фиксирующих монтажных устройств в плоскости верхней и нижней (опорной) граней блоков от номинального не должно превышать 2 мм.

Отклонения положения стальных закладных изделий от номинального, указанного в рабочих чертежах, не должны превышать, мм:

в плоскости грани конструкции                                                           15

из плоскости грани конструкции                                                          3

Отклонение внутренней плоскости стенки блока, не имеющей технологического уклона, от вертикали не должно превышать 2 мм.

Разности длин диагоналей боковых наружных плоскостей, верхней (снаружи и изнутри) и нижней (опорной) плоскостей блоков (изнутри) не должны превышать 16 мм. Разность длин диагоналей дверных проемов не должна превышать 10 мм.

Отклонение от плоскостности опорной (нижней) грани блока в угловой точке (относительно плоскости, проведенной через три другие угловые точки) не должно превышать 6 мм.

Отклонение от прямолинейности профиля наружной поверхности блока в любом сечении на всю его длину, ширину и высоту, а также профиля верхней поверхности блока на всю длину каждой его стороны не должно превышать 5 мм.

Требования к толщине защитного слоя бетона, а также предельные отклонения толщины защитного слоя бетона до арматуры - по ГОСТ 13015.0-83*.

Требования к качеству поверхностей и внешнему виду конструкций шахт - по ГОСТ 13015.0-83*. При этом качество бетонных поверхностей конструкций должно удовлетворять требованиям, установленным для категорий:

А2 - наружных поверхностей блоков, подготовленных под окраску;

А6 - внутренних и торцовых поверхностей блоков, верхних и нижних поверхностей плит перекрытий, верхних и боковых поверхностей тумб, к которым не предъявляют требований по качеству отделки;

А7 - нелицевых поверхностей конструкций, невидимых в условиях эксплуатации.

По согласованию изготовителя с потребителем подготовленные под окраску наружные поверхности блоков могут быть категории A3.

Открытые поверхности стальных закладных изделий, монтажные петли, а также кромки отверстий, ниш и проемов должны быть очищены от наплывов бетона или раствора.

Требования к защите от коррозии стальных закладных изделий - по ГОСТ 13015.0-83*.

Комплектность поставки конструкций шахт устанавливают по согласованию предприятия-изготовителя с потребителем.

Маркировка конструкций шахт лифтов - по ГОСТ 13015.2-81*. Маркировочные надписи и знаки должны наноситься на внутренней поверхности блока, расположенной сзади кабины лифта, а также на верхних поверхностях плит и боковых поверхностях тумб.

Требования к документу о качестве конструкций шахт лифтов, поставляемых потребителю - по ГОСТ 13015.3-81*.

Блоки и плиты должны храниться в рабочем положении, тумбы в горизонтальном положении, установленные на подкладки толщиной не менее 30 мм.

ГОСТ 18048-80* Кабины санитарно-технические железобетонные. Технические условия

Стандарт распространяется на ненесущие железобетонные санитарно-технические кабины, состоящие из объемного блока и плитного элемента, изготовляемые из тяжелого и легкого бетонов и предназначенные для применения в жилых и общественных зданиях.

Кабины подразделяются на следующие типы:

1СК - раздельный санитарный узел (ванная комната и уборная);

2СК - то же, при длине уборной меньшей ширины кабины (в случае расположения вентиляционных каналов в пределах габаритов кабины);

3СК - совмещенный санитарный узел (ванна, умывальник и унитаз) со входом в передней стене кабины;

4СК - то же, с входом в боковой стене кабины;

5СК - совмещенный санитарный узел (ванна, умывальник, унитаз и трап) со входом в передней стене;

6СК - совмещенный санитарный узел (душевой поддон, умывальник, унитаз и трап) со входом в передней стене;

7СК - уборная с рукомойником;

8СК - то же, без рукомойника.

Кабины всех типов изготовляют в двух вариантах исполнения:

правом - при расположении в санитарных узлах ванны (душевого поддона) справа от унитаза, а в уборных - канализационного стояка справа от унитаза;

левом - при расположении в санитарных узлах ванны (душевого поддона) слева от унитаза, а в уборных - канализационного стояка слева от унитаза.

Кабины изготовляют в виде объемного блока типа «колпак», устанавливаемого на ребра плиты днища кабины и соединяемого с ними закладными изделиями на сварке.

Номинальная толщина элементов кабины должна быть не менее, мм:

стен (перегородок) и потолка                                                                40

днища                                                                                                      50

Кабины допускается изготовлять с технологическими уклонами глухих (без дверного проема) стен. Уклоны должны обеспечиваться за счет утолщения стен в верхнем сечении на величину до 15 мм.

Отверстия в стенах и потолке кабин выполняют сквозными или в виде ниш (местных углублений) глубиной не более половины толщины стенок, пробиваемых при сборке кабин.

В кабинах должны предусматриваться монтажные петли или другие приспособления для строповки.

Для внутренних поверхностей кабины должны применяться следующие виды отделки:

нижней части стен (на высоту не менее 1,6 м от пола) - окраску масляными красками, облицовку глазурованной керамической плиткой, декоративным бумажнослоистым пластиком или синтетическими пленками;

верхней части стен и потолка - окраску клеевыми, масляными или водоэмульсионными красками;

пола - облицовку керамической плиткой или другими материалами, используемыми для устройства полов в помещениях с мокрым режимом эксплуатации.

Допускается не облицовывать поверхность пола под ванной на ширину 300 мм вдоль стены, к которой ванна примыкает длинной стороной.

Кабины должны обозначаться марками в соответствии с ГОСТ 23009-78*.

Марка кабин должна состоять из буквенно-цифровых групп, разделенных дефисом. В первой группе содержатся обозначения типоразмера и варианта исполнения кабины, во второй - обозначение вида бетона (для легкого бетона). Особенности конструкции кабин, предназначенных для различной компоновки с кухонными мойками и для применения в зданиях различной этажности и степени благоустройства (наличие дополнительных закладных изделий, отверстий, проемов и т.п.) отражают в третьей буквенно-цифровой группе марки кабины.

Пример условного обозначения (марки) кабины типа 1СК, длиной 2730 мм, шириной 1600 мм и высотой 2540 мм (типоразмера 1СК25), в левом варианте исполнения, из тяжелого бетона:

1СК 25л

То же, типа 3СК, длиной 2080 мм, шириной 1820 мм и высотой 2400 мм (типоразмера 3СК24), в правом варианте исполнения, из легкого бетона:

3СК 24пр-Л

Допускается принимать обозначения марок кабин в соответствии с рабочими чертежами до их пересмотра.

Кабины должны изготовляться в соответствии с требованиями проектной и технологической документации, утвержденной в установленном порядке.

Кабины должны удовлетворять установленным при проектировании требованиям по прочности, жесткости и трещиностойкости.

Днища кабин (с конструкцией пола) должны быть водонепроницаемыми.

Кабины всех типов должны поставляться с заводской внутренней отделкой, со смонтированными трубопроводами, с установленными оборудованием и приборами.

Допускается по согласованию изготовителя с потребителем поставлять кабины с неполной внутренней отделкой стен и потолка, а также частично неустановленным оборудованием и приборами.

Фактическая прочность бетона кабин (в проектном возрасте и отпускная) должна соответствовать требуемой, назначаемой по ГОСТ 18105-86* в зависимости от класса или марки бетона по прочности на сжатие, указанным в рабочих чертежах.

Класс (или марка) бетона по прочности на сжатие должен быть не менее В12,5 (М150) для объемного блока и не менее В15 (М150) для плиты днища кабины.

Морозостойкость бетона кабин должна соответствовать марке по морозостойкости, установленной в проекте здания или указанной при заказе кабин.

Поставка кабин потребителю должна производиться после достижения бетоном кабин требуемой отпускной прочности, назначаемой по ГОСТ 18105-86* в зависимости от значения нормируемой отпускной прочности и фактической однородности прочности бетона.

Значения нормируемой отпускной прочности бетона кабин должно быть равным 70 % класса или марки бетона по прочности на сжатие. При поставке кабин в холодный период года допускается повышать нормируемую отпускную прочность бетона, но не более чем до 80 % класса или марки бетона по прочности на сжатие. Значение нормируемой отпускной прочности бетона должно быть указано в проектной документации на конкретное здание в соответствии с требованиями ГОСТ 13015.0-83*.

Поставку кабин с отпускной прочностью бетона ниже прочности, соответствующей его классу или марке по прочности на сжатие, производят при условии, если изготовитель гарантирует достижение бетоном кабин требуемой прочности в проектном возрасте, определяемой по результатам испытания контрольных образцов, изготовленных из бетонной смеси рабочего состава и хранившихся в условиях согласно ГОСТ 18105-86*. Требования к защите от коррозии стальных закладных изделий - по ГОСТ 13015.0-83*.

Отклонения фактических размеров кабин от номинальных, указанных в рабочих чертежах, не должны превышать, мм:

по длине и ширине кабины снаружи.................................................. ± 10

по высоте кабины снаружи.................................................................. ± 12

по расположению перегородки........................................................... ± 8

по размеру и расположению отверстий............................................. ± 5

по размерам и расположению дверных проемов.............................. ± 10

по расположению осей подводок к смесителю................................. ± 2

Отклонение от прямолинейности профиля поверхности стен, пола и потолка кабин не должны превышать 5 мм на всю длину, ширину и высоту кабины.

Разность длин диагоналей наружных плоскостей кабин не должна превышать 10 мм.

Требования к толщине защитного слоя бетона, а также предельные отклонения толщины защитного слоя бетона до арматуры - по ГОСТ 13015.0-83*.

Устанавливаются следующие категории бетонных поверхностей кабин:

А2 - лицевой, предназначаемой под окраску;

А4 - лицевой, предназначаемой под отделку обоями или другими рулонными материалами;

А7 - нелицевой, невидимой в условиях эксплуатации.

Требования к качеству поверхностей и внешнему виду кабин (в том числе требования к допустимой ширине раскрытия технологических трещин) - по ГОСТ 13015.0-83*.

Открытые поверхности стальных закладных изделий, выпуски трубопроводов и монтажные петли должны быть очищены от наплывов раствора и шпаклевки.

Вид и качество внутренней отделки потолка и стен кабин должны соответствовать указанными в проекте зданиям и установленным эталоном отделки, а также удовлетворять следующим требованиям:

- окраска должна быть улучшенного вида; качество окрашенных поверхностей должно удовлетворять требованиям СНиП 3.04.01-87;

- толщина швов между керамическими плитками должна быть 2,5 мм;

- предельные отклонения поверхности облицованных стен кабин от прямолинейности на всю высоту (ширину) облицованных керамическими изделиями стен не должны превышать 3 мм;

- предельные отклонения швов от горизонтали и вертикали на 1 м не должны превышать 1,5 мм;

- то же, на всю высоту (длину) - 3 мм;

- предельные отклонения по толщине швов не должны превышать ± 0,5 мм;

- швы между керамическими плитками должны быть тщательно заполнены цементным раствором.

В кабинах, которые поставляют с неполной внутренней отделкой стен и потолков, соответствующие поверхности должны быть подготовлены под окончательную (вторую) окраску или под облицовку (оклейку) плиточными или рулонными материалами (категории А4 или А5).

Отделку поверхности стены на участке ниже примыкающего длинного борта ванны допускается не выполнять.

На облицованной поверхности пола перепад между плитками по высоте не должен превышать 1 мм. Допускается перепад между плитками до 2 мм по периметру пола кабины вдоль стен на ширину до 200 мм, а также под ванной и в других малодоступных местах.

Окраска трубопроводов горячего и холодного водоснабжения, а также полотенцесушителя масляной краской должна быть улучшенного вида.

На отделанных поверхностях стен, потолка и пола не должно быть следов раствора, шпаклевки, мастики, а также пятен.

Щели между стенами кабины и примыкающими к ним краями ванны должны быть заделаны с уклоном в сторону ванны и иметь водозащитное покрытие.

Изделия и материалы, применяемые для отделки внутренних поверхностей кабин, должны соответствовать требованиям следующих стандартов:

краски масляные - ГОСТ 10503-71*, ГОСТ 8292-85*;

краски водоэмульсионные - ГОСТ 28196-89*;

плитки керамические для внутренней облицовки стен - ГОСТ 6141-91;

плитки керамические для полов - ГОСТ 6787-90;

пластик бумажнослоистый декоративный - ГОСТ 9590-76*;

плиты древесноволокнистые сверхтвердые с эмалевым покрытием по ГОСТ 4598-86*.

В кабинах должны быть установлены вентиляционные решетки по ГОСТ 13448-82.

Санитарно-техническое и электротехническое оборудование и приборы, устанавливаемые в кабинах, должны соответствовать требованиям государственных стандартов или технических условий:

ванны чугунные эмалированные - ГОСТ 18297-96;

поддоны душевые чугунные эмалированные - ГОСТ 18297-96;

умывальники - ГОСТ 30493-96;

унитазы - ГОСТ 30493-96;

бачки смывные и арматура к ним - ГОСТ 21485-94; ГОСТ 30493-96;

трапы чугунные эмалированные - ГОСТ 1811-97;

рукомойники - ТУ;

смесители для умывальников, ванн и душевых установок - ГОСТ 25809-96;

вентили запорные муфтовые - ТУ;

полотенцесушители латунные - ТУ (допускается применение полотенцесушителей из газопроводных труб);

патроны резьбовые для электрических ламп - ГОСТ 2746-90 и т.д.

Допускается применять оборудование и приборы других типов, выпускаемые промышленностью по стандартам и техническим условиям.

Корпус ванны должен быть соединен уравнителем электрических потенциалов (электропроводником) с трубами водопровода.

Установка ванн, душевых поддонов, умывальников, рукомойников, унитазов и смывных бачков с поврежденной эмалью и глазурью не допускается.

Узлы трубопроводов горячей и холодной воды должны быть собраны из стальных водогазопроводных оцинкованных труб по ГОСТ 3262-75* и соединительных фасонных частей из ковкого чугуна по ГОСТ 8943-75.

Узлы системы канализации должны быть собраны из чугунных труб и соединительных частей к ним по ГОСТ 6942-98 или пластмассовых труб и соединительных частей к ним по ГОСТ 22689.0-89 - ГОСТ 22689.2-89.

Смонтированные трубопроводы холодного и горячего водоснабжения с установленной на них запорной арматурой, а также канализационные трубопроводы без установленных приборов должны быть подвергнуты гидравлическому испытанию до выполнения отделочных работ.

Двери кабин должны удовлетворять требованиям ГОСТ 475-78* и быть укомплектованы приборами в соответствии со спецификацией в проекте.

Между полотном двери и полом кабины должен быть затвор для вентиляции.

В зависимости от назначения в кабине должны быть установлены присоединенные к трубопроводам ванна, душевой поддон, умывальник, унитаз и смывной бачок, рукомойник, трап, запорная и регулирующая арматура, а также электропатрон, вентиляционная решетка, двери, дверные пружинные защелки, завертки и задвижки.

Отдельные предметы санитарно-технического и электротехнического оборудования, не указанные выше, в том числе смесители, детали междуэтажного соединения трубопроводов, дверные ручки, электровыключатели, штепсельные розетки и детали вентиляции могут устанавливаться на предприятии-изготовителе кабин или поставляться в виде комплектующих деталей.

Допускается по согласованию изготовителя с потребителем кабин включать отдельные виды приборов, перечисленные выше, в состав комплектующих деталей.

Комплектующие детали должны быть тщательно подогнаны для установки их в кабины на стройплощадке, упакованы и отгружены вместе с кабиной по приложенной спецификации.

По требованию потребителя предприятие-изготовитель обязано сообщить ему результаты лабораторных испытаний, проведенных при приемочном контроле кабин.

Требования к документу о качестве кабин, поставляемых потребителю, - по ГОСТ 13015.3-81*.

Маркировка кабин - по ГОСТ 13015.2-81*. Маркировочные надписи и знаки должны быть нанесены на наружной нелицевой поверхности кабин.

В случаях, предусмотренных в рабочих чертежах, на кабинах должны быть нанесены знаки, определяющие места опирания их при хранении и транспортировании.

Транспортировать и хранить кабины следует в соответствии с требованиями ГОСТ 13015.4-84 и данного стандарта.

Кабины должны храниться на специально оборудованных складах в рабочем положении установленными на прокладки, уложенные на плотное, тщательно выровненное основание. Выступающие вниз детали канализационных труб должны находиться на расстоянии не менее 20 мм от поверхности этого основания. Прокладки должны располагаться в местах, указанных в рабочих чертежах кабин.

Для защиты от атмосферных осадков кабины должны быть покрыты пергамином, поливинилхлоридной пленкой или другими гидроизоляционными материалами.

При поставке кабин с неполной внутренней отделкой допускается по согласованию изготовителя с потребителем для защиты от атмосферных осадков покрывать только отверстия в потолке кабины.

Перевозка кабин должна осуществляться только на специально оборудованных транспортных средствах.

ГОСТ 9818-85* Марши и площадки лестниц железобетонные. Технические условия

Стандарт распространяется на железобетонные марши, площадки и накладные проступи (далее - элементы лестниц), изготовляемые из тяжелого и легкого бетонов и предназначенные для устройства лестниц в зданиях различного назначения.

Лестничные марши подразделяют на следующие типы:

ЛМ - плоские без фризовых ступеней;

ЛМФ - ребристые с фризовыми ступенями;

ЛМП - ребристые с полуплощадками.

Лестничные площадки подразделяют на следующие типы:

1ЛП - плоские для маршей типа ЛМ;

2ЛП - ребристые для маршей типа ЛМ;

ЛПФ - ребристые для маршей типа ЛМФ;

ЛПП - ребристые площадки и полуплощадки для маршей типа ЛМП.

Накладные проступи подразделяют на следующие типы:

1ЛН - для укладки на нижние и рядовые ступени маршей;

2ЛН - для укладки на площадки и верхние ступени маршей.

Элементы лестниц, при необходимости, изготовляют в двух вариантах исполнения: правом и левом - для лестниц с подъемом соответственно против часовой и по часовой стрелке.

Элементы лестниц изготовляют с отделкой верхних лицевых поверхностей следующих видов:

с гладкой поверхностью из тяжелого бетона на обычном цементе;

с шлифованной мозаичной поверхностью декоративного конструкционного слоя из бетона на обычном, белом или цветном цементах и на мраморном щебне (для площадок и накладных проступей);

с облицовкой керамической плиткой (для площадок).

Элементы лестниц обозначают марками в соответствии с требованиями ГОСТ 23009-78*.

Пример условного обозначения марша типа ЛМ длиной 2720 мм, шириной 1050 мм, высотой вертикальной проекции 1400 мм, под расчетную нагрузку 3,5 кПа (360 кгс/м2), из легкого бетона, с гладкой бетонной поверхностью:

ЛМ 27.11.14-4Л

То же, марша типа ЛМФ длиной 4946 мм, шириной 1500 мм, высотой вертикальной проекции 2100 мм, под расчетную нагрузку 4,7 кПа (480 кгс/м2), из тяжелого бетона:

ЛМФ 49.15.21-5

То же, марша типа ЛМП, длиной 5650 мм, шириной 1150 мм, высотой вертикальной проекции 1650 мм, под расчетную нагрузку 4,7 кПа (480 кгс/м2), из тяжелого бетона, с верхней удлиненной полуплощадкой:

ЛМП 57.11.17-5-1

То же, площадки типа 1ЛП длиной 2980 мм, шириной 1300 мм, под расчетную нагрузку 3,5 кПа (360 кгс/м2), верхней, со шлифованной мозаичной поверхностью:

1ЛП 30.13в.-4-Ш

То же, площадки типа ЛПФ длиной 2500 мм, шириной 990 мм, под расчетную нагрузку 4,7 кПа (480 кгс/м2), с консолями, облицованные керамической плиткой:

ЛПФ 25.10-5-кК

То же, накладной проступи типа 1ЛН длиной 1350 мм и шириной 320 мм со шлифованной мозаичной поверхностью:

1ЛН 14.32-Ш

Элементы лестниц должны изготовляться в соответствии с требованиями данного стандарта, технологической и типовой проектной документации, утвержденных в установленном порядке.

Элементы лестниц должны удовлетворять требованиям ГОСТ 13015.0-83*: по показателям фактической прочности бетона (в проектном возрасте и отпускной); по морозостойкости и водонепроницаемости бетона; по плотности легкого бетона; по истираемости бетона; к маркам сталей для арматурных и закладных изделий, в том числе для монтажных петель; по отклонению толщины защитного слоя бетона до рабочей арматуры; по защите от коррозии.

Элементы лестниц должны удовлетворять установленным при проектировании требованиям по прочности, жесткости и трещиностойкости. При этом испытания элементов лестниц нагружением не проводят.

Марши и лестницы должны выпускаться с законченной отделкой верхних лицевых поверхностей, указанной выше.

Допускается по согласованию с потребителем производить поставку маршей и площадок без уложенных накладных проступей, которые должны поставляться в комплекте с маршами или отдельно с предприятия-изготовителя накладных проступей и устанавливаться на марши на строительной площадке.

Для лестниц общественных зданий в установленном порядке допускается применять накладные проступи из плит природного камня.

Элементы лестниц должны изготовляться из тяжелого бетона по ГОСТ 26633-91 или легкого бетона по ГОСТ 25820-83*.

Нормируемая отпускная прочность бетона элементов лестниц должна составлять (в процентах от класса или марки бетона по прочности на сжатие):

70 - при поставке элементов лестниц в теплый период года;

80 - при поставке накладных проступей в холодный период года;

85 - при поставке маршей и площадок в холодный период года.

Истираемость мозаичного декоративного конструкционного слоя бетона элементов лестниц на щебне из мрамора не должна превышать 1,8 г/см2.

Значения действительных отклонений геометрических параметров элементов лестниц не должны превышать предельных, указанных в нижеследующей таблице.

Наименование геометрического параметра

Пред. откл., мм

Марши и площадки

 

Длина до 4000 мм

± 5

св. 4000 мм

± 6

Ширина

± 5

Толщина

± 3

Размеры ребер, полок, выступов, отверстий и каналов

± 5

Положение выступов, выемок и отверстий

5

Положение закладных изделий:

 

в плоскости поверхности для закладных изделий размерами до 100

5

то же, для закладных изделий размерами св. 100

10

из плоскости поверхности

3

Накладные проступи

 

Длина

± 5

Ширина

± 3

Толщина

± 2

Прямолинейность профиля линевой поверхности:

 

ступени марша, площадки или накладной проступи длиной до 2500 на участке 1000 мм

2

марша или площадки длиной св. 2500 до 4000 на всей длине

± 3

то же, длиной св. 4000 на всей длине

± 4

Требования к качеству поверхностей и внешнему виду элементов лестниц - по ГОСТ 13015.0-83*. При этом качество поверхностей конструкций (кроме поверхностей, отделываемых в процессе изготовления) должно удовлетворять требованиям, установленным для категорий:

А2 - лицевой, верхней;

A3 - лицевой, нижней и боковых;

А7 - нелицевой, невидимой в условиях эксплуатации.

По согласованию между изготовителем в потребителем могут быть установлены вместо указанных следующие категории поверхностей:

А1 - лицевой верхней, полной заводской готовности;

А5 - лицевой верхней, подготовленной под облицовку керамическими плитками;

А6 - лицевых, нижней и боковых, к которым не предъявляют требования по качеству отделки.

В бетоне элементов лестниц, поставляемых потребителю, трещины не допускаются, за исключением усадочных и других поверхностных технологических трещин на нижней и торцовых поверхностях элементов, ширина которых не должна превышать 0,2 мм.

Поверхность мозаичного декоративного конструкционного слоя площадок и накладных проступей должна иметь равномерное (или предусмотренное проектной документацией) распределение мраморного щебня. В первом случае участки без мраморного щебня площадью более 3 см2 не допускаются.

На поверхностях площадок, облицованных керамической плиткой, перепад между керамическими плитками по высоте и отклонение по толщине растворных швов не должны превышать 1 мм.

Маркировка элементов лестниц - по ГОСТ 13015.2-81*. Маркировочные надписи и знаки должны быть нанесены на боковые грани маршей и площадок, обращенные к стене лестничной клетки, и на нелицевых поверхностях накладных проступей.

Транспортировать и хранить элементы лестниц следует в соответствии с требованиями ГОСТ 13015.4-84 и данного стандарта.

Марши и площадки (кроме маршей типа ЛМП) следует транспортировать и хранить в штабелях в горизонтальном положении, при этом марши следует располагать ступенями вверх. Высота штабеля при хранении маршей и площадок не должна превышать 2,5 м.

Марши с полуплощадками (типа ЛМП) следует транспортировать и хранить в положении «на ребро». Допускается хранить марши других типов в положении «на ребро» при надежном их закреплении в этом положении.

Подкладки и прокладки между рядами маршей и площадок должны быть толщиной не менее 30 мм в установлены в местах расположения строповочных отверстий или монтажных петель.

Накладные проступи следует транспортировать и хранить в контейнерах или пакетах.

Допускается хранить накладные проступи без применения контейнеров. В этом случае они должны быть уложены в штабель попарно лицевыми поверхностями вплотную одна к другой. Подкладки под нижний ряд накладных проступей и прокладки между рядами должны быть толщиной не менее 25 мм и расположены на расстоянии 200 мм от торцов накладных проступей.

Геодезические работы на исходном горизонте

Технические требования

СНиП 3.01.01-85* «Организация строительного производства»

СНиП 3.01.03-84 «Геодезические работы в строительстве»

Пособие по производству геодезических работ в строительстве (к СНиП 3.01.03-84)

Геодезические работы должны выполняться в соответствии с требованиями СНиП 3.01.01-85*, СНиП 3.01.03-84, ППР, ППГР и другой технологической документации, утвержденной в установленном порядке.

При строительстве сложных и крупных объектов, а также зданий выше девяти этажей подрядчиком (генподрядчиком или субподрядчиком, в зависимости от того, кто выполняет строительно-монтажные работы) или по его поручению специализированными организациями, имеющими лицензию на выполнение проектно-технологических работ, разрабатывается проект производства геодезических работ (ППГР)

ППГР определяет содержание, объем, методы, точность, сроки и стоимость геодезических работ, обеспечивающих строительство при минимальных трудовых и материальных затратах.

Основанием для разработки ППГР специализированной организацией является техническое задание, составленное по установленной форме, а при разработке в составе ППР - частное задание группы подготовки производства работ строительно-монтажной организации. Задание должно содержать данные об объемах в сроках разработки

Содержание ППГР согласовывается с технической и экономической сторонами ПОС и ППР. При пересмотре проектно-сметной документации на производство строительно-монтажных работ все изменения вносятся в ППГР.

ППГР согласовывается с геодезической службой строительно-монтажной организации, утверждается руководителями организации-исполнителя и заказчика проекта, подписывается главным инженером генподрядной строительно-монтажной организации и передается в производство за два месяца до начала работ.

Запрещается осуществление строительно-монтажных работ без утвержденного проекта производства работ. Не допускаются отступления от решений проектов производства работ без согласования с организациями, разработавшими и утвердившими их.

Контролируемые операции

Состав и средства контроля

Документация

Подготовительные работы

Проверить:

- завершение и надлежащее оформление предшествующих монтажных работ (наличие акта приемки и актов освидетельствования скрытых работ, геодезических исполнительных схем и другой приемо-сдаточной документации);

Акт приемки, акты освидетельствования скрытых работ; исполнительные схемы

- сохранность знаков, закрепляющих пункты геодезической разбивочной основы, и неизменность их положения; восстановление утерянных знаков;

- наличие ППР (ППГР); рабочие чертежи в части взаимной увязки размеров координат и отметок (высот);

- наличие необходимых геодезических приборов, инструментов и приспособлений.

Общий журнал работ

Геодезические работы на исходном горизонте

Контролировать:

- соблюдение заданной ППР (ППГР) технологии построения разбивочной сети на исходном горизонте (выноса на исходный монтажный горизонт главных или основных осей; построения основных точек плановой сети; контрольных измерений; уравнивания сети и вычисления координат основных точек; редукции их; окончательного определения и закрепления точек на исходном горизонте);

- передачу отметок на исходный горизонт и закрепление, их двумя реперами.

Общий и специальный журналы работ

Приемка

Проверить:

- соответствие выполненных геодезических разбивочных работ на исходном горизонте и вынесенных точек требованиям проекта и нормативных документов;

- составление и надлежащее оформление приемо-сдаточной документации

Акт приемки

Исполнительный чертеж (схема)

ВХОДНОЙ И ОПЕРАЦИОННЫЙ КОНТРОЛЬ осуществляют:

мастер (прораб), геодезист - в процессе выполнения работ

ПРИЕМОЧНЫЙ КОНТРОЛЬ ОСУЩЕСТВЛЯЮТ

прораб (мастер), геодезист, работники отдела контроля качества СМР, представители технадзора заказчика

КИП - нивелир, теодолит и др. геодезические приборы и инструмент

Разбивочные работы в строительстве должны обеспечивать вынос в натуру от пунктов геодезической разбивочной основы с заданной точностью осей и отметок, определяющих в соответствии с проектной документацией положение в плане и по высоте частей и конструктивных элементов зданий (сооружений).

До начала выполнения геодезических работ на строительной площадке рабочие чертежи, используемые при разбивочных работах, должны быть проверены в части взаимной увязки размеров, координат и отметок (высот) и разрешены к производству работ техническим надзором заказчика.

Геодезические работы следует выполнять средствами измерений необходимой точности.

Точность разбивочных работ при производстве земляных работ следует принимать, руководствуясь данными, приведенными в нижеследующей таблице, если другие данные не обоснованы в ППР (ППГР).

Точность построения внешней разбивочной сети здания (сооружения)

Характеристика зданий, сооружений

Величины средних квадратических погрешностей построения внутренней разбивочной сети здания (сооружения)

линейные измерения

угловые измерения, с

определение превышения на станции, мм

Сооружения высотой св. 100 до 120 м или с пролетами св. 30 до 36 м

1/15000

5

1

Здания св. 15 этажей, сооружения высотой св. 60 до 100 м или с пролетами св. 18 до 30 м

1/10000

10

2

Здания св. 5 до 15 этажей, сооружения высотой св. 15 до 60 м или с пролетами св. 6 до 18 м

1/5000

20

2,5

Здания до 5 этажей, сооружения высотой до 15 м или с пролетами до 6 м

1/3000

30

3

В случаях строительства по проектной документации, содержащей допуски на изготовление и возведение конструкций зданий (сооружений), не предусмотренные стандартами, нормами и правилами, необходимую точность разбивочных работ следует определять специальными расчетами по условиям, заложенным в проектной документации.

Геодезические работы на исходном горизонте следует выполнять после завершения и надлежащего оформления предусмотренных проектной документацией работ по устройству фундаментов.

Создание внутренней разбивочной сети здания (сооружения) на исходном горизонте следует выполнять с привязкой к пунктам внешней разбивочной сети.

Непосредственно перед выполнением разбивочных работ исполнитель должен проверить неизменность положения знаков внешней разбивочной сети здания (сооружения) путем повторных измерений элементов сети.

Внутренние разбивочные сети здания (сооружения) при строительстве сравнительно простых по геометрической форме промышленных и гражданских зданий (сооружений) строят в виде четырехугольников, рядов из ромбов, центральных систем. Измерения в них выполняются методом трилатерации или линейно-угловым.

При строительстве уникальных зданий и сложных сооружений развивают специальные высокоточные радиально-кольцевые и линейные сети. Методика построения таких сетей обосновывается в ППГР.

В линейных и кольцевых сетях взаимное поперечное положение смежных пунктов определяют с высокой точностью. С увеличением числа треугольников точность определения пунктов понижается. Для повышения точности взаимного поперечного положения удаленных пунктов дополнительно измеряют углы, создавая линейно-угловые сети.

Построение плановой внутренней разбивочной сети здания (сооружения) начинается с перенесения разбивочных осей на исходный горизонт. Исходным горизонтом считается плоскость, проходящая через опорные площадки последних по высоте несущих конструкций подземной части перекрытия подвала, бетонная подготовка или блоки фундамента. Выбор точек плановой разбивочной сети здания, сооружения, принимаемых в качестве исходных для передачи на монтажные горизонты, определяется возможностью вертикального проектирования.

Число опорных точек, передаваемых на монтажные горизонты, должно быть не менее трех.

При строительстве зданий небольшой этажности основные их оси закрепляют непосредственно на верхнем срезе цоколя будущего здания. Для этого от створных знаков, закрепляющих на местности основные оси, теодолитом при двух кругах на цоколе намечают осевые риски карандашом или острым предметом. Осевые риски закрепляют штрихами, проведенными с обеих сторон риски на одинаковом расстоянии масляной краской. Если цоколь невысокий и позволяет установить видимость между противоположными створными знаками, закрепляющими оси, то визируют через цоколь на веху. В противном случае створ задается двумя знаками, расположенными с одной стороны цоколя.

Откраска осей (а, б) и отметок (в) на конструкциях зданий и сооружений

При возведении зданий повышенной этажности или в зданиях и сооружениях с высокими требованиями к точности возведения, на нулевом монтажном горизонте создается внутренняя разбивочная основа в виде правильных геометрических фигур. Базисные фигуры разбивочных сетей строятся на исходном горизонте так, что они по своей форме повторяют конфигурацию здания и состоят, в основном, из типовых правильных геометрических фигур, стороны которых располагают параллельно осям здания так, чтобы разбивка осей выполнялась непосредственно линейными промерами вдоль сторон базисной фигуры или методом построения створов. Простейшей разбивочной сетью является закрепленная створная линия (для вытянутых зданий), строго параллельная продольным осям. Для зданий и сооружений, имеющих значительную ширину и выступы, сети строятся из треугольников, геодезических четырехугольников, центральных систем и их комбинаций.

Для построения внутренней разбивочной сети на нулевом монтажном горизонте сначала на него выносят главные или основные оси. От вынесенных осей намечают местоположение пунктов разбивочной сети. Для закрепления пунктов на нулевом монтажном горизонте используют металлические закладные части перекрытия или приваривают к арматуре перекрытия специальные пластинки, на которых керном делают углубление. Положение центров выбирают из условия удобства центрирования прибора и обеспечения видимости между соседними знаками в процессе установки конструкций на этаже в проектное положение.

После предварительной разбавки центров внутренней геодезической опорной сети выполняют высокоточные угловые и линейные измерения всех ее элементов (углов и линий). Уравнивают сеть и вычисляют координаты центров в системе координат строительной сетки. В общем случае вычисленные координаты не будут равны проектным, поэтому вычисляют элементы редукций и сдвигают на их величину накерненные центры (делают новые углубления керном в местах, соответствующих проектному положению центров).

При переносе осей методом вертикального проектирования точки допускается закреплять вне корпуса здания и проектировать их по вертикали на площадки (палетки), укрепленные на выносных кронштейнах.

При наклонном проектировании осей на монтажные горизонты разбивочная сеть создается на исходном горизонте таким образом, чтобы точки пересечения продольных и поперечных осей располагались как можно ближе к внешним габаритам здания.

Построение плановой разбивочной сети на исходном горизонте выполняется в следующем порядке:

построение основных (угловых) точек плановой сети;

проложение основного хода по исходным точкам (или измерение сторон и диагоналей при трилатерационных способах);

редуцирование основных точек плановой разбивочной сети;

контрольные измерения;

построение промежуточных точек.

Взаимное положение вершин базисной фигуры определяется в результате выполнения измерений. Длины сторон базисной фигуры измеряются компарированной рулеткой с миллиметровыми делениями. Угловые измерения выполняются оптическими теодолитами. Длина сторон базисной фигуры обычно не превышает 50 м.

На прямоугольных фундаментах разбивочную плановую сеть удобнее строить в виде прямоугольных четырехугольников, вершины которых находятся на пересечениях параллельно смещенных основных осей.

Для редуцирования точек базисной фигуры в проектное положение прокладывается полигонометрический ход или координаты точек определяются методом микротрилатерации. Для упрощения вычислений применяют условную систему координат, принимая координаты одной из точек сети за начальные, а направление осей координат параллельное продольной и поперечной осям.

В полигонометрических ходах измерение углов и линий выполняется в зависимости от класса точности построения базисной сети. Для получения значений редукций вычисляются теоретические и фактические координаты точек сети.

Для введения редукций составляются редукционные листы на миллиметровой бумаге, содержащие номер точки, фактическое положение точки, теоретическое положение точки, направление не менее чем на два пункта сети, линейное и угловое значение редукций.

Редукции вводят в натуру, совмещая изображение действительное положения точки на редукционном листе с положением точки в натуре. Далее редукционный лист ориентируют по одному направлению, а контролируют ориентировку по другим направлениям.

Теоретическое положение точки с редукционного листа переносят на пластины. По линейному и угловому значениям редукции контролируют положение точки на исходном горизонте и окончательно закрепляют ее.

По отредуцированным точкам сети прокладывается контрольный полигонометрический ход, точность которого такая же, как у основного полигонометрического хода.

По результатам измерений контрольного хода вычисляют окончательные значения координат точек плановой разбивочной сети на исходном горизонте.

Расхождение проектных координат и полученных по данным контрольного хода dх,у не должно превышать величины:

dx,y = S/2T,

где: S - расстояние по оси между наиболее удаленными точками; Т - знаменатель предельной относительной погрешности построения сети.

При строительстве зданий башенного типа, когда стороны базисной фигуры на исходном горизонте не превышают длины мерного прибора, и возникают трудности в измерении горизонтальных углов из-за коротких линий, рекомендуется создавать и редуцировать базисную сеть на исходном горизонте методом трилатерации, т.е. измерять все линии и диагонали в базисной сети.

Окончательно определенные точки внутренней разбивочной сети на исходном горизонте надежно закрепляют и маркируют несмываемой краской.

На исходный монтажный горизонт методом геометрического нивелирования передают отметки от рабочих реперов и закрепляют двумя реперами, между которыми прокладывают контрольный нивелирный ход. Данные реперы служат для привязки к ним всех высотных разбивок на монтажном горизонте.

Результаты измерений и построений при создании внутренней разбивочной сети на исходном горизонте следует фиксировать путем составления схем местоположения знаков, закрепляющих оси, отметки и ориентиры.

При передаче отдельных частей здания (сооружения) от одной строительно-монтажной организации другой необходимые для выполнения последующих геодезических работ знаки, закрепляющие оси, отметки, ориентиры и материалы исполнительных съемок должны быть переданы по акту.

Геодезические работы на монтажном горизонте

Технические требования

СНиП 3.01.01-85* «Организация строительного производства»

СНиП 3.01.03-84 «Геодезические работы в строительстве»

Пособие по производству геодезических работ в строительстве (к СНиП 3.01.03-84)

Геодезические работы на монтажном горизонте должны выполняться в соответствии с требованиями СНиП 3.01.01-85*, СНиП 3.01.03-84, ППР, ППГР и другой технологической документации, утвержденной в установленном порядке.

При строительстве сложных и крупных объектов, а также зданий выше девяти этажей подрядчиком (генподрядчиком или субподрядчиком, в зависимости от того, кто выполняет строительно-монтажные работы) или по его поручению специализированными организациями, имеющими лицензию на выполнение проектно-технологических работ, разрабатывается проект производства геодезических работ (ППГР).

ППГР определяет содержание, объем, методы, точность, сроки и стоимость геодезических работ, обеспечивающих строительство при минимальных трудовых и материальных затратах.

Основанием для разработки ППГР специализированной организацией является техническое задание, составленное по установленной форме, а при разработке в составе ППР частное задание группы подготовки производства работ строительно-монтажной организации. Задание должно содержать данные об объемах и сроках разработки.

Содержание ППГР согласовывается с технической и экономической сторонами ПОС и ППР. При пересмотре проектно-сметной документации на производство строительно-монтажных работ все изменения вносятся в ППГР.

ППГР согласовывается с геодезической службой строительно-монтажной организации, утверждается руководителями организации-исполнителя и заказчика проекта, подписывается главным инженером генподрядной строительно-монтажной организации и передается в производство за два месяца до начала работ.

Запрещается осуществление строительно-монтажных работ без утвержденного проекта производства работ. Не допускаются отступления от решений проектов производства работ без согласования с организациями, разработавшими и утвердившими их.

Контролируемые операции

Состав и средства контроля

Документация

Подготовительные работы

Проверить:

- завершение и надлежащее оформление предшествующих монтажных работ (наличие акта приемки и актов освидетельствования скрытых работ, геодезических исполнительных схем и другой, приемо-сдаточной документации);

Акт приемки, акты освидетельствования скрытых работ; исполнительные схемы

- сохранность знаков, закрепляющих пункты геодезической разбивочной основы, и неизменность их положения; восстановление утерянных знаков;

- наличие ППР (ППГР); рабочие чертежи в части взаимной увязки размеров координат и отметок (высот);

- наличие необходимых геодезических приборов, инструментов и приспособлений.

Общий журнал работ

Геодезические работы на монтажном горизонте

Контролировать:

- соблюдение заданной ППР (ППГР) технологии передачи и закрепления на монтажном горизонте плановой сети (выноса на монтажный горизонт главных или основных осей; контрольных измерений; уравнивания сети и вычисления координат основных точек; редукции их; окончательного определения и закрепления точек на монтажном горизонте, разбивки промежуточных и вспомогательный осей);

- передачу отметок на монтажный горизонт и закрепление их двумя реперами, разметку установочных рисок

Общий и специальный журналы работ

Приемка

Проверить:

- соответствие выполненных геодезических разбивочных работ на монтажном горизонте и вынесенных точек требованиям проекта и нормативных документов;

- составление и надлежащее оформление приемо-сдаточной документации

Акт приемки

Исполнительный чертеж (схема)

ВХОДНОЙ И ОПЕРАЦИОННЫЙ КОНТРОЛЬ осуществляют:

мастер (прораб), геодезист - в процессе выполнения работ

ПРИЕМОЧНЫЙ КОНТРОЛЬ ОСУЩЕСТВЛЯЮТ

прораб (мастер), геодезист, работники отдела контроля качества СМР, представители технадзора заказчика

КИП - нивелир, теодолит и др. геодезические приборы и инструмент

ППГР на строительство надземной части здания (сооружения) должен содержать следующее:

точность построения внутренней разбивочной сети здания (сооружения) на монтажных горизонтах, точность детальных разбивочных работ;

методы передачи разбивочных осей на монтажные горизонты и методы производства геодезических работ при детальных разбивках;

схемы расположения пунктов разбивочной сети, монтажных рисок, маяков и способы их закрепления;

технологию геодезического контроля при производстве работ по монтажу конструкций крупнопанельных зданий;

конструкции геодезических знаков;

технологию производства исполнительных съемок и перечень исполнительной геодезической документации.

В состав геодезических работ на монтажном горизонте входят:

определение монтажного горизонта на этажах;

создание внутренней разбивочной сети на монтажном горизонте здания (сооружения), т.е. передача точек внутренней разбивочной сети исходного горизонта на монтажный горизонт;

детальная разбивка и закрепление осей и отметок;

разбивка и закрепление рисок под монтаж элементов;

выверка в процессе установки строительных конструкций в проектное положение;

производство исполнительных съемок и составление исполнительной документации.

Создание внутренней разбивочной сети здания (сооружения) на монтажном горизонте следует выполнять с привязкой к пунктам внутренней разбивочной сети исходного горизонта.

Вид, схему, точность, способ закрепления пунктов внутренней разбивочной основы здания (сооружения) должны быть приведены в проекте производства работ или в ППГР.

Точность построения внутренней разбивочной сети здания (сооружения) следует принимать, руководствуясь данными, приведенными в нижеследующей таблице, если другие данные не обоснованы в ППР (ППГР).

Правильность выполнения разбивочных работ должна проверяться путем приложения контрольных геодезических ходов (в направлениях, не совпадающих с принятыми при разбивке) с точностью не ниже, чем при разбивке.

Предельные (допустимые) отклонения δ следует определять по формуле:

d = t m,

где: t - величина, равная 2; 2,5; 3; определяется при разработке проекта производства работ или ППГР;

m - средняя квадратическая погрешность, принимаемая по нижеследующей таблице.

Точность построения внутренней разбивочной сети здания (сооружения)

Характеристика зданий, сооружений

Величины средних квадратических погрешностей построения внутренней разбивочной сети здания (сооружения)

линейные измерения

угловые измерения, с

определение превышения на станции, мм

Сооружения высотой св. 100 до 120 м или с пролетами св. 30 до 36 м

1/15000

5

1

Здания св. 15 этажей, сооружения высотой св. 60 до 100 м или с пролетами св. 18 до 30 м

1/10000

10

2

Здания св. 5 до 15 этажей, сооружения высотой св. 15 до 60 м или с пролетами св. 6 до 18 м

t/5000

20

2,5

Здания до 5 этажей, сооружения высотой до 15 м или с пролетами до 6 м

1/3000

30

3

В случаях строительства по проектной документации, содержащей допуски на изготовление и возведение конструкций зданий (сооружений), не предусмотренные стандартами, нормами и правилами, необходимую точность разбивочных работ следует определять специальными расчетами по условиям, заложенным в проектной документации.

Непосредственно перед выполнением разбивочных работ исполнитель должен проверить неизменность положения знаков внешней разбивочной сети здания (сооружения) путем повторных измерений элементов сети.

Построение плановой внутренней разбивочной сети здания (сооружения) на монтажном горизонте состоит в передаче точек плановой внутренней разбивочной сети здания (сооружения) с исходного на монтажный горизонт. Исходным горизонтом считается плоскость, проходящая через опорные площадки последних по высоте несущих конструкций подземной части перекрытия подвала, бетонная подготовка или блоки фундамента. Выбор точек плановой разбивочной сети здания, сооружения, принимаемых в качестве исходных для передачи на монтажные горизонты, определяется возможностью вертикального проектирования.

Передачу точек плановой внутренней разбивочной сети здания (сооружения) с исходного на монтажный горизонт следует выполнять методами наклонного или вертикального проектирования (проецирования) с точностью в зависимости от высоты здания (сооружения) и его конструктивных особенностей согласно нижеприведенных таблиц.

УСЛОВИЯ ОБЕСПЕЧЕНИЯ ТОЧНОСТИ ПЕРЕДАЧИ ТОЧЕК И ОСЕЙ ПО ВЕРТИКАЛИ

Процессы, условия измерений, тип приборов

Средние квадратические погрешности передачи точек, осей по вертикали, мм

2

2,5

3

4

Высота проецирования, м

До 15

Св. 15 до 60

Св. 60 до 100

Св. 100 до 120

Центрирование прибора

Оптическим центриром или нитяным отвесом

Оптическим центриром

Фиксация точек

Карандашом на гладкой поверхности, палетке

Керном на исходном горизонте и карандашом по палетке

Минимальное расстояние от визирного луча до строительной конструкции, м

0,2

0,1

Количество приемов, не менее

1

2

Типы приборов или им равноточных

Т30

Т2 ПИЛ-1

ЦО-1, ПЗЛ

УСЛОВИЯ ОБЕСПЕЧЕНИЯ ТОЧНОСТИ ВЫСОТНЫХ ИЗМЕРЕНИЙ

Условия измерений, тип приборов

Средние квадратические погрешности превышения на станции, мм

1

2-3

5

10

Неравенство плеч на станции, м, не более

4

7

10

15

Высота визирного луча над препятствием, м, не менее

0,3

0,2

Типы нивелиров по ГОСТ 10528-90* или им равноточных

Н-05 и модификации

Н-3 и модификации

Н-10 и модификации

Типы реек для нивелиров по ГОСТ 10528-90* или им равноточных

РН-05

РН-3

РН-10

Типы лазерных приборов или им равноточных

 

 

ПИЛ-1, ЛВ-5М, УКЛ-1

Типы реек для лазерных приборов

 

 

Рейка с фотоприемником РН-3 для ЛВ-5М

УСЛОВИЯ ОБЕСПЕЧЕНИЯ ТОЧНОСТИ ПЕРЕДАЧИ ОТМЕТОК ПО ВЫСОТЕ

Условия измерений, тип приборов

Средние квадратические погрешности определения отметок на монтажном горизонте относительно исходного, мм

3

4

5

6

15

Высота монтажного горизонта, м

До 15

Св. 15 до 60

Св. 60 до 100

Св. 100 до 120

-

Неравенство плеч на станции, м, не более

5

15

Высота визирного луча над препятствием, м, не менее

0,2

0,3

0,1

Методика работы

Взятие отсчета на монтажном горизонте

Одновременное взятие отсчетов на верхнем и нижнем горизонтах

Взятие отсчета на монтажном горизонте

Типы нивелиров, реек, теодолитов или им равноточных

Н-3 и модификации, РН-3

Н-05 и модификации РН-05

Н-10 и модификации; Т-5, РН-10, Т-30

Типы рулеток

ОПК2-20 АНТ/1, ОПК2-30 АНТ/1

ОПК3-20 АНТ/10

Натяжение рулеток, Н (кгс)

100 (10)

50 (5)

Точность передачи точек плановой внутренней разбивочной сети здания (сооружения) с исходного на монтажный горизонт следует контролировать путем сравнения расстояний и углов между соответствующими пунктами исходного и монтажного горизонтов.

Передачу основных осей с исходного на монтажный горизонт производят методом наклонного проецирования теодолитом при возведении зданий (сооружений) малой и средней этажности (до 12 этажей), а также при наличии больших свободных территорий в границах строительной площадки.

Передачу основных осей с исходного горизонта на монтажный в условиях стесненной строительной площадки, а также при возведении зданий (сооружений) повышенной этажности производят методом вертикального проецирования.

В зависимости от условий строительной площадки и конструктивных особенностей зданий применяют различные методы монтажного переноса осей при наклонном проецировании.

Первый, так называемый способ бокового нивелирования обычно применяется при возведении протяженных зданий, не имеющих деталей, препятствующих свободному визированию вдоль фасада, а также в стесненных условиях строительной площадки. При переносе осей теодолит центрируют над марками, закрепляющими на местности вспомогательные оси, параллельные основным крайним продольным и поперечным осям здания. Направление оси проецируют на линейки, приложенные к перекрытию или к оголовкам колонн. По указанию наблюдателя линейки перемещают до получения отсчета, равного смещению вспомогательной оси от основной. Положение нулевого деления, соответствующее положению разбивочной оси, отмечают прочерчиванием риски на перекрытии или грани колонны.

При втором способе теодолит устанавливают по линии переносимой основной оси на удалении от здания не менее его высоты. Теодолит центрируют над осевым знаком, а трубу наводят на риску, закрепляющую переносимую ось на цоколе здания, или на другой осевой знак. Для проецирования переносимой оси на перекрытие примерно в створе переносимой оси на перекрытии устанавливают визирную цель - треногу со штанговым или тяжелым нитяным отвесом, либо теодолит, оснащенный оптическим уровнем. В последнем случае визируют на острие карандаша, установленного над центром крышки объектива или окуляра выверенного теодолита. По указанию наблюдателя визирную цель перемещают до попадания ее в ствол неосвоенной оси. Положение оси с помощью оптического или механического отвеса переносят на перекрытие и отмечают прочерчиванием риски. Все операции по переносу осей необходимо выполнять при двух положениях вертикального круга.

Таким же образом переносят оси на оголовки колонн.

Среднюю квадратическую погрешность проектирования точки плановой сети на монтажный горизонт mпр при двух положениях вертикального круга теодолита вычисляют по формуле

где: h - высота, на которую проектируется точка; S - расстояние от теодолита до проектируемой точки; t - цена деления цилиндрического уровня при горизонтальном круге теодолита; I - отклонение проектируемой точки от вертикали, проходящей через точку плановой основы; V - увеличение зрительной трубы теодолита; mств, mф - средние квадратические погрешности установки теодолита в створ и фиксации проектируемой точки на монтажном горизонте; r = 206265².

Для передачи основных осей на монтажный горизонт методом вертикального проецирования используются приборы вертикального проецирования или лазерные геодезические приборы, которые устанавливаются либо внутри здания под отверстиями в перекрытиях диаметром 150 - 300 мм, либо вне контура здания над проецируемыми точками переносимой оси.

Передачу точки переносимой оси с исходного горизонта на монтажный производят путем отсчитывания на палетке, установленной на монтажном горизонте.

Палетка представляет собой координатную сетку, нанесенную на кальку и наклеенную на органическое стекло разграфкой вниз.

Проектирование точки выполняют при четырех положениях прибора: 0°, 90°, 180° и 270°. Найденное из четырех отсчетов положение плановой точки фиксируют на палетке и закрепляют створными рисками на перекрытии.

Среднюю квадратическую погрешность положения спроектированной точки mпр можно вычислить по формуле:

где: h - превышение между исходным и монтажным горизонтами; v - увеличение зрительной трубы; то - погрешность приведения визирной оси прибора в отвесное положение; тц - погрешность центрирования прибора над проектируемой точкой; тф - погрешность фиксации точки на палетке.

Погрешность приведения визирной оси в отвесное положение для приборов с компенсаторами берут из паспорта прибора, для приборов с цилиндрическим уровнем вычисляют по формуле то = 0,5 t, где t - цена деления уровня.

Точность передачи точек плановой основы контролируют путем сравнения измеренного расстояния между полученными точками на монтажном горизонте Sм с расстоянием между этими же точками на исходном горизонте Sи. Контрольные измерения должны быть выполнены с той же точностью, что и разбивка плановой основы на исходном горизонте. Допустимое расхождение Dе между расстояниями Sм и Sи определяют по формуле

где: mпр - средняя квадратическая погрешность передачи точки плановой основы на монтажный горизонт; 1/Тпр - относительная средняя квадратическая погрешность разбивки осей на исходном горизонте.

При недопустимом расхождении проектирование точек повторяют.

Перенесение осей на монтажный горизонт с помощью лазерного прибора производится в такой последовательности:

прибор приближенно устанавливают над знаком и приводят его в рабочее положение;

направляют лазерный пучок прибора в «надир» и с помощью центрировочного столика наводят этот пучок на центр знака;

переключают пентапризму прибора и направляют лазерный пучок в «зенит», в этот момент лазерный пучок попадает на экран мишени, закрепленной на монтажном горизонте. Центр лазерного пятна на экране марки есть проекция центра знака на монтажном горизонте.

Для повышения точности перенесения осей и исключения ошибок на наклон лазерного пучка проектирование выполняют четырьмя приемами с перестановкой прибора на 90°.

Точность вертикального проектирования т лазерным геодезическим прибором с визуальной регистрацией пятна, вычисляется по формуле

где: mц - погрешность центрирования прибора; mц.п - погрешность определения центра пятна; mф - погрешность фиксации центра пятна на мишени; mо - погрешность приведения лазерного пучка в отвесное положение; тн - погрешность наклона оси вращения прибора.

Перенесение отметок с исходного горизонта на монтажный, как правило, следует выполнять методом геометрического нивелирования или другим методом, обеспечивающим соответствующую точность, от реперов разбивочной сети здания (сооружения). Количество реперов, от которых переносятся отметки должно быть не менее двух.

При выполнении работ по передаче отметок с исходного горизонта на монтажный отметки реперов на исходном горизонте здания (сооружения) надлежит принимать неизменными независимо от осадок основания. Отступление от этого требования допустимо при наличии специальных обоснований в проектной документации.

Перенесение отметок осуществляется или непосредственным измерением по вертикально установленным конструкциям от репера на исходном горизонте до монтажного горизонта, или методом геометрического нивелирования с немощью двух нивелиров и подвешенной рулетки.

Отметку рабочего репера на монтажном горизонте Hb определяют по формуле

Hb = Ha + a + (d - c) - b,

где: На - отметка репера на исходном горизонте; а - отсчет по рейке, установленной на репере исходного горизонта; d - отсчет по рулетке на монтажном горизонте; с - отсчет по рулетке на исходном горизонте; b - отсчет по рейке, установленной на репере монтажного горизонта.

К рулетке подвешивают гирю массой до 10 кг и опускают в ведро с водой, перемешанной с опилками. Наблюдения желательно вести при двух положениях горизонта прибора, соблюдая равенство расстояний от прибора до рейки и рулетки.

В результате измерений d - с вводят поправки на компарирование рулетки, растяжение и температуру. Поправку на растяжение от подвешенного груза вычисляют по формуле

где: Е - модуль упругости (для стали Е = 20·107 Па); I = d - c - длина рулетки; w - площадь ее поперечного сечения; Р - вес груза.

Схема передачи отметки на монтажный горизонт

Поправка на температуру Dt определяется из выражения:

где: a - коэффициент термического расширения рулетки (для стали a = 0,0000125); t - температура рулетки в процессе измерений; to - температура компарирования.

Температуру t определяют на первой и второй станциях и за окончательное ее значение принимают среднее.

Для передачи отметок на монтажные горизонты может быть использован лазерный прибор ПИЛ-1 с фотоприемником и стальной рулеткой, подвешенной к кронштейну. На монтажном горизонте измерения производят по рулетке визуально и по фотоприемнику, укрепленному на специальной рейке, установленной на репере.

На каждой станции измерения производят при двух горизонтах прибора ПИЛ-1.

В отсчеты, сделанные по рулетке, вводят поправки на компарирование, растяжение и температуру.

Допускается применение тригонометрического нивелирования для передачи больших превышений с высокой точностью в условиях, когда нет возможности применить геометрическое нивелирование.

Перенесенные на монтажный горизонт отметки должны быть в пределах отклонений, определяемых по формуле: d = t m, где t - величина, равная 2; 2,5; 3; определяется при разработке проекта производства работ или проекта производства геодезических работ; m - средняя квадратическая погрешность, приведенная на второй странице данной схемы.

За отметку монтажного горизонта, как правило, принимается среднее значение величин перенесенных отметок.

Проектирование точек внутренней разбивочной сети здания с исходного на монтажные горизонты приводит к смещению точек базисной фигуры, поэтому на монтажных горизонтах выполняют повторные измерения.

В этой ситуации возможны три случая:

отклонения всех измеренных элементов от соответствующих измерений, выполненных на исходном горизонте, не выходят за пределы погрешностей измерений;

отклонения измеренных элементов выходят за пределы погрешностей измерений, но остаются в границах совместного действия погрешностей измерений и погрешностей проектирования;

хотя бы одно измерение отличается от измерения, выполненного на исходном горизонте, на величину, выходящую за пределы погрешностей измерений и проектирования.

В первом случае рекомендуется оставить точки базисной фигуры на монтажном горизонте без изменения; во втором - выполнить уравнивание измерений на монтажном горизонте и редуцировать фигуру до проектной; в третьем случае необходимо повторить проектирование с исходного горизонта.

Результаты измерений и построений при создании внутренней разбивочной сети на монтажном горизонте следует фиксировать путем составления схем местоположения знаков, закрепляющих оси, отметки и ориентиры.

Детальные разбивочные работы на монтажном горизонте заключаются в нанесении разбивочных осей, монтажных рисок на смонтированные опорные конструкции, в определении отметок опорных поверхностей.

Детальные разбивочные работы выполняют от переданной на монтажный горизонт плановой сети с помощью теодолита и линейных промеров рулеткой.

Определение отметок опорных плоскостей, а также вынос проектных отметок на возводимые конструкции осуществляют нивелированием.

Способы разбивки промежуточных осей принимаются в зависимости от числа выносимых на этаж основных осей, которое устанавливается в зависимости от конструктивных особенностей здания и условий строительной площадка.

В зданиях большой протяженности, имеющих ширину до 18 м, а также в том случае, когда применяется метод вертикального проецирования, может поэтажно переноситься одна продольная ось. В этом случае для разбивки промежуточных осей теодолит центрируют над одной из точек, закрепляющей вынесенную ось, a трубу наводят на вторую точку, находящуюся на противоположном конце оси.

Отложив в обе стороны угол 90°, рисками отмечают направление поперечной оси. Такую же операцию выполняют, перенося теодолит на вторую точку. В створе полученных направлений поперечных осей укладывают ленту, с помощью которой от точек вынесенной основной оси откладывают расстояния, соответствующие разбиваемым продольным осям. Положение поперечных осей определяют путем отложения соответствующих расстояний от полученных точек пересечения крайних поперечных и продольных осей. Точность разбивки проверяется измерением углов и расстояний между разбитыми осями.

В крупнопанельных зданиях обычно переносятся поперечные оси, служащие границами захваток, или межсекционные оси и одна крайняя продольная ось.

При монтаже стеновых панелей для обеспечения контроля за точностью положения за установочные принимаются оси, параллельные основным и смещенные от них на постоянную величину.

Под каждую стеновую панель в крупнопанельном строительстве дается три монтажные риски, две из которых служат для определения положения панели в поперечном направлении, а одна - в продольном направлении, и двух отметок для расчета толщины маяков. Для контроля установки панели в плане относительно осей и облегчения процесса их плановой съемки одновременно с монтажными рисками выносят контрольные риски. Контрольные риски параллельны монтажным и даются на расстоянии 100 мм от них.

Разметку рисок ведут нарастающим итогом и обязательно контролируют промерами все расстояния между отдельными осями.

Определение монтажного горизонта на каждом этапе выполняется с помощью нивелира. Передача абсолютных отметок на монтажный горизонт осуществляется от реперов по способу одновременных отсчетов двумя нивелирами, установленными на нижнем и верхнем перекрытиях на подвешенной стальной рулетке с миллиметровыми делениями.

В крупнопанельных зданиях нивелируют верхнюю поверхность панелей перекрытий. С помощью нивелирования определяют абсолютные отметки монтажного горизонта, по которым находят расчетный монтажный горизонт, за уровень которого принимают отметку наивысшей точки. Все результаты съемок высотного положения конструкций записывают в специальный журнал. Уровень монтажного горизонта отмечают маяками. В крупнопанельных зданиях маяки устанавливают из расчета два маяка на панель, располагая их на расстоянии 20 - 40 мм от торцов панели.

В процессе возведения зданий (сооружений) строительно-монтажной организацией (генподрядчиком, субподрядчиком) следует проводить геодезический контроль точности геометрических параметров зданий (сооружений), который должен входить в технологический процесс производства работ и являться обязательной составной частью производственного контроля качества.

Геодезический контроль точности геометрических параметров зданий (сооружений) заключается в:

а) геодезической (инструментальной) проверке соответствия положения элементов, конструкций и частей зданий (сооружений) требованиям проекта и нормативных документов в процессе их монтажа (при операционном контроле);

б) исполнительной геодезической съемке планового и высотного положения элементов, конструкций и частей зданий (сооружений), постоянно закрепленных по окончании монтажа (приемочный контроль).

Контролируемые в процессе производства строительно-монтажных работ геометрические параметры крупнопанельных зданий, методы геодезического контроля, порядок и объем его проведения должны быть установлены проектом производства геодезических работ (или ППР).

Перечень ответственных конструкций и частей зданий (сооружений), подлежащих исполнительной геодезической съемке при выполнении приемочного контроля, должен быть определен проектной организацией.

Плановое и высотное положение элементов и частей зданий (сооружений), их вертикальность следует определять от знаков внутренней разбивочной сети здания (сооружения) или ориентиров, которые использовались при выполнении работ. Перед началом работ необходимо проверить неизменность положения пунктов сети и ориентиров.

Погрешность измерений в процессе геодезического контроля точности геометрических параметров зданий (сооружений) должна быть не более 0,2 величины отклонений, допускаемых строительными нормами и правилами, государственными стандартами и проектной документацией.

Контроль точности положения конструкций крупнопанельных зданий осуществляется в плане и по высоте.

В плане контролируют отклонение от совмещения ориентиров (рисок геометрических осей, граней) в нижнем сечении установленных элементов (панели наружные и внутренние, панели перегородок, сантехкабины, шахты лифтов, вентиляционных блоков) с установочными ориентирами (рисками геометрических осей или гранями нижележащих элементов, рисками разбивочных осей).

Высотное положение элементов монтажного горизонта (плит перекрытий и других предусмотренных проектом конструкций) определяют геометрическим нивелированием.

У каждых монтируемых панелей несущих стен и перегородок и объемных блоков проверяется отклонение от вертикали верха плоскостей.

Результаты геодезической (инструментальной) проверки при операционном контроле должны быть зафиксированы в общем журнале работ.

При исполнительной съемке конструкций крупнопанельных зданий снимают и на геодезических исполнительных схемах показывают отклонение от совмещения ориентиров (рисок геометрических осей, граней) в нижнем сечении установленных элементов (панели наружные и внутренние, панели перегородок, сантехкабины, шахты лифтов, вентиляционных блоков) с установочными ориентирами (рисками геометрических осей или гранями нижележащих элементов, рисками разбивочных осей), а также отклонение от вертикали верха плоскостей панелей несущих стен и объемных блоков.

Перечень приборов, инструментов и приспособлений

Теодолит типа Т-2, Т-15, Т-30 со штативом типа ШР-40 (ГОСТ 10529-86* и ГОСТ 11897-78*).

Нивелир типа Н-0,5, Н-3, Н-5 со штативом типа ШР-120 (или ШР-140), рейка РН-05, РН-3, РН-10 (ГОСТ 10528-90).

Рулетки измерительные металлические по ГОСТ 7502-89 длиной 2, 10, 20 и 50 м.

Отвес стальной строительный по ГОСТ 7948-80 типа ОТ-600 и ОТ-1000.

Рейка с отвесом.

Рейка с уровнем.

Линейка стальная металлическая по ГОСТ 427-75* длиной 100 и 500 мм.

Кисть флейцевая типа кф (ГОСТ 10597-87*).

Шаблоны.

Монтаж наружных стеновых панелей жилых зданий

Технические требования

ГОСТ 11024-84* Панели стеновые наружные бетонные и железобетонные для жилых и общественных зданий. Общие технические условия.

ТУ 5831-001-05108442-98 Панели наружных стен трехслойные бетонные для жилых домов.

ТУ 5830-027-04001232-96 Панели стеновые железобетонные трехслойные и однослойные.

ТУ 67-13-362-91 Панели наружные стеновые трехслойные на гибких связях для жилых зданий.

ТУ 110-41-059-91 Панели стеновые наружные трехслойные железобетонные для жилых и общественных зданий.

ТУ 5831-010-29168861-95 Панели стеновые однослойные для наружных стен жилых и общественных зданий НС.

ТУ 5831-013-29168861-95 Панели железобетонные наружные стеновые трехслойные на гибких связях.

ТУ 5831-018-04001232-95 Панели наружные стеновые трехслойные (технология фирмы «Paptek»).

ТУ 5831-029-02495332-95 Панели стеновые наружные однослойные из керамзитобетона.

ТУ 5831-101-04004621-95 Панели стеновые наружные трехслойные для жилых домов из блок-секций серии 1Р-303.

ТУ 5831-102-04004621-95 Панели стеновые наружные однослойные керамзитобетонные для жилых домов из блок-секций серии 1Р-303.

ГОСТ 28013-98 Растворы строительные. Общие технические условия.

Государственные стандарты и технические условия на наружные стеновые панели и другие материалы, предусмотренные проектом.

СНиП 3.03.01-87 Несущие и ограждающие конструкции.

СНиП 3.01.01-85* Организация строительного производства.

Монтаж стеновых панелей должен осуществляться в соответствии с требованиями проекта, СНиП 3.01.01-85*, СНиП 3.03.01-87, ППР, технологических карт, схем операционного контроля качества СМР и другой технологической документации, утвержденной в установленном порядке.

Монтаж стеновых панелей должны осуществлять строительно-монтажные организации, получившие лицензию на выполнение строительно-монтажных работ в Федеральных или местных лицензионных органах.

Строительно-монтажные работы должны выполняться квалифицированным персоналом, прошедшим специальную подготовку и обладающим надлежащими навыками по монтажу строительных конструкций.

Контролируемые операции

Состав и средства контроля

Документация

Подготовительные работы

Проверить:

- наличие проекта, ППР, технологических карт, схем операционного контроля качества;

- завершение и надлежащее. оформление предшествующих монтажных работ по устройству фундамента или опорных конструкций для наружных стеновых панелей (наличие актов освидетельствования скрытых работ, геодезических исполнительных схем и другой приемо-сдаточной документации);

- наличие паспортов и полноту содержащихся в них данных на поступившие на строительную площадку стеновые панели, соответствие их требованиям проекта; маркировку панелей и наличие штампа ОТК;

- внешним осмотром сохранность и отсутствие недопустимых дефектов внешнего вида на поступивших изделиях и материалах; очистку опорных поверхностей от загрязнений; разметку панелей и разбивку опорных поверхностей.

Проект, ППР, схемы операционного контроля качества

Акт приемки, акты освидетельствования скрытых работ, исполнительные схемы

Паспорта

Монтаж наружных стеновых панелей

Контролировать:

- соблюдение заданной ППР (технологической картой) технологии монтажа наружных стеновых панелей;

- установку стеновых панелей в проектное положение;

- качество заделки стыков, качество сварочных и антикоррозионных работ.

Общий и специальный журналы работ

Исполнительные схемы

Приемка

Проверить:

- соответствие фактического положения стеновых панелей требованиям проекта и нормативных документов;

- соответствие качества сварочных и антикоррозионных работ, а также работ по замоноличиванию стыков требованиям проекта и нормативных документов;

- составление и надлежащее оформление приемо-сдаточной документации.

Общий и специальный журналы работ

Акты приемки

Акты освидетельствования скрытых работ, исполнительные схемы

ВХОДНОЙ И ОПЕРАЦИОННЫЙ КОНТРОЛЬ осуществляют:

мастер (прораб), лаборант (инженер), геодезист - в процессе выполнения работ

ПРИЕМОЧНЫЙ КОНТРОЛЬ ОСУЩЕСТВЛЯЮТ:

прораб (мастер), представители технадзора заказчика

КИП - линейка и рулетка измерительные металлические, нивелир, теодолит и другие геодезические и лабораторные приборы и инструмент.

Производству работ по монтажу наружных стеновых панелей должны предшествовать:

разработка проектов производства работ, как на возведение здания, так и на выполнение отдельных видов работ, разработка технологических карт и схем операционного контроля качества СМР на выполнение отдельных видов работ (с использованием соответствующей типовой документации);

проверка неизменности положения знаков разбивочной сети здания (сооружения); выполнение геодезических работ по созданию внутренней разбивочной сети здания (сооружения), детальные разбивочные работы на исходном и монтажных горизонтах;

входной контроль проектно-сметной документации, наружных стеновых панелей, сварочных и других материалов;

изучение инженерно-техническим персоналом проектной и технологической документации.

При входном контроле рабочей документации должна производиться проверка ее комплектности и достаточности содержащейся в ней технической информации для производства работ.

Входной контроль наружных стеновых панелей и других предусмотренных проектом материалов должен производиться в соответствии с требованиями стандартов и технических условий на конструкции и материалы в порядке, предусмотренном технологическими картами или другой технологической документацией, утвержденной в установленном порядке.

Технические требования к наружным стеновым панелям приведены в настоящем альбоме в СОКК «Входной контроль качества сборных бетонных и железобетонных изделий и конструкций», технические требования к строительным растворам - в альбоме часть I, выпуск 1 в СОКК «Входной контроль строительных растворов».

Требования к разбивочным геодезическим работам приведены в данном альбоме в СОКК «Геодезические работы на исходном горизонте» и «Геодезические работы на монтажном горизонте».

Работы по возведению зданий и сооружений должны производиться по утвержденному проекту производства работ (ППР), в котором наряду с общими требованиями СНиП 3.01.01-85* должны быть предусмотрены: последовательность установки конструкций; мероприятия, обеспечивающие требуемую точность установки; пространственную неизменяемость конструкций в процессе установки в проектное положение; устойчивость конструкций в процессе возведения.

Запрещается осуществление строительно-монтажных работ без утвержденного проекта производства работ. Не допускаются отступления от решений проектов производства работ без согласования с организациями, разработавшими и утвердившими их.

Монтаж конструкций каждого вышележащего этажа многоэтажного здания следует производить после проектного закрепления всех монтажных элементов и достижения бетоном (раствором) замоноличенных стыков несущих конструкций прочности, указанной в ППР, после освидетельствования или приемки ранее выполненных скрытых работ или ответственных конструкций.

Скрытые работы подлежат освидетельствованию с составлением актов. Акт освидетельствования скрытых работ должен составляться на завершенный процесс, выполненный самостоятельным подразделением исполнителей.

Освидетельствование скрытых работ и составление акта в случаях, когда последующие работы должны начинаться после перерыва, следует производить непосредственно перед производством последующих работ.

Запрещается выполнение последующих работ при отсутствии актов освидетельствования предшествующих скрытых работ во всех случаях.

Сборные конструкции следует устанавливать, как правило, с транспортных средств.

Предварительное складирование конструкций на приобъектных складах допускается только при соответствующем обосновании. Приобъектный склад должен быть расположен в зоне действия монтажного крана.

Перед подъемом каждого монтажного элемента необходимо проверить:

соответствие его проектной марке;

состояние закладных изделий и установочных рисок, отсутствие грязи, снега, наледи, повреждений отделки;

наличие на рабочем месте необходимых соединительных деталей и вспомогательных материалов;

правильность и надежность закрепления грузозахватных устройств.

Строповку монтируемых элементов надлежит производить в местах, указанных в рабочих чертежах, и обеспечить их подъем и подачу к месту установки в положении, близком к проектному. При необходимости изменения мест строповки они должны быть согласованы с организацией - разработчиком рабочих чертежей.

Запрещается строповка конструкций в произвольных местах, а также за выпуски арматуры.

Монтируемые элементы следует поднимать плавно, без рывков, раскачивания и вращения, как правило, с применением оттяжек.

Поднимать конструкции следует в два приема: сначала на высоту 20 - 30 см, затем, после проверки надежности строповки, производить дальнейший подъем.

При установке монтажных элементов должны быть обеспечены:

устойчивость и неизменяемость их положения на всех стадиях монтажа;

безопасность производства работ;

точность их положения с помощью постоянного геодезического контроля;

прочность монтажных соединений.

Конструкции крупнопанельных зданий монтируются свободным и ограниченно свободным методами. Метод монтажа зависит от конструкции применяемых при установке сборных элементов монтажных приспособлений.

Монтажные приспособления для свободной установки элементов имеют регулируемые винтовые устройства, которые обеспечивают приведение элемента в процессе выверки в заданное положение и устройства для закрепления его в этом положении. При этом контроль за точностью приведения элемента в заданное положение в процессе выверки осуществляется геодезическими оптическими приборами, отвесом, уровнем и т.п.

Монтажные приспособления для ограниченно свободной установки элементов содержат ограничивающие устройства (упоры), позволяющие в последней стадии установки элемента ограничить его движение в пределах заданного допуска. При этом отпадает необходимость в геодезической выверке элементов. Оснащение, применяемое при ограниченно свободной установке элементов, называется групповым. Ограниченно свободным методом устанавливаются панели поперечных стен крупнопанельных зданий. Остальные элементы устанавливаются свободным методом с применением индивидуального монтажного оснащения. Технологическая последовательность монтажа элементов на захватке крупнопанельных домов зависит от принятых в проекте объемно-планировочных решений зданий, но вместе с тем необходимость выполнения оклеечной изоляции в стыках наружных стеновых панелей диктует необходимость установки их в первую очередь и лишь потом (после выполнения оклеечной изоляции) монтажа панелей внутренних стен.

Монтаж наружных стеновых панелей осуществляется в следующей последовательности.

Стыкуемые поверхности панелей должны быть очищены от грязи, снега, наледи и просушены сжатым воздухом; должны быть устранены повреждения отделки и грунтовки.

Для герметизации горизонтального стыка на основание верхнего гребня наружных стеновых панелей должна быть уложена на клею упругая уплотняющая прокладка (см. в настоящем альбоме СОКК «Герметизация стыков крупнопанельных жилых зданий»).

Установку панелей наружных стен следует производить, опирая их на выверенные относительно монтажного горизонта маяки. Прочность материала, из которого изготовляют маяки, не должна быть выше установленной проектом прочности на сжатие раствора, применяемого для устройства постели.

Отклонения отметок маяков относительно монтажного горизонта не должны превышать ± 5 мм. При отсутствии в проекте специальных указаний толщина маяков должна составлять 10 - 30 мм. Между торцом панели после ее выверки и растворной постелью не должно быть щелей.

Стеновые панели устанавливают на слой цементного раствора, толщина которого и марка должны быть указаны в проекте. Как правило, цементный раствор расстилают выше уровня маяков на 5 мм. Подвижность раствора должна составлять 5 - 7 см по глубине погружения стандартного конуса, за исключением случаев, специально оговоренных в проекте.

Применение раствора, процесс схватывания которого уже начался, а также восстановление его пластичности путем добавления воды не допускаются.

После установки панели на растворную постель не допускается передвижка (рихтовка) ее по раствору.

При отклонении от проектного положения панель должна быть приподнята краном, низ ее очищен от раствора, после чего она снова устанавливается на свежий раствор.

Выверка наружных стеновых панелей в поперечном направлении (из плоскости стены) осуществляется совмещением внутренней грани панели с установочными рисками на перекрытии, вынесенными от разбивочных осей, или с поверхностью упорной грани инвентарных шаблонов, ориентируемых по рискам установочной оси. Для повышения точности установки упорная грань шаблона должна быть на 50 - 100 мм приподнята над перекрытием, чтобы фиксировать панель не по ее нижней кромке, которая часто имеет сколы и наплывы бетона, а несколько выше, где она имеет относительно ровную поверхность.

Способ установки панелей в продольном направлении (в плоскости стены) зависит от архитектурного решения фасада здания. При гладкой линии его в плане в продольном направлении панели устанавливаются путем совмещения риски, нанесенной на нижней кромке их внутренней грани и фиксирующей середину ее длины, с риской, нанесенной на перекрытии при геодезической разбивке осей и определяющей середину проектного шага поперечных осей. При таком способе установки погрешности от неточности изготовления панелей по длине распределяются равномерно на два соседних вертикальных стыка. Это позволяет избежать накопления погрешностей в положении панелей и обеспечить относительно равные швы между ними.

Если решение фасада предусматривает устройство лоджий, эркеров или нахлесточных стыков, которые ломают линию фасада в плане, то установка панелей в продольном направлении может осуществляться по шаблонам, фиксирующим проектный размер шва между панелями. В этом случае лоджии и эркеры выполняют роль компенсационных зон, поглощающих погрешности от неточности изготовления панели по ее длине. Толщина шаблона должна соответствовать проектной толщине вертикального шва.

Выверенная в плане панель временно закрепляется подкосами к плитам перекрытия, из расчета по два подкоса на одну панель. Тип подкоса выбирается в зависимости от вида и расположения устройств, за которые осуществляется строповка панелей, а также от конструкции самой панели. Если для строповки панели в ее верхней грани предусмотрены выступающие монтажные петли, то ее временное закрепление наиболее целесообразно осуществлять с помощью бесструбцинного цельносварного подкоса с захватными головками по концам. Если в панели вместо монтажных петель предусмотрены болты (штыри) или монтажные петли, утопленные в углублении верхней грани панели, то для ее временного крепления используются струбцинные подкосы. Если в конструкции панели для ее закрепления предусмотрено устройство специальных закладных изделий (петли, коробки и т.п.), которые, как правило, располагаются на высоте 170 - 180 см от уровня перекрытия, то ее крепление осуществляется бесструбцинным подкосом укороченной длины. В этом случае закрепление панелей выполняется непосредственно с перекрытия без применения стремянки и монтажных столиков.

Самым эффективным из указанных подкосов с точки зрения удобства работы и затрат труда является бесструбцинный подкос укороченной длины.

К перекрытиям подкосы крепятся к монтажным петлям самих плит или к специальным устройствам, предварительно закрепляемым для этой цели в технологических отверстиях плит перекрытий.

После временного укрепления панели проверяется ее положение относительно вертикали. Проверка вертикальности осуществляется обычно рейкой-отвесом по двум граням: внутренней боковой и открытой торцевой.

Расстроповку наружных стеновых панелей можно производить только после их окончательной выверки и временного закрепления.

Проектное закрепление наружных стеновых панелей должно осуществляться после установки внутренних стеновых панелей в проектное положение и временного закрепления их подкосами.

Сварка металлических соединений наружных и внутренних стеновых панелей должна выполняться в соответствии с требованиями проекта, СНиП 3.03.01-87* и технологической документацией, утвержденной в установленном порядке (см. СОКК по сварке в альбоме часть II).

Освобождение наружных стеновых панелей от временных креплений должно производиться только после их постоянного крепления, предусмотренного проектом.

Антикоррозионная защита закладных изделий и сварных соединений должна выполняться в соответствии с требованиями проекта, СНиП 3.03.01-87*, СНиП 3.04.03-85 и технологической документацией, утвержденной в установленном порядке (см. в настоящем альбоме СОКК «Антикоррозионная защита закладных изделий и сварных соединений»).

Изоляция стыков наружных стен должна выполняться в соответствии с требованиями проекта, СНиП 3.03.01-87* и технологической документацией, утвержденной в установленном порядке (см. в настоящем альбоме СОКК «Изоляция стыков крупнопанельных жилых зданий»).

Замоноличивание стыков наружных и внутренних стеновых панелей должно выполняться после проверки правильности установки панелей, приемки соединений панелей в узлах сопряжений и выполнения антикоррозионного покрытия сварных соединений и поврежденных участков покрытия закладных изделий. Замоноличивание должно выполняться в соответствии с требованиями проекта, СНиП 3.03.01-87* и технологической документацией, утвержденной в установленном порядке (см. в настоящем альбоме СОКК «Замоноличивание стыков и швов крупнопанельных жилых зданий»).

При отсутствии в рабочих чертежах специальных требований предельные отклонения от проектного положения законченных монтажом панелей не должны превышать величин, приведенных в нижеследующей таблице.

Параметр

Предельные отклонения, мм

Контроль (метод, объем, вид регистрации)

Отклонение от совмещения ориентиров (рисок геометрических осей) в нижнем сечении панелей с установочными ориентирами (рисками геометрических или разбивочных осей)

8

Измерительный, каждая панель, геодезическая исполнительная схема

Отклонение от вертикали верха плоскостей панелей несущих стен

10

Измерительный, каждая панель, геодезическая исполнительная схема

Отклонения на установку монтажных элементов, положение которых может измениться в процессе их постоянного закрепления и нагружения последующими конструкциями, должны назначаться в ППР с таким расчетом, чтобы они не превышали предельных значений после завершения всех монтажных работ. В случае отсутствия в ППР специальных указаний величина отклонения элементов при установке не должна превышать 0,4 предельного отклонения на приемку.

Требуемая точность установки панелей наружных стен в проектное положение должна обеспечиваться детальными разбивочными работами (см. в данном альбоме СОКК «Геодезические работы на исходном горизонте» и «Геодезические работы на монтажном горизонте») и постоянным геодезическим (инструментальным) контролем точности выполнения монтажных операций, которые входят в технологический процесс монтажа наружных стеновых панелей (операционный контроль качества).

Точность установки низа панелей, регламентируемая ППР, может достигаться:

доводкой их в проектное положение в несколько приемов с помощью регулируемых устройств (домкратов и т.п.). При этом контроль за точностью совмещения ориентиров осуществляется с помощью теодолитов, нитяного отвеса или шаблонов;

доводкой панелей в проектное положение с помощью ручного инструмента (монтажного ломика и т.п.) в несколько приемов и использовании для совмещения ориентиров шаблонов;

доводкой панелей в проектное положение с помощью ручного инструмента и визуальным контролем за совмещением ориентиров. При этом точность установки зависит от количества приемов установки.

Точность установки верха панелей, регламентируемая ППР, может достигаться:

доводкой их в проектное положение в несколько приемов с помощью регулируемых монтажных приспособлений (подкосов, струбцин и т.п.). При этом контроль за вертикальностью верха плоскостей панелей осуществляется с помощью теодолита, рейки-отвеса, рейки-уровня и т.п.;

установкой верха панелей в заданное положение краном в один прием. При этом контроль за вертикальностью панелей производится с помощью отвеса.

Положение наружных стеновых панелей по ходу монтажа должно фиксироваться на геодезических исполнительных схемах, остальные данные должны вноситься в журнал работ по монтажу строительных конструкций, сварочных работ, антикоррозионной защиты сварных соединений, замоноличивания монтажных стыков и узлов.

Приемка выполненных работ по монтажу наружных стеновых панелей осуществляется на основании следующих документов:

исполнительных чертежей с внесенными (при их наличии) отступлениями, допущенными предприятием - изготовителем наружных стеновых панелей, а также монтажной организацией, согласованными с проектными организациями - разработчиками чертежей, и документов об их согласовании;

заводских паспортов (документов о качестве) на наружные стеновые панели;

документов (сертификатов, паспортов), удостоверяющих качество материалов, примененных при производстве строительно-монтажных работ;

актов освидетельствования скрытых работ;

актов промежуточной приемки ответственных конструкций;

исполнительных геодезических схем положения наружных стеновых панелей;

журналов работ;

документов о контроле качества сварных соединений;

других документов, указанных в дополнительных правилах или рабочих чертежах.

Монтаж внутренних стеновых панелей жилых домов

Технические требования

ГОСТ 12504-80* Панели стеновые внутренние бетонные и железобетонные для жилых и общественных зданий. Общие технические условия.

ТУ 5832-103-04004621-95 Панели стеновые внутренние бетонные и железобетонные для жилых домов из блок-секций серии 1Р-303.

ТУ 5832-019-04001232-95 Панели внутренних стен железобетонные (технология фирмы «Paptek»).

ТУ 5832-118-01393898-93 Панели стеновые внутренние железобетонные для зданий серии 135.

ГОСТ 28013-98 Растворы строительные. Общие технические условия.

Государственные стандарты и технические условия на внутренние стеновые панели и другие материалы, предусмотренные проектом.

СНиП 3.03.01-87 Несущие и ограждающие конструкции.

СНиП 3.01.01-85* Организация строительного производства.

Монтаж стеновых панелей должен осуществляйся в соответствии с требованиями проекта, СНиП 3.01.01-85*, СНиП 3.03.01-87, ППР, технологических карт, схем операционного контроля качества СМР и другой технологической документации, утвержденной в установленном порядке.

Монтаж стеновых панелей должны осуществлять строительно-монтажные организации, получившие лицензию на выполнение строительно-монтажных работ в Федеральных или местных лицензионных органах.

Строительно-монтажные работы должны выполняться квалифицированным персоналом, прошедшим специальную подготовку и обладающими надлежащими навыками по монтажу строительных конструкций.

Производству работ по монтажу внутренних стеновых панелей должны предшествовать:

- разработка проектов производства работ как на возведение здания, так и на выполнение отдельных видов работ; разработка технологических карт и схем операционного контроля качества СМР на выполнение отдельных видов работ (с использованием соответствующей типовой документации);

- проверка неизменности положения знаков разбивочной сети здания (сооружения); выполнение геодезических работ по созданию внутренней разбивочной сети здания (сооружения); детальные разбивочные работы на исходном и монтажных горизонтах;

- входной контроль проектно-сметной документации, внутренних стеновых панелей, сварочных и других материалов;

- изучение инженерно-техническим персоналом проектной и технологической документации.

Контролируемые операции

Состав и средства контроля

Документация

Подготовительные работы

Проверить:

- наличие проекта, ППР, технологических карт, схем операционного контроля качества;

- завершение и надлежащее оформление предшествующих монтажных работ по устройству фундамента или опорных конструкций для внутренних стеновых панелей (наличие актов освидетельствования скрытых работ, геодезических исполнительных схем и другой приемо-сдаточной документации);

- наличие паспортов и полноту содержащихся в них данных на поступившие на строительную площадку стеновые панели, соответствие их требованиям проекта; маркировку панелей и наличие штампа ОТК;

- внешним осмотром сохранность и отсутствие недопустимых дефектов внешнего вида на поступивших изделиях и материалах; очистку опорных поверхностей от загрязнений; разметку панелей и разбивку опорных поверхностей.

Проект, ППР, схемы операционного контроля качества

Акт приемки, акты освидетельствования скрытых работ, исполнительные схемы

Паспорта

Монтаж внутренних стеновых панелей

Контролировать:

- соблюдение заданной ППР (технологической картой) технологии монтажа внутренних стеновых панелей;

- установку стеновых панелей в проектное положение;

- качество заделки стыков, качество сварочных и антикоррозионных работ.

Общий и специальный журналы работ

Исполнительные схемы

Приемка

Проверить:

- соответствие фактического положения стеновых панелей требованиям проекта и нормативных документов;

- соответствие качества сварочных и антикоррозионных работ, а также работ по замоноличиванию стыков требованиям проекта и нормативных документов;

- составление и надлежащее оформление приемо-сдаточной документации.

Общий и специальный журналы работ

Акты приемки

Акты освидетельствования скрытых работ, исполнительные схемы

ВХОДНОЙ И ОПЕРАЦИОННЫЙ КОНТРОЛЬ осуществляют:

мастер (прораб), лаборант (инженер), геодезист - в процессе выполнения работ

ПРИЕМОЧНЫЙ КОНТРОЛЬ ОСУЩЕСТВЛЯЮТ:

прораб (мастер), представители технадзора заказчика

КИП - линейка и рулетка измерительные металлические, нивелир, теодолит и другие геодезические и лабораторные приборы и инструмент.

При входном контроле рабочей документации должна производиться проверка ее комплектности и достаточности содержащейся в ней технической информации для производства работ.

Входной контроль внутренних стеновых панелей и других предусмотренных проектом материалов должен производиться в соответствии с требованиями стандартов и технических условий на конструкции и материалы в порядке, предусмотренном технологическими картами или другой технологической документацией, утвержденной в установленном порядке.

Технические требования к внутренним стеновым панелям приведены в настоящем альбоме в СОКК «Входной контроль качества сборных бетонных и железобетонных изделий и конструкций», технические требования к строительным растворам - в альбоме часть I, выпуск 1 в СОКК «Входной контроль строительных растворов».

Требования к разбивочным геодезическим работам приведены в данном альбоме в СОКК «Геодезические работы на исходном горизонте» и «Геодезические работы на монтажном горизонте».

Работы по возведению зданий и сооружений должны производиться по утвержденному проекту производства работ (ППР), в котором наряду с общими требованиями СНиП 3.01.01-85* должны быть предусмотрены: последовательность установки конструкций; мероприятия, обеспечивающие требуемую точность установки; пространственную неизменяемость конструкций в процессе установки в проектное положение; устойчивость конструкции в процессе возведения.

Запрещается осуществление строительно-монтажных работ без утвержденного проекта производства работ. Не допускаются отступления от решений проектов производства работ без согласования с организациями, разработавшими и утвердившими их.

Монтаж конструкций каждого вышележащего этажа многоэтажного здания следует производить после проектного закрепления всех монтажных элементов и достижения бетоном (раствором) замоноличенных стыков несущих конструкций прочности, указанной в ППР, после освидетельствования или приемки ранее выполненных скрытых работ или ответственных конструкций.

Скрытые работы подлежат освидетельствованию с составлением актов. Акт освидетельствования скрытых работ должен составляться на завершенный процесс, выполненный самостоятельным подразделением исполнителей.

Освидетельствование скрытых работ и составление акта в случаях, когда последующие работы должны начинаться после перерыва, следует производить непосредственно перед производством последующих работ.

Запрещается выполнение последующих работ при отсутствии актов освидетельствования предшествующих скрытых работ во всех случаях.

Сборные конструкции следует устанавливать, как правило, с транспортных средств.

Предварительное складирование конструкций на приобъектных складах допускается только при соответствующем обосновании. Приобъектный склад должен быть расположен в зоне действия монтажного крана.

Перед подъемом каждого монтажного элемента необходимо проверить:

соответствие его проектной марке;

состояние закладных изделий и установочных рисок, отсутствие грязи, снега, наледи, повреждений отделки;

наличие на рабочем месте необходимых соединительных деталей и вспомогательных материалов;

правильность и надежность закрепления грузозахватных устройств.

Строповку монтируемых элементов надлежит производить в местах, указанных в рабочих чертежах, и обеспечить их подъем и подачу к месту установки в положении, близком к проектному. При необходимости изменения мест строповки они должны быть согласованы с организацией - разработчиком рабочих чертежей.

Запрещается строповка конструкций в произвольных местах, а также за выпуски арматуры.

Монтируемые элементы следует поднимать плавно, без рывков, раскачивания и вращения, как правило, с применением оттяжек.

Поднимать конструкции следует в два приема: сначала на высоту 20 - 30 см, затем, после проверки надежности строповки, производить дальнейший подъем.

При установке монтажных элементов должны быть обеспечены:

устойчивость и неизменяемость их положения на всех стадиях монтажа;

безопасность производства работ;

точность их положения с помощью постоянного геодезического контроля;

прочность монтажных соединений.

До начала монтажа внутренних стеновых панелей должны быть выполнены следующие работы:

произведены предусмотренные проектом и ППР разбивочные работы (геодезическая разбивка осей под внутренние стеновые панели с нанесением на плитах перекрытий ориентирных рисок для установки панелей в проектное положение, нивелирование плит перекрытий и определение монтажного горизонта);

определены высоты маяков под внутренние стеновые панели;

смонтированы, выверены и временно закреплены наружные стеновые панели.

Монтаж внутренних стеновых панелей производится в следующей последовательности:

установка панелей внутренних стен и их выверка в плане;

временное закрепление стеновых панелей и выверка их по вертикали;

проектное закрепление стеновых панелей и демонтаж временного крепления;

замоноличивание и зачеканка стыков внутренних стеновых панелей (после укладки плит перекрытия монтируемого этажа).

Стыкуемые поверхности панелей внутренних стен и плит перекрытий должны быть очищены от грязи, снега, наледи и просушены сжатым воздухом.

Установку панелей наружных стен следует производить, опирая их на выверенные относительно монтажного горизонта маяки. Прочность материала, из которого изготовляют маяки, не должна быть выше установленной проектом прочности на сжатие раствора, применяемого для устройства постели.

Отклонения отметок маяков относительно монтажного горизонта не должны превышать ± 5 мм. При отсутствии в проекте специальных указаний толщина маяков должна составлять 10 - 30 мм. Под каждую панель устанавливают по два маяка - на расстоянии 0,2 - 0,3 м от торцов панели.

Стеновые панели устанавливают на слой цементного раствора, толщина которого и марка должны быть указаны в проекте. Как правило, цементный раствор расстилают выше уровня маяков на 5 мм. Подвижность раствора должна составлять 5 - 7 см по глубине погружения стандартного конуса, за исключением случаев, специально оговоренных в проекте.

Применение раствора, процесс схватывания которого уже начался, а также восстановление его пластичности путем добавления воды не допускаются.

После установки панели на растворную постель не допускается передвижка (рихтовка) ее по раствору.

При отклонении от проектного положения панель должна быть приподнята краном, низ ее очищен от раствора, после чего она снова устанавливается на свежий раствор.

Между торцом панели после ее выверки и растворной постелью не должно быть щелей.

Конструкции крупнопанельных зданий монтируются свободным и ограниченно свободным методами. Метод монтажа зависит от конструкции применяемых при установке сборных элементов монтажных приспособлений.

Монтажные приспособления для свободной установки элементов имеют регулируемые винтовые устройства, которые обеспечивают приведение элемента в процессе выверки в заданное положение и устройства для закрепления его в этом положении. При этом контроль за точностью приведения элемента в заданное положение в процессе выверки осуществляется геодезическими оптическими приборами, отвесом, уровнем и т.п.

Монтажные приспособления для ограниченно свободной установки элементов содержат ограничивающие устройства (упоры), позволяющие в последней стадии установки элемента ограничить его движение в пределах заданного допуска. При этом отпадает необходимость в геодезической выверке элементов. Оснащение, применяемое при ограниченно свободной установке элементов, называется групповым. Ограниченно свободным методом устанавливаются панели поперечных стен крупнопанельных зданий. Остальные элементы устанавливаются свободным методом с применением индивидуального монтажного оснащения. Технологическая последовательность монтажа элементов на захватке крупнопанельных домов зависит от принятых в проекте объемно-планировочных решений зданий, но вместе с тем необходимость выполнения оклеечной изоляции в стыках наружных стеновых панелей диктует необходимость установки их в первую очередь и лишь потом (после выполнения оклеечной изоляции) монтажа панелей внутренних стен.

Установка панелей внутренних стен может производиться свободным или ограниченно свободным методом с применением соответственно индивидуального или группового монтажного оснащения.

При применении индивидуального монтажного оснащения установка панелей внутренних стен выполняется так же, как и панелей наружных стен с однорядной разрезкой, т.е. низ панели устанавливается по рискам, верх - по рейке-отвесу (рейке-уровню). Временное закрепление панелей производится с помощью двух подкосов (для глухих внутренних стеновых панелей), угловой монтажной связи и подкоса (для внутренних стеновых панелей, примыкающих к наружным стенам), треугольной стойки и угловой монтажной связи (для внутренних стеновых панелей с дверным проемом или свободным торцом) и т.д.

Выверка внутренних стеновых панелей в поперечном направлении (из плоскости стены) осуществляется совмещением внутренней грани панели с установочными рисками на перекрытии, вынесенными от разбивочных осей, или с поверхностью упорной грани инвентарных шаблонов, ориентируемых по рискам установочной оси. Для повышения точности установки упорная грань шаблона должна быть на 50 - 100 мм приподнята над перекрытием, чтобы фиксировать панель не по ее нижней кромке, которая часто имеет сколы и наплывы бетона, а несколько выше, где она имеет относительно ровную поверхность.

После выверки панели в плане выполняют ее временное закрепление.

Далее с помощью монтажной оснастки приводят панель в вертикальное положение. Проверка вертикальности осуществляется обычно рейкой-отвесом.

Расстроповку наружных стеновых панелей можно производить только после их окончательной выверки и временного закрепления.

После окончательной выверки и временного укрепления панелей осуществляют проектное укрепление внутренних стеновых панелей.

При использовании группового монтажного оснащения монтаж на каждом этаже начинается с установки базового элемента. Установку базового элемента следует выполнять с повышенной точностью, так как погрешность в положении базового элемента через систему связей передается на последующие устанавливаемые элементы.

Для установки низа панелей наиболее рациональными являются упоры, закрепляемые в отверстиях стальной ленты, предварительно уложенной на перекрытии. Расстояния между отверстиями в ленте точно соответствуют проектному шагу здания. При использовании этих упоров стальная лента укладывается на всю длину захватки (по две ленты на панель) с учетом равномерного распределения их по ширине пролета, а также исключения возможности прохождения через вырезы, которые могут иметь панели в нижнем сечении. Концы лент зажимаются в натяжных устройствах, закрепленных к плитам перекрытия с помощью специальных устройств. Винтами натяжных устройств ленты натягиваются и ориентируются относительно рисок базовых осей путем совмещения соответствующей риски или отверстия на ленте с риской базовой оси. В отверстия ленты устанавливают упоры и плотно закрепляют их зажимными винтами колодки. При этом упоры оказываются точно установленными относительно разбивочных осей здания. При использовании описанных упоров приведение в проектное положение низа устанавливаемой панели достигается доводкой монтажным ломиком грани панели до соприкосновения с плоскостью упора. По окончании монтажа панелей упоры снимаются, а лента скручивается. Использование стальной ленты позволяет исключить геодезическую разбивку поперечных осей. В этом случае на каждое монтируемое перекрытие достаточно перевести только базовые оси.

Проектное положение базового элемента обеспечивается:

кондуктором-установщиком путем доведения верхней и нижней граней панели до соприкосновения с упорными устройствами кондуктора, выверенным предварительно относительно базовой оси;

установкой низа базового элемента по упорам, закрепленным на ленте и выверенным относительно базовой оси с выверкой верха элемента по вертикали с помощью отвеса или теодолита;

установкой низа панели непосредственно по рискам базовой оси и выверкой верха ее так же, как и в предыдущем случае с помощью отвеса ила теодолита.

При установке базовой панели особое внимание необходимо обращать на жесткость крепления, исключающего возможность смещения панелей под действием нагрузок, возникающих в процессе монтажа остальных элементов. Для этого базовую панель сразу же после установки скрепляют постоянными связями с ранее установленными панелями наружных и внутренних продольных стен. После монтажа базовых элементов приступают к установке рядовых панелей поперечных стен. Точность установки рядовых панелей стен, а также приемы выполнения работ при использовании группового монтажного оснащения зависят от конструкции входящих в состав монтажного оснащения устройств, предназначенных для установки в проектное положение верха и низа элементов. Для установки низа панелей используют упоры, вилки или закладные штыри в сочетании с лунками.

Для приведения в проектное положение верха панелей могут применяться горизонтальные связи, тяги, располагаемые по верху элементов, или горизонтальные связи-штанги, пропускаемые через технологические отверстия панелей. Наличие постоянного размера между фиксирующими устройствами связей, штанг и тяг обеспечивает принудительное приведение верха элемента в проектное положение. При использовании указанных приспособлений выверка панелей по вертикали не производится.

Сварка металлических соединений наружных и внутренних стеновых панелей должна выполняться в соответствии с требованиями проекта, СНиП 3.03.01-87* и технологической документацией, утвержденной в установленном порядке (см. СОКК по сварке в альбоме часть II).

Освобождение внутренних стеновых панелей от временных креплений должно производиться только после их постоянного крепления, предусмотренного проектом.

Антикоррозионная защита закладных изделий и сварных соединений должна выполняться в соответствии с требованиями проекта, СНиП 3.03.01-87*, СНиП 3.04.03-85 и технологической документацией, утвержденной в установленном порядке (см. в настоящем альбоме СОКК «Антикоррозионная защита закладных изделий и сварных соединений»).

Изоляция стыков внутренних стен должна выполняться в соответствии с требованиями проекта, СНиП 3.03.01-87* и технологической документацией, утвержденной в установленном порядке (см. в настоящем альбоме СОКК «Изоляция стыков крупнопанельных жилых зданий»).

Замоноличивание стыков наружных и внутренних стеновых панелей должно выполняться после проверки правильности установки панелей, приемки соединений панелей в узлах сопряжений и выполнения антикоррозионного покрытия сварных соединений и поврежденных участков покрытия закладных изделий. Замоноличивание должно выполняться в соответствии с требованиями проекта, СНиП 3.03.01-87* и технологической документацией, утвержденной в установленном порядке (см. в настоящем альбоме СОКК «Замоноличивание стыков и швов крупнопанельных жилых зданий»).

При отсутствии в рабочих чертежах специальных требований предельные отклонения от проектного положения законченных монтажом панелей не должны превышать величин, приведенных в нижеследующей таблице.

Параметр

Предельные отклонения, мм

Контроль (метод, объем, вид регистрации)

Отклонение от совмещения ориентиров (рисок геометрических осей) в нижнем сечении панелей с установочными ориентирами (рисками геометрических или разбивочных осей)

8

Измерительный, каждая панель, геодезическая исполнительная схема

Отклонение от вертикали верха плоскостей панелей несущих стен

10

Измерительный, каждая панель, геодезическая исполнительная схема

Отклонения на установку монтажных элементов, положение которых может измениться в процессе их постоянного закрепления и нагружения последующими конструкциями, должны назначаться в ППР с таким расчетом, чтобы они не превышали предельных значений после завершения всех монтажных работ. В случае отсутствия в ППР специальных указаний величина отклонения элементов при установке не должна превышать 0,4 предельного отклонения на приемку.

Требуемая точность установки панелей внутренних стен в проектное положение должна обеспечиваться детальными разбивочными работами (см. в данном альбоме СОКК «Геодезические работы на исходном горизонте» и «Геодезические работы на монтажном горизонте») и постоянным геодезическим (инструментальным) контролем точности выполнения монтажных операций, которые входят в технологический процесс монтажа внутренних стеновых панелей (операционный контроль качества).

Положение внутренних стеновых панелей по ходу монтажа должно фиксироваться на геодезических исполнительных схемах, остальные данные должны вноситься в журналы работ по монтажу строительных конструкций, сварочных работ, антикоррозионной защиты сварных соединений, замоноличивания монтажных стыков и узлов.

Приемка выполненных работ по монтажу внутренних стеновых панелей осуществляется на основании следующих документов:

исполнительных чертежей с внесенными (при их наличии) отступлениями, допущенными предприятием - изготовителем внутренних стеновых панелей, а также монтажной организацией, согласованными с проектными организациями - разработчиками чертежей, и документов об их согласовании;

заводских паспортов (документов о качестве) на внутренние стеновые панели;

документов (сертификатов, паспортов), удостоверяющих качество материалов, примененных при производстве строительно-монтажных работ;

актов освидетельствования скрытых работ;

акты промежуточной приемки ответственных конструкций;

исполнительных геодезических схем положения внутренних стеновых панелей;

журналов работ;

документов о контроле качества сварных соединений;

других документов, указанных в дополнительных правилах или рабочих чертежах.

Установка плит перекрытий

Технические требования

ГОСТ 26434-85** Плиты перекрытий железобетонные для жилых зданий. Типы и основные параметры.

ГОСТ 9561-91 Плиты перекрытий железобетонные многопустотные для зданий и сооружений. Технические условия.

ГОСТ 12767-94 Плиты перекрытий железобетонные сплошные для крупнопанельных зданий. Общие технические условия.

ТУ 5842-002-47569977-98 Плиты перекрытий железобетонные плоские для жилых и общественных зданий с безригельным каркасом.

ТУ 5842-003-01251655-94 Плиты плоские железобетонные для перекрытий жилых и общественных зданий.

ТУ 5842-003-05343710-97 Плиты железобетонные многопустотные для перекрытий зданий и сооружений.

ТУ 5842-001-00001289-95 Плиты перекрытий железобетонные многопустотные на основе серии 1.141-1.

ТУ 5842-005-01298705-97 Плиты перекрытий железобетонные многопустотные.

ТУ 5842-005-47569977-98 Плиты перекрытий железобетонные ребристые для жилых и общественных зданий с безригельным каркасом.

ГОСТ 28013-98 Растворы строительные. Общие технические условия.

Государственные стандарты и технические условия на плиты перекрытий и другие материалы, предусмотренные проектом.

СНиП 3.03.01-87 Несущие и ограждающие конструкции.

СНиП 3.01.01-85* Организация строительного производства.

Монтаж плит перекрытий должен осуществляться в соответствии с требованиями проекта, СНиП 3.01.01-85*, СНиП 3.03.01-87, ППР, технологических карт, схем операционного контроля качества СМР и другой технологической документации, утвержденной в установленном порядке.

Монтаж плит перекрытий должны осуществлять строительно-монтажные организации, получившие лицензию на выполнение строительно-монтажных работ в Федеральных или местных лицензионных органах.

Строительно-монтажные работы должны выполняться квалифицированным персоналом, прошедшим специальную подготовку и обладающими надлежащими навыками по монтажу строительных конструкций.

Производству работ по монтажу плит перекрытий должны предшествовать:

- разработка проектов производства работ, как на возведение здания, так и на выполнение отдельных видов работ; разработка технологических карт и схем операционного контроля качества СМР на выполнение отдельных видов работ (с использованием соответствующей типовой документации);

проверка неизменности положения знаков разбивочной сети здания (сооружения); выполнение геодезических работ по созданию внутренней разбивочной сети здания (сооружения), детальные разбивочные работы на исходном и монтажных горизонтах;

входной контроль проектно-сметной документации, плит перекрытий, сварочных и других материалов;

изучение инженерно-техническим персоналом проектной и технологической документации.

Контролируемые операции

Состав и средства контроля

Документация

Подготовительные работы

Проверить:

- наличие проекта, ППР, технологических карт, схем операционного контроля качества;

- завершение и надлежащее оформление предшествующих работ по монтажу и проектному закреплению всех несущих конструкций ниже уровня монтируемого перекрытия (наличие актов освидетельствования скрытых работ, геодезических исполнительных схем и другой приемо-сдаточной документации);

- наличие паспортов и полноту содержащихся в них данных на поступившие на строительную площадку плиты перекрытий, соответствие их требованиям проекта; маркировку панелей и наличие штампа ОТК;

Проект, ППР, схемы операционного контроля качества

Акт приемки, акты освидетельствования скрытых работ, исполнительные схемы

Паспорта

- внешним осмотром сохранность и отсутствие недопустимых дефектов внешнего вида на поступивших изделиях и материалах; очистку опорных поверхностей от загрязнений; разметку плит.

Общий журнал работ

Установка плит перекрытий

Контролировать:

- соблюдение заданной ППР (технологической картой) технологии монтажа внутренних стеновых панелей;

- установку стеновых панелей в проектное положение;

- качество заделки стыков, качество сварочных и антикоррозионных работ.

Общий и специальный журналы работ

Исполнительные схемы

Приемка

Проверить:

- соответствие фактического положения стеновых панелей требованиям проекта и нормативных документов;

- соответствие качества сварочных и антикоррозионных работ, а также работ по замоноличиванию стыков требованиям проекта и нормативных документов;

- составление и надлежащее оформление приемо-сдаточной документации.

Общий и специальный журналы работ

Акты приемки

Акты освидетельствования скрытых работ, исполнительные схемы

ВХОДНОЙ И ОПЕРАЦИОННЫЙ КОНТРОЛЬ осуществляют:

мастер (прораб), лаборант (инженер), геодезист - в процессе выполнения работ

ПРИЕМОЧНЫЙ КОНТРОЛЬ ОСУЩЕСТВЛЯЮТ:

прораб (мастер), представители технадзора заказчика

КИП - линейка и рулетка измерительные металлические, нивелир, теодолит и другие геодезические и лабораторные приборы и инструмент.

При входном контроле рабочей документации должна производиться проверка ее комплектности и достаточности содержащейся в ней технической информации для производства работ.

Входной контроль плит перекрытий и других предусмотренных проектом материалов должен производиться в соответствии с требованиями стандартов и технических условий на конструкции и материалы в порядке, предусмотренном технологическими картами или другой технологической документацией, утвержденной в установленном порядке.

Технические требования к плитам перекрытий приведены в настоящем альбоме в СОКК «Входной контроль качества сборных бетонных и железобетонных изделий и конструкций», технические требования к строительным растворам - в альбоме часть I, выпуск 1 в СОКК «Входной контроль строительных растворов».

Требования к разбивочным геодезическим работам приведены в данном альбоме в СОКК «Геодезические работы на исходном горизонте» и «Геодезические работы на монтажном горизонте».

Работы по возведению зданий и сооружений должны производиться по утвержденному проекту производства работ (ППР), в котором наряду с общими требованиями СНиП 3.01.01-85* должны быть предусмотрены: последовательность установки конструкций; мероприятия, обеспечивающие требуемую точность установки; пространственную неизменяемость конструкций в процессе установки в проектное положение; устойчивость конструкций в процессе возведения.

Запрещается осуществление строительно-монтажных работ без утвержденного проекта производства работ. Не допускаются отступления от решений проектов производства работ без согласования с организациями, разработавшими и утвердившими их.

Монтаж плит перекрытий следует производить после проектного закрепления всех монтажных элементов и достижения бетоном (раствором) замоноличенных стыков несущих конструкций прочности, указанной в ППР, после освидетельствования или приемки ранее выполненных скрытых работ или ответственных конструкций.

Скрытые работы подлежат освидетельствованию с составлением актов. Акт освидетельствования скрытых работ должен составляться на завершенный процесс, выполненный самостоятельным подразделением исполнителей.

Освидетельствование скрытых работ и составление акта в случаях, когда последующие работы должны начинаться после перерыва, следует производить непосредственно перед производством последующих работ.

Запрещается выполнение последующих работ при отсутствии актов освидетельствования предшествующих скрытых работ во всех случаях.

Сборные конструкции следует устанавливать, как правило, с транспортных средств.

Предварительное складирование конструкций на приобъектных складах допускается только при соответствующем обосновании. Приобъектный склад должен быть расположен в зоне действия монтажного крана.

Перед подъемом каждого монтажного элемента необходимо проверить:

соответствие его проектной марке:

состояние закладных изделий, отсутствие грязи, снега, наледи;

наличие на рабочем месте необходимых соединительных деталей и вспомогательных материалов;

правильность и надежность закрепления грузозахватных устройств.

Строповку монтируемых элементов надлежит производить в местах, указанных в рабочих чертежах, и обеспечив их подъем и подачу к месту установки в положении, близком к проектному. При необходимости изменения мест строповки они должны быть согласованы с организацией - разработчиком рабочих чертежей.

Запрещается строповка конструкций в произвольных местах, а также за выпуски арматуры.

Монтируемые элементы следует поднимать плавно, без рывков, раскачивания и вращения, как правило, с применением оттяжек.

Поднимать конструкции следует в два приема: сначала на высоту 20 - 30 см, затем, после проверки надежности строповки, производить дальнейший подъем.

При установке монтажных элементов должны быть обеспечены:

устойчивость и неизменяемость их положения на всех стадиях монтажа;

безопасность производства работ;

прочность монтажных соединений.

До начала монтажа плит перекрытий должны быть выполнены следующие работы:

произведены предусмотренные проектом и ППР разбивочные работы;

смонтированы, выверены и скреплены по проекту наружные и внутренние стеновые панели;

доставлены на площадку и подготовлены к работе механизмы, инвентарь и приспособления.

Монтаж плит перекрытий производится в следующей последовательности:

устройство растворной постели;

установка плит перекрытий и их выверка в плане и по высоте;

проектное закрепление плит;

замоноличивание стыков между плитами перекрытий и наружными стеновыми панелями, а также между смежными плитами перекрытий.

Стыкуемые поверхности панелей внутренних стен и плит перекрытий должны быть очищены от грязи, снега, наледи и просушены сжатым воздухом.

Плиты перекрытий устанавливают на слой цементного раствора, толщина которого и марка должны быть указаны в проекте. Подвижность раствора должна составлять 5 - 7 см по глубине погружения стандартного конуса, за исключением случаев, специально оговоренных в проекте.

Применение раствора, процесс схватывания которого уже начался, а также восстановление его пластичности путем добавления воды не допускаются.

К месту укладки плиты подаются в горизонтальном положении. Если на строительную площадку плиты завозятся в вертикальном положении, то для их перевода в горизонтальное положение применяют грузозахватные приспособления с автоматическим кантователем или стационарные рамные кантователи.

Укладку плит перекрытий на каждой захватке начинают от лестничной клетки и ведут от нее последовательно в обе стороны. Первая плита при укладке принимается с подмостей, последующие укладываются со смонтированной части перекрытия.

В плане плиты укладывают с соблюдением равных площадок опирания. Глубина площадки опирания уложенных плит должна быть не менее указанной в проекте. Положение в плане установленных плит проверяют по разметке, определяющей их проектное положение на опорах, при этом следят за совмещением закладных изделий. Незначительные отклонения устраняют, рихтуя плиту монтажными ломами. Горизонтальность контролируют, укладывая в двух взаимно перпендикулярных плоскостях строительный уровень.

При наличии уклона плиту поднимают и укладывают заново, изменив толщину растворной постели.

Применение не предусмотренных проектом подкладок для выравнивания положения укладываемых плит по отметкам без согласования с проектной организацией не допускается.

После окончательной выверки плиты осуществляют ее временное закрепление, плиту расстроповывают, а затем осуществляют проектное закрепление.

Сварка металлических соединений плит перекрытий должна выполняться в соответствии с требованиями проекта. СНиП 3.03.01-87* и технологической документацией, утвержденной в установленном порядке (см. СОКК по сварке в альбоме часть II).

Изоляция стыков плит перекрытий должна выполняться в соответствии с требованиями проекта, СНиП 3.03.01-87* и технологической документацией, утвержденной в установленном порядке (см. в настоящем альбоме СОКК «Изоляция стыков крупнопанельных жилых зданий»).

Замоноличивание стыков плит перекрытий должно выполняться после проверки правильности установки плит перекрытий, приемки соединений плит перекрытий в узлах сопряжений. Замоноличивание должно выполняться в соответствии с требованиями проекта, СНиП 3.03.01-87* и технологической документацией, утвержденной в установленном порядке (см. в настоящем альбоме СОКК «Замоноличивание стыков и швов крупнопанельных жилых зданий»).

При отсутствии в рабочих чертежах специальных требований предельные отклонения от проектного положения законченных монтажом плит перекрытий не должны превышать величин, приведенных в нижеследующей таблице.

Параметр

Предельные отклонения, мм

Контроль (метод, объем, вид регистрации)

Отклонение от симметричности (половина разности глубины опирания концов плит) при установке плит перекрытий в направлении перекрываемого пролета при длине плит, м:

 

Измерительный, каждая плита, журнал работ

до 4

5

 

св. 4 до 8

6

 

Разность отметок лицевых поверхностей двух смежных непреднапряженных плит перекрытий в шве при длине плит, м:

 

Измерительный, каждая плита, журнал работ

до 4

8

 

св. 4 до 8

10

 

Глубина опирания плит перекрытий на несущие конструкции

не менее указанной в проекте

 

Требуемая точность установки плит перекрытий в проектное положение должна обеспечиваться детальными разбивочными работами (см. в данном альбоме СОКК «Геодезические работы на исходном горизонте» и «Геодезические работы на монтажном горизонте») и постоянным геодезическим (инструментальным) контролем точности выполнения монтажных операций, которые входят в технологический процесс монтажа плит перекрытий (операционный контроль качества).

Результаты контроля должны вноситься в журналы работ по монтажу строительных конструкций, сварочных работ, замоноличивания монтажных стыков и узлов.

Приемка выполненных работ по монтажу плит перекрытий осуществляется на основании следующих документов:

исполнительных чертежей с внесенными (при их наличии) отступлениями, допущенными предприятием - изготовителем плит перекрытий, а также монтажной организацией, согласованных с проектными организациями - разработчиками чертежей, и документы об их согласовании;

заводских паспортов (документов о качестве) на плиты перекрытий;

документов (сертификатов, паспортов), удостоверяющих качество материалов, примененных при производстве строительно-монтажных работ;

актов освидетельствования скрытых работ;

акты промежуточной приемки ответственных конструкций;

журналов работ;

документов о контроле качества сварных соединений;

других документов, указанных в дополнительных правилах или рабочих чертежах.

Рабочие чертежи серии 2.130-1 вып. 26 «Узлы наружных стен из однослойных легкобетонных панелей» разработаны для крупнопанельных 5 - 9 этажных жилых зданий с шагом поперечных внутренних стен 3,0 и 3,6 м, наружными стенами из однослойных легкобетонных панелей серии 1.132.1-17, предназначенных для строительства во II и III климатических районах и климатическом подрайоне IB на территориях с обычными инженерно-геологическими условиями.

Вертикальные стыки

Вертикальные стыки наружных стен из однослойных легкобетонных панелей приняты дренированного типа.

Водозащита обеспечивается мастичной герметизацией по уплотняющей прокладке. Прокладки устанавливаются в устье стыка насухо с обжатием на 25 - 50 % диаметра (толщины) их поперечного сечения. Уплотняющие прокладки следует устанавливать в стыки только после окончания монтажа этажа. Монтаж панелей с заранее закрепленными на них прокладками не допускается.

Нетвердеющие мастики следует укладывать в устье стыка без разрывов и наплывов с помощью электрогерметизаторов типа «Шмель» и «Стык», отверждающиеся мастики - наносить с помощью пневматических или ручных шприцев, либо шпателями.

Запрещается:

навесить отверждающиеся мастики кистью;

наносить герметизирующие мастики на пыльные и влажные поверхности;

при смешивании составляющих двухкомпонентных отверждающихся мастик изменять соотношение компонентов, указанное в паспорте на материал, или добавлять в них растворители.

Для защиты герметизирующих мастик от атмосферно-климатических воздействий необходимо применять следующие покрытия: полимерцементные растворы, ПХВ, бутадиенстирольные и кумаронокаучуковые краски. В стыках панелей первого этажа допускаются только полимерцементные растворы марки М100.

Защитные покрытия на нетвердеющие мастики наносятся непосредственно после герметизации стыков, на отверждающиеся мастики - после их отверждения, но не ранее, чем через сутки после герметизации стыков. Применять в качестве защитного покрытия цементно-песчаный раствор запрещается.

Для поэтажного отвода воды, проникающей за зону изоляции в месте пересечения вертикального и горизонтального стыков устраивается дренажное отверстие с наклейкой водоотводящих фартуков размером 220×270 мм толщиной 3 - 4 мм из резинового листа по ГОСТ 7338-90 или фольгоизола по ГОСТ 20429-84*.

Для наклейки фартуков из фольгоизола применяются резинобитумные мастики, фартуки из резинового листа наклеиваются на клеях типа КН.

Для повышения качества герметизации и для защиты от увлажнения грани панелей, образующие стыки должны быть покрыты грунтовками.

Воздухозащита вертикальных стыков осуществляется проклейкой стыка с внутренней стороны в «колодцах» воздухозащитными лентами (ленты ЛГМ, «Герволент», бутилкаучуковые и т.д.).

Ленты наклеиваются поэтажно, до монтажа внутренних стен. Соединение лент необходимо выполнять «внахлест», места соединения должны располагаться выше горизонтального стыка не менее чем на 30 см. При этом конец нижерасположенной ленты следует наклеивать поверх ленты, устанавливаемой в стыке монтируемого этажа. Наклейка лент производится на мастиках тина КН.

Запрещается:

применять в качестве оклеечной воздухоизоляции рубероид и пергамин;

соединять ленты по высоте до замоноличивания «колодцев» стыков нижерасположенного этажа.

Утепление стыков осуществляется поэтажно, до монтажа внутренних стеновых панелей плитами пенопласта полистирольного ПСБ-С по ГОСТ 15588-86 или других теплоизолирующих материалов, например, минераловатных (ГОСТ 9573-96) или стекловолокнистых (ГОСТ 10499-95) жестких плит с содержанием органических связок не более 6 % по весу.

Материалы, применяемые для утепления стыков, обладающие повышенной влагоемкостью (например, минераловатные плиты), должны быть оклеены алюминиевой фольгой, рубероидом и т.п. материалами или обернуты полиэтиленовой пленкой (ГОСТ 10354-82*) или полиэтиленовой лентой с липким слоем (ГОСТ 20477-86*), толщиной 0,25 - 0,3 мм.

Толщина утепляющего пакета в обжатом состоянии не должна быть более 70 мм; сжимаемость материала принятого утеплителя под нагрузкой от бетона замоноличивания не должна превышать 6 %.

Соединение панелей между собой и с внутренними стенами осуществляется в двух уровнях: в верхней и нижней опорных зонах. В верхнем уровне применяются металлические связи в виде «полускоб», а в нижнем уровне - «скоб». «Скобы» и «полускобы» приняты из стержневой горячекатаной гладкой стали класса A-I диаметром 12 мм (ГОСТ 5781-82*).

Соединение «полускоб» между собой и с закладными изделиями внутренней стены осуществляется ручной электродуговой сваркой. «Скобы» с петлевыми выпусками из панелей наружных стен допускается соединять точечными монтажными прихватками в местах их взаимного пересечения.

Замоноличивание колодцев вертикальных стыков наружных стен осуществляется тяжелым бетоном класса по прочности на сжатие не менее В15 с крупным заполнителем фракций не более 10 мм.

Бетонная смесь укладывается слоями высотой не более 0,5 м с уплотнением каждого слоя глубинными вибраторами.

В отдельных узлах, где необходимо повысить жесткость сопряжения до бетонирования, для соединения панелей применяется стальная полоса.

Горизонтальные стыки

Панели наружных стен устанавливаются на слой цементно-песчаного раствора толщиной 20 мм. Марка раствора назначается в рабочих чертежах конкретного здания.

Воздухозащита горизонтальных стыков обеспечивается упругой уплотняющей прокладкой, укладываемой на клею у основания верхнего гребня наружных стеновых панелей. В месте пересечения с вертикальными швами уплотняющая прокладка имеет разрыв для устройства дренирующего отверстия. В этом месте уплотняющая прокладка размещается на верхнем гребне панели на длине фартука.

Прокладки в стыке должны быть обжаты не менее чем на 25 % диаметра высоты их поперечного сечения. Соединение прокладок по длине производить на «ус».

Герметизация горизонтальных стыков выполняется нетвердеющими или отвергающимися мастиками по уплотняющим прокладкам. Требования к мастикам и способы заполнения швов мастикой изложены выше.

Утепление горизонтальных стыков производится плитами пенопласта полистирольного ПСБ-С (ГОСТ 15558-86) толщиной 30 мм, укладываемыми впритык без зазоров, или другими теплоизолирующими материалами.

Изоляция стыков в зимнее время. При устройстве изоляции стыков в зимних условиях необходимо выполнять следующие требования:

стыкуемые поверхности сборных элементов должны быть очищены от снега и просушены сжатым воздухом (применение для этой цели открытого пламени и пара не допускается);

изолирующие материалы (герметизирующие мастики, уплотняющие прокладки, воздухозащитные ленты, клеи) перед их применением должны выдерживаться в теплом помещении в течение суток;

нетвердеющие мастики укладывать в стык подогретыми до температуры от плюс 30 °С до плюс 40 °С;

работы по нанесению нетвердеющих мастик должны производиться при температуре наружного воздуха не ниже минус 20 °С;

отверждающиеся мастики, укладываемые в стык, должны иметь положительную температуру (производить подогрев отверждающихся мастик до температуры выше плюс 30 °С не допускается).

Необходимость и способы антикоррозионной защиты закладных изделий и монтажных соединительных элементов принимается при привязке проекта с учетом требований СНиП 2.03.11-85.

Узлы наружных стен из однослойных легкобетонных панелей по серии 2.130-1 выпуск 26

Схема размещения узлов


УЗЛЫ 1 - 1, 1 - 2

УЗЛЫ 2 - 1, 2 - 2

УЗЛЫ 3 - 1, 3 - 2

УЗЛЫ 4 - 1, 4 - 2

УЗЛЫ 5 - 1, 5 - 2

УЗЛЫ 10 - 1, 10 - 2


Требования к материалам, применяемым для изоляции стыков

Наименование материала

Примечания

Герметизирующие мастики

Мастика герметизирующая нетвердеющая строительная (ГОСТ 14791-79)

Интервал температур эксплуатации от минус 40 °С до плюс 70 °С; работы по нанесению следует выполнять при температурах не ниже минус 20 °С.

Отверждающиеся тиоколовые мастики марок У-30М; УТ-31 (ГОСТ 13489-79*); АМ-0,5; КБ-0,5; (ТУ 84-246-85)

Интервал температур эксплуатации от минус 50 °С до плюс 70 °С; работы по нанесению следует выполнять при положительных температурах окружающего воздуха.

Отверждающаяся однокомпонентная герметизирующая мастика (ТУ 21-29-113-84)

Интервал температур эксплуатации: мастика типа «О» - от минус 40 °С до плюс 70 °С; мастика типа «М» - от минус 60 °С до плюс 80 °С; работы по нанесению следует выполнять при положительных температурах окружающего воздуха.

Отверждающаяся кремний-органическая мастика «Эластосил 11-06» (ТУ 6-02-775-76)

Интервал температур эксплуатации от минус 55 °С до плюс 90 °С; работы по нанесению следует выполнять при температуре не ниже минус 10 °С.

Уплотняющие прокладки

Прокладки резиновые пористые уплотняющие (ГОСТ 19177-81)

Интервал температур эксплуатации от минус 30 °С до плюс 70 °С; для морозостойких прокладок - от минус 60 °С до плюс 50 °С.

Прокладка полиэтиленовые уплотняющие «Вилатерм-СМ» (ТУ 6-05-2048-87)

Интервал температур эксплуатации от минус 60 °С до плюс 70 °С.

Воздухозащитные ленты

Лента воздухозащитная «Герволент» (ТУ 21-29-46-84)

Интервал температур эксплуатации от минус 40 °С до плюс 80 °С; наклеивается на клеях типа КН или клее-герметике 51-Г-18

Грунтовочные и клеящие составы

Мастики клеящие каучуковые КН-2 и КН-3 (ГОСТ 24064-80)

Наносятся кистью, шпателем или набрызгом.

Праймер 141-50 (ТУ 6-02-983-75)

Применяется для огрунтовки перед нанесением герметика «Эластосил».

Установка вентиляционных блоков

Технические требования

ГОСТ 17079-88 Блоки вентиляционные железобетонные. Технические условия.

ТУ 5896-003-3984346-94 Блоки вентиляционные железобетонные.

ТУ 5896-009-20808230-99 Блоки вентиляционные железобетонные.

ТУ 5896-006-16415648-96 Блоки вентиляционные гипсобетонные.

ГОСТ 28013-98 Растворы строительные. Общие технические условия.

Государственные стандарты и технические условия на вентиляционные блоки и другие материалы, предусмотренные проектом.

СНиП 3.03.01-87 Несущие и ограждающие конструкции.

СНиП 3.01.01-85* Организация строительного производства.

Монтаж вентиляционных блоков должен осуществляться в соответствии с требованиями проекта, СНиП 3.01.01-85*, СНиП 3.03.01-87, ППР, технологических карт, схем операционного контроля качества СМР и другой технологической документации, утвержденной в установленном порядке.

Монтаж вентиляционных блоков должны осуществлять строительно-монтажные организации, получившие лицензию на выполнение строительно-монтажных работ в Федеральных или местных лицензионных органах.

Строительно-монтажные работы должны выполняться квалифицированным персоналом, прошедшим специальную подготовку и обладающими надлежащими навыками по монтажу строительных конструкций.

Производству работ по монтажу вентиляционных блоков должны предшествовать:

- разработка проектов производства работ как на возведение здания, так и на выполнение отдельных видов работ; разработка технологических карт и схем операционного контроля качества СМР на выполнение отдельных видов работ (с использованием соответствующей типовой документации);

- проверка неизменности положения знаков разбивочной сети здания (сооружения); выполнение геодезических работ по созданию внутренней разбивочной сети здания (сооружения); детальные разбивочные работы на исходном и монтажных горизонтах;

- входной контроль проектно-сметной документации, вентиляционных блоков и других материалов;

- изучение инженерно-техническим персоналом проектной и технологической документации.

Контролируемые операции

Состав и средства контроля

Документация

Подготовительные работы

Проверить:

- наличие проекта, ППР, технологических карт, схем операционного контроля качества;

- завершение и надлежащее оформление предшествующих монтажных работ по установке плит перекрытий и вентиляционных блоков предыдущего этажа (наличие актов освидетельствования скрытых работ, геодезических исполнительных схем и другой приемо-сдаточной документации);

- наличие паспортов и полноту содержащихся в них данных на поступившие на строительную площадку вентиляционные блоки, соответствие их требованиям проекта; маркировку блоков и наличие штампа ОТК;

- внешним осмотром сохранность и отсутствие недопустимых дефектов внешнего вида на поступивших изделиях и материалах; очистку опорных поверхностей от загрязнений; разметку блоков и разбивку опорных поверхностей.

Проект, ППР, схемы операционного контроля качества

Акт приемки, акты освидетельствования скрытых работ, исполнительные схемы

Паспорта

Общий журнал работ

Установка вентиляционных блоков

Контролировать:

- соблюдение заданной ППР (технологической картой) технологии монтажа вентиляционных блоков;

- установку блоков в проектное положение;

- качество заделки стыков.

Общий и специальный журналы работ

Исполнительные схемы

Приемка

Проверить:

- соответствие фактического положения вентиляционных блоков требованиям проекта и нормативных документов;

- соответствие качества работ по замоноличиванию и заделке стыков требованиям проекта и нормативных документов;

- составление и надлежащее оформление приемо-сдаточной документации.

Общий и специальный журналы работ

Акты приемки

Акты освидетельствования скрытых работ, исполнительные схемы

ВХОДНОЙ И ОПЕРАЦИОННЫЙ КОНТРОЛЬ осуществляют:

мастер (прораб), лаборант (инженер), геодезист - в процессе выполнения работ

ПРИЕМОЧНЫЙ КОНТРОЛЬ ОСУЩЕСТВЛЯЮТ:

прораб (мастер), представители технадзора заказчика

КИП - линейка и рулетка измерительные металлические, нивелир, теодолит и другие геодезические и лабораторные приборы и инструмент.

Входной контроль вентиляционных блоков и других, предусмотренных проектом материалов должен производиться в соответствии с требованиями стандартов технических условий на конструкции и материалы в порядке, предусмотренном технологическими картами или другой технологической документацией, утвержденной в установленном порядке.

Технические требования к вентиляционным блокам приведены в настоящем альбоме в СОКК «Входной контроль качества сборных бетонных и железобетонных изделий и конструкций», технические требования к строительным растворам - в альбоме часть I, выпуск 1 в СОКК «Входной контроль строительных растворов».

Требования к разбивочным геодезическим работам приведены в данном альбоме в СОКК «Геодезические работы на исходном горизонте» и «Геодезические работы на монтажном горизонте».

Работы по возведению зданий и сооружений должны производиться по утвержденному проекту производства работ (ППР), в котором наряду с общими требованиями СНиП 3.01.01-85* должны быть предусмотрены: последовательность установки конструкций; мероприятия, обеспечивающие требуемую точность установки; пространственную неизменяемость конструкций в процессе установки в проектное положение; устойчивость конструкций в процессе возведения.

Запрещается осуществление строительно-монтажных работ без утвержденного проекта производства работ. Не допускаются отступления от решений проектов производства работ без согласования с организациями, разработавшими и утвердившими их.

Монтаж конструкций каждого вышележащего этажа многоэтажного здания следует производить после проектного закрепления всех монтажных элементов и достижения бетоном (раствором) замоноличенных стыков несущих конструкций прочности, указанной в ППР, после освидетельствования или приемки ранее выполненных скрытых работ или ответственных конструкций.

Скрытые работы подлежат освидетельствованию с составлением актов. Акт освидетельствования скрытых работ должен составляться на завершенный процесс, выполненный самостоятельным подразделением исполнителей.

Освидетельствование скрытых работ и составление акта в случаях, когда последующие работы должны начинаться после перерыва, следует производить непосредственно перед производством последующих работ.

Запрещается выполнение последующих работ при отсутствии актов освидетельствования предшествующих скрытых работ во всех случаях.

Сборные конструкции следует устанавливать, как правило, с транспортных средств.

Предварительное складирование конструкций на приобъектных складах допускается только при соответствующем обосновании. Приобъектный склад должен быть расположен в зоне действия монтажного крана.

Перед подъемом каждого монтажного элемента необходимо проверить:

соответствие его проектной марке;

состояние установочных рисок, отсутствие грязи, снега, наледи, повреждений отделки;

наличие на рабочем месте необходимых соединительных деталей и вспомогательных материалов;

правильность и надежность закрепления грузозахватных устройств.

Строповку монтируемых элементов надлежит производить в местах, указанных в рабочих чертежах, и обеспечить их подъем и подачу к месту установки в положении, близком к проектному. При необходимости изменения мест строповка они должны быть согласованы с организацией - разработчиком рабочих чертежей.

Запрещается строповка конструкций в произвольных местах.

Монтируемые элементы следует поднимать плавно, без рывков, раскачивания и вращения, как правило, с применением оттяжек.

Поднимать конструкции следует в два приема: сначала на высоту 20 - 30 см, затем, после проверки надежности строповки, производить дальнейший подъем.

При установке монтажных элементов должны быть обеспечены:

устойчивость и неизменяемость их положения на всех стадиях монтажа;

безопасность производства работ;

точность их положения с помощью постоянного геодезического контроля;

До начала монтажа вентиляционных блоков должны быть произведены предусмотренные проектом и ППР разбивочные работы (геодезическая разбивка осей с нанесением на плитах перекрытий ориентирных рисок для установки блоков в проектное положение).

Установка вентиляционных блоков производится в следующей последовательности: подготовка блока к строповке; строповка; подъем и подача блока; устройство растворной постели; прием блока; установка и выверка блока; временное закрепление и расстроповка; заделка стыков.

Стыкуемые поверхности вентиляционных блоков и плит перекрытий должны быть очищены от грязи, снега и наледи.

Строповка блоков универсальной траверсой производится с верхней площадки пирамиды (кассеты) после проверки надежности монтажных петель.

Устанавливают вентиляционные блоки через проемы смонтированного перекрытия. Поданный к месту установки вентиляционный блок принимается на уровне 30 см от перекрытия и ориентируется над проемом. По команде с нижележащего этажа блок опускается и устанавливается в проектное положение.

Вентиляционные блоки устанавливают на слой цементного раствора, толщина которого и марка должны быть указаны в проекте. Подвижность раствора должна составлять 5 - 7 см по глубине погружения стандартного конуса, за исключением случаев, специально оговоренных в проекте.

Применение раствора, процесс схватывания которого уже начался, а также восстановление его пластичности путем добавления воды не допускаются.

Для предотвращения попадания раствора в каналы вентиляционных блоков его расстилают по верху блока с применением специальных металлических шаблон-рамок с заглушками. После укладки раствора рамки снимают и устанавливают монтируемый блок.

При установке вентиляционных блоков необходимо следить за совмещением каналов и тщательностью заполнения горизонтальных швов раствором. Выверку вентиляционных блоков следует выполнять, совмещая оси двух взаимно перпендикулярных граней устанавливаемых блоков в уровне нижнего сечения с рисками осей нижестоящего блока. Относительно вертикальной плоскости блоки следует устанавливать, выверяя плоскости двух взаимно перпендикулярных граней. Стыки вентиляционных каналов блоков следует тщательно очищать от раствора и не допускать попадания его и других посторонних предметов в каналы.

После установки и выверки вентиляционные блоки временно закрепляют накидными струбцинами, подкосами, штангами, деревянными клиньями и т.д.

Наружные швы между блоками тщательно затираются, а зазор между блоками и плитами перекрытий замоноличивается согласно проекту.

При отсутствии в рабочих чертежах специальных требований предельные отклонения от проектного положения законченных монтажом вентиляционных блоков не должны превышать величин, приведенных в нижеследующей таблице.

Параметр

Предельные отклонения, мм

Контроль (метод, объем, вид регистрации)

Отклонение от совмещения ориентиров (рисок геометрических осей) в нижнем сечении вентиляционных блоков с установочными ориентирами (рисками геометрических или разбивочных осей)

8

Измерительный, каждый блок, геодезическая исполнительная схема

Отклонение от вертикали верха плоскостей вентиляционных блоков

10

Измерительный, каждый блок, геодезическая исполнительная схема

Требуемая точность установки вентиляционных блоков в проектное положение должна обеспечиваться детальными разбивочными работами (см. в данном альбоме СОКК «Геодезические работы на исходном горизонте» и «Геодезические работы на монтажном горизонте») и постоянным геодезическим (инструментальным) контролем точности выполнения монтажных операций, которые входят в технологический процесс монтажа вентиляционных блоков (операционный контроль качества).

Точность установки низа и верха вентиляционных блоков должна регламентироваться ППР. При этом контроль за точностью совмещения ориентиров в нижнем сечении блоков может осуществляться с помощью теодолитов, нитяного отвеса или шаблонов, а контроль за вертикальностью верха плоскостей блоков может осуществляться с помощью теодолита, рейки-отвеса, рейки-уровня и т.п.

Положение вентиляционных блоков по ходу монтажа и по завершении его при приемке выполненных работ должны фиксироваться на геодезических исполнительных схемах.

Приемка выполненных работ no монтажу вентиляционных блоков осуществляется на основании следующих документов:

исполнительных чертежей с внесенными (при их наличии) отступлениями, допущенными предприятием - изготовителем вентиляционных блоков, а также монтажной организацией, согласованными с проектными организациями - разработчиками чертежей, и документов об их согласовании;

заводских паспортов (документов о качестве) на вентиляционные блоки;

документов (сертификатов, паспортов), удостоверяющих качество материалов, примененных при производстве строительно-монтажных работ;

актов освидетельствования скрытых работ;

актов промежуточной приемки ответственных конструкций;

исполнительных геодезических схем положения вентиляционных блоков;

журналов работ;

других документов, указанных в дополнительных правилах или рабочих чертежах.

Установка объемных блоков шахт лифтов

Технические требования

ГОСТ 17538-82* Конструкция и изделия железобетонные для шахт лифтов жилых зданий. Технические условия.

ТУ 5896-008-07828469-96 Изделия шахт лифтов железобетонные для жилых зданий.

ТУ 5896-034-03984416-99 Элементы шахт лифтов железобетонные.

ТУ 5896-008-28088230-97 Конструкции и изделия железобетонные для шахт лифтов жилых и общественных зданий.

ТУ 5896-126-01393898-94 Конструкции и изделия железобетонные для шахт лифтов.

ГОСТ 28013-98 Растворы строительные. Общие технические условия.

Государственные стандарты и технические условия на конструкции и изделия для шахт лифтов и другие материалы, предусмотренные проектом.

СНиП 3.03.01-87 Несущие и ограждающие конструкции.

СНиП 3.01.01-85* Организация строительного производства.

Установка объемных блоков шахт лифтов должна осуществляться в соответствии с требованиями проекта, СНиП 3.01.01-85*, СНиП 3.03.01-87, ППР, технологических карт, схем операционного контроля качества СМР и другой технологической документации, утвержденной в установленном порядке.

Установку объемных блоков шахт лифтов должны осуществлять строительно-монтажные организации, получившие лицензию на выполнение строительно-монтажных работ в Федеральных или местных лицензионных органах.

Строительно-монтажные работы должны выполняться квалифицированным персоналом, прошедшим специальную подготовку и обладающими надлежащими навыками по монтажу строительных конструкций.

Производству работ по установке объемных блоков шахт лифтов должны предшествовать:

- разработка проектов производства работ как на возведение здания, так и на выполнение отдельных видов работ; разработка технологических карт и схем операционного контроля качества СМР на выполнение отдельных видов работ (с использованием соответствующей типовой документации);

- проверка неизменности положения знаков разбивочной сети здания (сооружения); выполнение геодезических работ по созданию внутренней разбивочной сети здания (сооружения); детальные разбивочные работы на исходном и монтажных горизонтах;

- входной контроль проектно-сметной документации, железобетонных конструкций и изделий для шахт лифтов и других материалов;

- изучение инженерно-техническим персоналом проектной и технологической документации.

Контролируемые операции

Состав и средства контроля

Документация

Подготовительные работы

Проверить:

- наличие проекта, ППР, технологических карт, схем операционного контроля качества;

- завершение и надлежащее оформление предшествующих монтажных работ по установке плит перекрытий и объемных блоков шахт лифтов предыдущего этажа (наличие актов освидетельствования скрытых работ, геодезических исполнительных схем и другой приемосдаточной документации);

- наличие паспортов и полноту содержащихся в них данных на поступившие на строительную площадку объемные блоки шахт лифтов, соответствие их требованиям проекта; маркировку блоков и наличие штампа ОТК;

Проект, ППР, схемы операционного контроля качества

Акт приемки, акты освидетельствования скрытых работ, исполнительные схемы

Паспорта

- внешним осмотром сохранность и отсутствие недопустимых дефектов внешнего вида на поступивших изделиях и материалах; очистку опорных поверхностей от загрязнений; разметку блоков и разбивку опорных поверхностей.

Общий журнал работ

Установка объемных блоков шахт лифтов

Контролировать:

- соблюдение заданной ППР (технологической картой) технологии монтажа объемных блоков шахт лифтов;

- установку блоков в проектное положение;

- качество заделки стыков.

Общий и специальный журналы работ

Исполнительные схемы

Приемка

Проверить:

- соответствие фактического положения объемных блоков шахт лифтов требованиям проекта и нормативных документов;

Общий и специальный журналы работ

- соответствие качества работ по замоноличиванию и заделке стыков требованиям проекта и нормативных документов;

- составление и надлежащее оформление приемо-сдаточной документации.

Акты приемки

Акты освидетельствования скрытых работ, исполнительные схемы

ВХОДНОЙ И ОПЕРАЦИОННЫЙ КОНТРОЛЬ осуществляют:

мастер (прораб), лаборант (инженер), геодезист - в процессе выполнения работ

ПРИЕМОЧНЫЙ КОНТРОЛЬ ОСУЩЕСТВЛЯЮТ:

прораб (мастер), представители технадзора заказчика

КИП - линейка и рулетка измерительные металлические, нивелир, теодолит и другие геодезические и лабораторные приборы и инструмент.

При входном контроле рабочей документации должна производиться проверка ее комплектности и достаточности содержащейся в ней технической информации для производства работ.

Входной контроль железобетонных конструкций и изделий для шахт лифтов и других предусмотренных проектом материалов должен производиться в соответствии с требованиями стандартов и технических условий на конструкции и материалы в порядке, предусмотренном технологическими картами или другой технологической документацией, утвержденной в установленном порядке.

Технические требования к объемным блокам шахт лифтов приведены в настоящем альбоме в СОКК «Входной контроль качества сборных бетонных и железобетонных изделий и конструкций», технические требования к строительным растворам - в альбоме часть I, выпуск 1 в СОКК «Входной контроль строительных растворов».

Требования к разбивочным геодезическим работам приведены в данном альбоме в СОКК «Геодезические работы на исходном горизонте» и «Геодезические работы на монтажном горизонте».

Работы по возведению зданий и сооружений должны производиться по утвержденному проекту производству работ (ППР), в котором наряду с общими требованиями СНиП 3.01.01-85* должны быть предусмотрены: последовательность установки конструкций; мероприятия, обеспечивающие требуемую точность установки; пространственную неизменяемость конструкций в процессе установки в проектное положение; устойчивость конструкций в процессе возведения.

Запрещается осуществление строительно-монтажных работ без утвержденного проекта производства работ. Не допускаются отступления от решений проектов производства работ без согласования с организациями, разработавшими и утвердившими их.

Монтаж конструкций каждого вышележащего этажа многоэтажного здания следует производить после проектного закрепления всех монтажных элементов и достижения бетоном (раствором) замоноличенных стыков несущих конструкций прочности, указанной в ППР, после освидетельствования или приемки ранее выполненных скрытых работ или ответственных конструкций.

Скрытые работы подлежат освидетельствованию с составлением актов. Акт освидетельствования скрытых работ должен составляться на завершенный процесс, выполненный самостоятельным подразделением исполнителей.

Освидетельствование скрытых работ и составление акта в случаях, когда последующие работы должны начинаться после перерыва, следует производить непосредственно перед производством последующих работ.

Запрещается выполнение последующих работ при отсутствии актов освидетельствования предшествующих скрытых работ во всех случаях.

Сборные конструкции следует устанавливать, как правило, с транспортных средств.

Предварительное складирование конструкций на приобъектных складах допускается только при соответствующем обосновании. Приобъектный склад должен быть расположен в зоне действия монтажного крана.

Перед подъемом каждого монтажного элемента необходимо проверить:

соответствие его проектной марке;

состояние установочных рисок, отсутствие грязи, снега, наледи, повреждений отделки;

наличие на рабочем месте необходимых соединительных деталей и вспомогательных материалов;

правильность и надежность закрепления грузозахватных устройств.

Строповку монтируемых элементов надлежит производить в местах, указанных в рабочих чертежах, и обеспечить их подъем и подачу к месту установки в положении, близком к проектному. При необходимости изменения мест строповки они должны быть согласованы с организацией - разработчиком рабочих чертежей.

Запрещается строповка конструкций в произвольных местах.

Монтируемые элементы следует поднимать плавно, без рывков, раскачивания и вращения, как правило, с применением оттяжек.

Поднимать конструкции следует в два приема: сначала на высоту 20 - 30 см, затем, после проверки надежности строповки, производить дальнейший подъем.

При установке монтажных элементов должны быть обеспечены:

устойчивость и неизменяемость их положения на всех стадиях монтажа;

безопасность производства работ;

точность их положения с помощью постоянного геодезического контроля;

До начала установки объемных блоков шахт лифтов должны быть произведены предусмотренные проектом и ППР разбивочные работы (геодезическая разбивка осей с нанесением на плитах перекрытий ориентирных рисок для установки блоков в проектное положение).

Установка объемных блоков шахт лифтов производится в следующей последовательности: подготовка блока к строповке; строповка; подъем и подача блока; прием блока; установка и выверка блока; заделка стыков.

Стыкуемые поверхности объемных блоков шахт лифтов должны быть очищены от грязи, снега и наледи.

Строповка блоков производится согласно указаниям ППР. К месту монтажа их подают, как правило, универсальной траверсой. Строповка крюками чалочных ветвей траверсы, имеющей уравнительные канаты, производится за диагонально расположенные подъемные петли блока.

Инвентарный настил, перекрывающий шахту лифта, снимают непосредственно перед монтажом следующего блока, при этом внутри нижерасположенного блока должен быть установлен поэтажный щит-настил.

Сразу же после установки блока в его дверном проеме устраивают временное ограждение, а после установки вышерасположенной плиты перекрытия укладывают инвентарный настил, перекрывающий шахту лифта.

Монтаж шахт лифта выполняется с опережением монтажа примыкающих конструкций здания не более чем на один блок.

После установки блока в проектное положение монтажные петли должны быть срезаны.

Точный монтаж блоков шахт лифтов обеспечивается с помощью фиксирующих стыковочных устройств.

Горизонтальные стыки между блоками зачеканиваются жестким мелкозернистым бетоном класса по прочности В12,5 или жестким раствором марки M150 с установкой упорных досок с одной стороны шва. При этом необходимо обращать внимание на тщательное заполнение швов.

Объемные блоки шахт лифтов следует монтировать, как правило, с установленными в них кронштейнами для закрепления направляющих кабин и противовесов. Низ объемных блоков шахт лифтов необходимо устанавливать по ориентирным рискам, вынесенным на перекрытие от разбивочных осей и соответствующим проектному положению двух взаимно перпендикулярных стен блока (передней и одной из боковых). Относительно вертикальной плоскости блоки следует устанавливать, выверяя грани двух взаимно перпендикулярных стен блока.

Шахта лифта по всей своей высоте должна быть отделена от окружающих конструкций здания. В уровне каждого перекрытия по контуру шахты необходимо обеспечить зазор шириной 20 мм, заполняемый специальными упругими (звукоизолирующими) прокладками. Опирание на шахту лифта или жесткое примыкание к ней смежных элементов конструкций здания категорически запрещается.

При отсутствии в рабочих чертежах специальных требований предельные отклонения от проектного положения законченных монтажом объемных блоков шахт лифтов не должны превышать величин, приведенных в нижеследующей таблице.

Параметр

Предельные отклонения, мм

Контроль (метод, объем, вид регистрации)

Отклонение от совмещения ориентиров (рисок геометрических осей) в нижнем сечении объемных блоков шахт лифтов с установочными ориентирами (рисками геометрических или разбивочных осей)

8

Измерительный, каждый блок, геодезическая исполнительная схема

Отклонение от вертикали верха плоскостей блоков шахт лифтов

10

Измерительный, каждый блок, геодезическая исполнительная схема

Отклонение по высоте порога дверного проема объемного элемента шахты лифта относительно посадочной площадки

± 10

Измерительный, каждый блок, геодезическая исполнительная схема

Отклонение от перпендикулярности внутренней поверхности стен ствола шахты лифта относительно горизонтальной плоскости (пола приямка)

30 (ГОСТ 22845-85*)

Измерительный, каждый блок, геодезическая исполнительная схема

Требуемая точность установки объемных блоков шахт лифтов в проектное положение должна обеспечиваться детальными разбивочными работами (см. в данном альбоме СОКК «Геодезические работы на исходном горизонте» и «Геодезические работы на монтажном горизонте») и постоянным геодезическим (инструментальным) контролем точности выполнения монтажных операций, которые входят в технологический процесс монтажа объемных блоков шахт лифтов (операционный контроль качества).

Точность установки низа в верха объемных блоков шахт лифтов должна регламентироваться ППР. При этом контроль за точностью совмещения ориентиров в нижнем сечении блоков может осуществляться с помощью теодолитов, нитяного отвеса или шаблонов, а контроль за вертикальностью верха плоскостей блоков может осуществляться с помощью теодолита, рейки-отвеса, рейки-уровня и т.п.

Положение объемных блоков шахт лифтов по ходу монтажа и по завершении его при приемке выполненных работ должны фиксироваться на геодезических исполнительных схемах.

Приемка выполненных работ по установке объемных блоков шахт лифтов осуществляется на основании следующих документов:

исполнительных чертежей с внесенными (при их наличии) отступлениями, допущенными предприятием - изготовителем объемных блоков шахт лифтов, а также монтажной организацией, согласованными с проектными организациями - разработчиками чертежей, и документов об их согласовании;

заводских паспортов (документов о качестве) на блоки шахт лифтов;

документов (сертификатов, паспортов), удостоверяющих качество материалов, примененных при производстве строительно-монтажных работ;

актов освидетельствования скрытых работ;

актов промежуточной приемки ответственных конструкций;

исполнительных геодезических схем положения объемных блоков шахт лифтов;

журналов работ;

других документов, указанных в дополнительных правилах или рабочих чертежах.

Указания по монтажу объемных блоков шахт лифтов из серии 1.189.1-11 Конструкции железобетонные для шахт пассажирских лифтов жилых зданий с высотой этажа 3,0 м (выпуск 1 и 2)

На наружных боковых плоскостях объемных блоков шахты несмываемой краской должны быть нанесены риски геометрических осей блоков.

Монтаж объемных блоков шахты лифтов следует выполнять с опережением монтажа примыкающих конструкций здания на один блок.

Конструкция объемных блоков шахты разработана с учетом требований к наличию устройств для самофиксации при монтаже. Каждый последующий блок устанавливается на предыдущий через штыревой выпуск на монтажные подкладки.

Штыревой выпуск фиксирует блок над шахтой на высоте 5 ÷ 8 см от блока, смонтированного ранее. В этом положении выполняется совмещение рисок геометрических осей блоков, после чего верхний блок опускают на монтажные подкладки и выполняют корректировку его положения. Корректировка положения блоков по высоте (устранение крена) выполняется с помощью съемных монтажных приспособлений ММ1, снабженных вывинчивающимся стержнем и устанавливаемых на задней и боковой стенках блоков. После выверки блока в шов устанавливают стальные прокладки и зачеканивают его цементным раствором.

Контроль вертикальности блоков шахт лифтов необходимо выполнять в двух взаимно перпендикулярных плоскостях по уровню.

F            Отклонение верха шахты от вертикали не должно превышать 1/1000 высоты шахты; отклонение блоков в плане не должно превышать ± 5 мм; отклонение по высоте порога двери шахты от плоскости чистого пола прилегающей площадки не должно превышать ± 5 мм.

После установки блоков в проектное положение монтажные петли необходимо срезать (кроме верхнего блока).

После монтажа блоков зачеканку швов между ними выполнять цементным раствором марки 100 с предварительной установкой упорных досок с другой стороны швов. Снятие монтажных приспособлений ММ1 допускается только после набора прочности растворным швом не менее 50 % проектной прочности. Все гнезда и отверстия в стенах блоков после монтажа оборудования необходимо заделать цементным раствором марки 100 или бетоном класса по прочности на сжатие B15.

Шахта лифтов по всей своей высоте должна быть отделена от примыкающих конструкций здания. В уровне каждого перекрытия по контуру шахты должен быть обеспечен зазор шириной не менее 20 мм, заполняемый специальными упругими и звукоизолирующими прокладками, обжатыми на 30 ÷ 50 %. Опирание на шахту конструкций здания запрещается.

Гидроизоляционное покрытие поверхностей нижних блоков шахты назначается в проекте в зависимости от конкретных грунтовых условий.



Установка санитарно-технических кабин

Технические требования

ГОСТ 18048-80* Кабины санитарно-технические железобетонные. Технические условия.

ТУ 5897-005-16415648-96 Кабины санитарно-технические гипсобетонные монолитные.

ТУ 5897-016-07828469-96 Кабины санитарно-технические железобетонные для жилых зданий.

ТУ 5897-017-03984346-96 Поддоны железобетонные для сантехкабин.

ТУ 254-3985036-94 Кабины санитарно-технические железобетонные сборные.

ГОСТ 28013-98 Растворы строительные. Общие технические условия.

Государственные стандарты и технические условия на кабины санитарно-технические и другие материалы, предусмотренные проектом.

СНиП 3.03.01-87 Несущие и ограждающие конструкции.

СНиП 3.01.01-85* Организация строительного производства.

Установка санитарно-технических кабин должна осуществляться в соответствии с требованиями проекта, СНиП 3.01.01-85*, СНиП 3.03.01-87, ППР, технологических карт, схем операционного контроля качества СМР и другой технологической документации, утвержденной в установленном порядке.

Установку санитарно-технических кабин должны осуществлять строительно-монтажные организации, получившие лицензию на выполнение строительно-монтажных работ в Федеральных или местных лицензионных органах.

Строительно-монтажные работы должны выполняться квалифицированным персоналом, прошедшим специальную подготовку и обладающими надлежащими навыками по монтажу строительных конструкций.

Производству работ по установке санитарно-технических кабин должны предшествовать:

- разработка проектов производства работ как на возведение здания, так и на выполнение отдельных видов работ; разработка технологических карт и схем операционного контроля качества СМР на выполнение отдельных видов работ (с использованием соответствующей типовой документации);

- проверка неизменности положения знаков разбивочной сети здания (сооружения); выполнение геодезических работ по созданию внутренней разбивочной сети здания (сооружения); детальные разбивочные работы на исходном и монтажных горизонтах;

- входной контроль проектно-сметной документации, санитарно-технических кабин и других материалов;

- изучение инженерно-техническим персоналом проектной и технологической документации.

Контролируемые операции

Состав и средства контроля

Документация

Подготовительные работы

Проверить:

- наличие проекта, ППР, технологических карт, схем операционного контроля качества;

- завершение и надлежащее оформление предшествующих монтажных работ по установке плит перекрытий предыдущего этажа (наличие актов освидетельствования скрытых работ, геодезических исполнительных схем и другой приемо-сдаточной документации);

- наличие паспортов и полноту содержащихся в них данных на поступившие на строительную площадку санитарно-технические кабины, соответствие их требованиям проекта; маркировку кабин и наличие штампа ОТК;

Проект, ППР, схемы операционного контроля качества

Акт приемки, акты освидетельствования скрытых работ, исполнительные схемы Паспорта

- внешним осмотром сохранность и отсутствие недопустимых дефектов внешнего вида на поступивших санитарно-технических кабинах; очистку опорных поверхностей от загрязнений; разметку кабин и разбивку опорных поверхностей.

Общий журнал работ

Установка санитарно-технических кабин

Контролировать:

- соблюдение заданной ППР (технологической картой) технологии монтажа санитарно-технических кабин;

- установку кабин в проектное положение;

- качество заделки стыков.

Общий и специальный журналы работ

Исполнительные схемы

Приемка

Проверить:

- соответствие фактического положения санитарно-технических кабин требованиям проекта и нормативных документов;

Общий и специальный журналы работ

- соответствие качества работ по заделке стыков в местах прохода стояков требованиям проекта и нормативных документов;

- составление и надлежащее оформление приемо-сдаточной документации.

Акты приемки

Акты освидетельствования скрытых работ, исполнительные схемы

ВХОДНОЙ И ОПЕРАЦИОННЫЙ КОНТРОЛЬ осуществляют:

мастер (прораб), лаборант (инженер), геодезист - в процессе выполнения работ

ПРИЕМОЧНЫЙ КОНТРОЛЬ ОСУЩЕСТВЛЯЮТ:

прораб (мастер), представители технадзора заказчика

КИП - линейка и рулетка измерительные металлические, нивелир, теодолит и другие геодезические и лабораторные приборы и инструмент.

Входной контроль санитарно-технических кабин, строительного раствора и других предусмотренных проектом материалов должен производиться в соответствии с требованиями стандартов и технических условий на конструкции и материалы в порядке, предусмотренном технологическими картами или другой технологической документацией, утвержденной в установленном порядке.

Технические требования к санитарно-техническим кабинам приведены в настоящем альбоме в СОКК «Входной контроль качества сборных бетонных и железобетонных изделий и конструкций», технические требования к строительным растворам - в альбоме часть I, выпуск 1 в СОКК «Входной контроль строительных растворов».

Требования к разбивочным геодезическим работам приведены в данном альбоме в СОКК «Геодезические работы на исходном горизонте» и «Геодезические работы на монтажном горизонте».

Работы по возведению зданий и сооружений должны производиться по утвержденному проекту производства работ (ППР), в котором наряду с общими требованиями СНиП 3.01.01-85* должны быть предусмотрены: последовательность установки конструкций; мероприятия, обеспечивающие требуемую точность установки; пространственную неизменяемость конструкций в процессе установки в проектное положение; устойчивость конструкций в процессе возведения.

Запрещается осуществление строительно-монтажных работ без утвержденного проекта производства работ. Не допускаются отступления от решений проектов производства работ без согласования с организациями, разработавшими и утвердившими их.

Монтаж конструкций каждого вышележащего этажа многоэтажного здания следует производить после проектного закрепления всех монтажных элементов и достижения бетоном (раствором) замоноличенных стыков несущих конструкций прочности, указанной в ППР, после освидетельствования или приемки ранее выполненных скрытых работ или ответственных конструкций.

Скрытые работы подлежат освидетельствованию с составлением актов. Акт освидетельствования скрытых работ должен составляться на завершенный процесс, выполненный самостоятельным подразделением исполнителей.

Освидетельствование скрытых работ в составление акта в случаях, когда последующие работы должны начинаться после перерыва, следует производить непосредственно перед производством последующих работ.

Запрещается выполнение последующих работ при отсутствии актов освидетельствования предшествующих скрытых работ во всех случаях.

Сборные конструкции следует устанавливать, как правило, с транспортных средств.

Предварительное складирование конструкций на приобъектных складах допускается только при соответствующем обосновании. Приобъектный склад должен быть расположен в зоне действия монтажного крана.

Перед подъемом каждого монтажного элемента необходимо проверить:

соответствие его проектной марке;

состояние установочных рисок, отсутствие грязи, снега, наледи, повреждений отделки;

наличие на рабочем месте необходимых соединительных деталей и вспомогательных материалов;

правильность и надежность закрепления грузозахватных устройств.

Строповку монтируемых элементов надлежит производить в местах, указанных в рабочих чертежах, и обеспечить их подъем и подачу к месту установки в положении, близком к проектному. При необходимости изменения мест строповки они должны быть согласованы с организацией - разработчиком рабочих чертежей.

Запрещается строповка конструкций в произвольных местах.

Монтируемые элементы следует поднимать плавно, без рывков, раскачивания и вращения, как правило, с применением оттяжек.

Поднимать конструкции следует в два приема: сначала на высоту 20 - 30 см, затем, после проверки надежности строповки, производить дальнейший подъем.

При установке монтажных элементов должны быть обеспечены:

устойчивость и неизменяемость их положения на всех стадиях монтажа;

безопасность производства работ;

точность их положения с помощью постоянного геодезического контроля;

До начала установки санитарно-технических кабин должны быть завершены следующие предусмотренные проектом и ППР работы:

монтаж наружных, внутренних стеновых панелей и вентиляционных блоков;

разбивочные работы (геодезическая разбивка осей с нанесением на плитах перекрытий ориентирных рисок для установки кабин в проектное положение).

Установка железобетонных санитарно-технических кабин производится в следующей последовательности: подготовка кабины к строповке; строповка; подъем и подача кабины; прием кабины; устройство постели из песка или цементного раствора; установка и выверка кабины; заделка монтажных отверстий в местах прохода санитарно-технических стояков.

Опорная поверхность перекрытия и основание кабины должны быть очищены от грязи, снега и наледи.

Строповка кабин производится согласно указаниям ППР. К месту монтажа их подают, как правило, универсальной траверсой. Строповка крюками чалочных ветвей траверсы, имеющей уравнительные канаты, производится за диагонально расположенные подъемные петли кабины.

Санитарно-технические кабины надлежит устанавливать на прокладки-маяки, выверенные относительно монтажного горизонта. Прочность материала, из которого изготовляют маяки, должна быть установлена проектом и (или) не должна быть выше установленной проектом прочности на сжатие раствора, применяемого для устройства постели.

Отклонения отметок маяков относительно монтажного горизонта не должны превышать ± 5 мм. При отсутствии в проекте специальных указаний толщина маяков должна составлять 10 - 30 мм. Маяки укладывают под каждый угол кабины на расстоянии 0,2 - 0,3 м от ее торцов.

Постель под санитарно-технические кабины устраивают в соответствии с проектом из песка или цементного раствора толщиной, как правило, 10 мм. Постель разравнивают правилом. Горизонтальность основания проверяют контрольной рейкой с уровнем в двух взаимно перпендикулярных направлениях.

Поданную краном на высоту 0,3 - 0,4 м от основания кабину выверяют по ориентирным рискам на перекрытии и устанавливают на приготовленную постель, тщательно совмещая канализационный и водопроводный стояки устанавливаемой и нижерасположенной кабин.

Низ санитарно-технических кабин необходимо устанавливать по ориентирным рискам, вынесенным на перекрытие от разбивочных осей и соответствующим проектному положению двух взаимно перпендикулярных стен кабины (передней и одной из боковых). В случае необходимости низ кабины подправляют монтажными ломиками. Относительно вертикальной плоскости кабины следует устанавливать, выверяя грани двух взаимно перпендикулярных стен кабины. Вертикальность контролируют рейкой-отвесом.

Расстроповку кабин производят после ее окончательной выверки.

Замоноличивание монтажных отверстий в местах прохода санитарно-технических стояков производят бетоном, класс которых по прочности на сжатие устанавливается проектом, после гидравлических испытаний стояков.

Присоединение санитарно-технических кабин к вентиляционным блокам (устройство вентиляционных каналов) выполняют до укладки плит перекрытий данного этажа.

При отсутствии в рабочих чертежах специальных требований предельные отклонения от проектного положения законченных монтажом санитарно-технических кабин не должны превышать величин, приведенных в нижеследующей таблице.

Параметр

Предельные отклонения, мм

Контроль (метод, объем, вид регистрации)

Отклонение от совмещения ориентиров (рисок геометрических осей) в нижнем сечении санитарно-технических кабин с установочными ориентирами (рисками геометрических или разбивочных осей)

8

Измерительный, каждая кабина, геодезическая исполнительная схема

Отклонение от вертикали верха плоскостей кабин

10

Измерительный, каждая кабина, геодезическая исполнительная схема

Требуемая точность установки санитарно-технических кабин в проектное положение должна обеспечиваться детальными разбивочными работами (см. в данном альбоме СОКК «Геодезические работы на исходном горизонте» и «Геодезические работы на монтажном горизонте») и постоянным геодезическим (инструментальным) контролем точности выполнения монтажных операций, которые входят в технологический процесс монтажа санитарно-технических кабин (операционный контроль качества).

Точность установки низа и верха санитарно-технических кабин должна регламентироваться ППР. При этом контроль за точностью совмещения ориентиров в нижнем сечении блоков может осуществляться с помощью теодолитов, нитяного отвеса или шаблонов, а контроль за вертикальностью верха плоскостей блоков может осуществляться с помощью теодолита, рейки-отвеса, рейки-уровня и т.п.

Положение санитарно-технических кабин по ходу монтажа и по завершении его при приемке выполненных работ должны фиксироваться на геодезических исполнительных схемах.

Приемка выполненных работ по установке санитарно-технических кабин осуществляется на основании следующих документов:

исполнительных чертежей с внесенными (при их наличии) отступлениями, допущенными предприятием - изготовителем санитарно-технических кабин, а также монтажной организацией, согласованными с проектными организациями - разработчиками чертежей, и документов об их согласовании;

заводских паспортов (документов о качестве) на сантехнические кабины;

документов (сертификатов, паспортов), удостоверяющих качество материалов, примененных при производстве строительно-монтажных работ;

актов освидетельствования скрытых работ;

актов промежуточной приемки ответственных конструкций;

исполнительных геодезических схем положения санитарно-технических кабин;

журналов работ;

других документов, указанных в дополнительных правилах или рабочих чертежах.

Монтаж лестничных площадок и маршей

Технические требования

ГОСТ 9818-85* Марши и площадки лестниц железобетонные. Технические условия.

ТУ 5891-032-03984346-96 Элементы лестниц железобетонные.

ТУ 5891-018-03984988-97 Марши, площадки и марш-площадки железобетонные.

ТУ 5891-071-03984416-97 Марши и площадки лестниц железобетонные ЛМ, ЛП.

ТУ 400-2-423-93 Марши и площадки лестниц железобетонные.

ГОСТ 28013-98 Растворы строительные. Общие технические условия.

Государственные стандарты и технические условия на конструкции и изделия железобетонные для лестниц и другие материалы, предусмотренные проектом.

СНиП 3.03.01-87 Несущие и ограждающие конструкции.

СНиП 3.01.01-85* Организация строительного производства.

Монтаж лестничных площадок и маршей должен осуществляться в соответствии с требованиями проекта, СНиП 3.01.01-85*, СНиП 3.03.01-87, ППР, технологических карт, схем операционного контроля качества СМР и другой технологической документации, утвержденной в установленном порядке.

Монтаж лестничных площадок и маршей должны осуществлять строительно-монтажные организации, получившие лицензию на выполнение строительно-монтажных работ в Федеральных или местных лицензионных органах.

Строительно-монтажные работы должны выполняться квалифицированным персоналом, прошедшим специальную подготовку и обладающими надлежащими навыками по монтажу строительных конструкций.

Производству работ по монтажу лестничных площадок и маршей должны предшествовать:

- разработка проектов производства работ как на возведение здания, так и на выполнение отдельных видов работ; разработка технологических карт и схем операционного контроля качества СМР на выполнение отдельных видов работ (с использованием соответствующей типовой документации);

- проверка неизменности положения знаков разбивочной сети здания (сооружения); выполнение геодезических работ по созданию внутренней разбивочной сети здания (сооружения); детальные разбивочные работы на исходном и монтажных горизонтах;

- входной контроль проектно-сметной документации, железобетонных маршей и площадок и других материалов;

- изучение инженерно-техническим персоналом проектной и технологической документации.

Контролируемые операции

Состав и средства контроля

Документация

Подготовительные работы

Проверить:

- наличие проекта, ППР, технологических карт, схем операционного контроля качества;

- завершение и надлежащее оформление предшествующих работ по монтажу и проектному закреплению всех опорных конструкций ниже уровня монтируемых лестничных площадок и маршей (наличие актов освидетельствования скрытых работ, геодезических исполнительных схем и другой приемо-сдаточной документации);

- наличие паспортов и полноту содержащихся в них данных на поступившие на строительную площадку лестничные площадки и марши, соответствие их требованиям проекта; маркировку и наличие штампа ОТК;

Проект, ППР, схемы операционного контроля качества

Акт приемки, акты освидетельствования скрытых работ, исполнительные схемы

Паспорта

- внешним осмотром сохранность и отсутствие недопустимых дефектов внешнего вида на поступивших изделиях и материалах; очистку опорных поверхностей от загрязнений; разметку опорных поверхностей.

Общий журнал работ

Монтаж лестничных площадок и маршей

Контролировать:

- соблюдение заданной ППР (технологической картой) технологии монтажа лестничных площадок и маршей;

- установку лестничных площадок и маршей в проектное положение;

- качество заделки стыков, качество сварочных и антикоррозионных работ.

Общий и специальный журналы работ

Исполнительные схемы

Приемка

Проверить:

- соответствие фактического положения лестничных площадок и маршей требованиям проекта и нормативных документов;

Общий и специальный журналы работ

- соответствие качества сварочных и антикоррозионных работ, а также работ по замоноличиванию стыков требованиям проекта и нормативных документов;

- составление и надлежащее оформление приемо-сдаточной документации.

Акты приемки

Акты освидетельствования скрытых работ, исполнительные схемы

ВХОДНОЙ И ОПЕРАЦИОННЫЙ КОНТРОЛЬ осуществляют:

мастер (прораб), лаборант (инженер), геодезист - в процессе выполнения работ

ПРИЕМОЧНЫЙ КОНТРОЛЬ ОСУЩЕСТВЛЯЮТ:

прораб (мастер), представители технадзора заказчика

КИП - линейка и рулетка измерительные металлические, нивелир, теодолит и другие геодезические и лабораторные приборы и инструмент.

При входном контроле рабочей документации должна производиться проверка ее комплектности и достаточности содержащейся в ней технической информации для производства работ.

Входной контроль лестничных площадок и маршей, а также других, предусмотренных проектом, материалов должен производиться в соответствии с требованиями стандартов и технических условий на конструкции и материалы в порядке, предусмотренном технологическими картами или другой технологической документацией, утвержденной в установленном порядке.

Технические требования к лестничным площадкам и маршам предъявляемые ГОСТ 9818-85*, приведены в настоящем альбоме в СОКК «Входной контроль качества сборных бетонных и железобетонных изделий и конструкций», технические требования к строительным растворам - в альбоме часть I, выпуск 1 в СОКК «Входной контроль строительных растворов».

Требования к разбивочным геодезическим работам приведены в данном альбоме в СОКК «Геодезические работы на исходном горизонте» и «Геодезические работы на монтажном горизонте».

Работы по возведению зданий и сооружений должны производиться по утвержденному проекту производства работ (ППР), в котором наряду с общими требованиями СНиП 3.01.01-85* должны быть предусмотрены: последовательность установки конструкций; мероприятия, обеспечивающие требуемую точность установки, пространственную неизменяемость конструкций в процессе установки в проектное положение, устойчивость конструкций в процессе возведения.

Запрещается осуществление строительно-монтажных работ без утвержденного проекта производства работ. Не допускаются отступления от решений проектов производства работ без согласования с организациями, разработавшими и утвердившими их.

Монтаж лестничных площадок и маршей следует производить после проектного закрепления всех несущих монтажных элементов и достижения бетоном (раствором) замоноличенных стыков несущих конструкций прочности, указанной в ППР, после освидетельствования или приемки ранее выполненных скрытых работ или ответственных конструкций.

Скрытые работы подлежат освидетельствованию с составлением актов. Акт освидетельствования скрытых работ должен составляться на завершенный процесс, выполненный самостоятельным подразделением исполнителей.

Освидетельствование скрытых работ и составление акта в случаях, когда последующие работы должны начинаться после перерыва, следует производить непосредственно перед производством последующих работ.

Запрещается выполнение последующих работ при отсутствии актов освидетельствования предшествующих скрытых работ во всех случаях.

Сборные конструкции следует устанавливать, как правило, с транспортных средств.

Предварительное складирование конструкций на приобъектных складах допускается только при соответствующем обосновании. Приобъектный склад должен быть расположен в зоне действия монтажного крана.

Перед подъемом каждого монтажного элемента необходимо проверить:

- соответствие его проектной марке;

- состояние закладных изделий, отсутствие грязи, снега, наледи;

- наличие на рабочем месте необходимых соединительных деталей и вспомогательных материалов;

- правильность и надежность закрепления грузозахватных устройств. Строповку монтируемых элементов надлежит производить в местах, указанных в рабочих чертежах, и обеспечить их подъем и подачу к месту установки в положении, близком к проектному. При необходимости изменения мест строповки они должны быть согласованы с организацией - разработчиком рабочих чертежей.

Запрещается строповка конструкций в произвольных местах, а также за выпуски арматуры.

Монтируемые элементы следует поднимать плавно, без рывков, раскачивания и вращения, как правило, с применением оттяжек.

Поднимать конструкции следует в два приема: сначала на высоту 20 - 30 см, затем, после проверки надежности строповки, производить дальнейший подъем.

При установке монтажных элементов должны быть обеспечены:

- устойчивость и неизменяемость их положения на всех стадиях монтажа;

- безопасность производства работ;

- прочность монтажных соединений.

До начала монтажа лестничных площадок и маршей должны быть выполнены следующие работы:

- смонтированы наружные, внутренние стеновые панели и плиты перекрытий;

- на опорных поверхностях установлены маяки и нанесены установочные риски;

- доставлены на площадку и подготовлены к работе механизмы, инвентарь и приспособления;

Монтаж лестничных площадок и маршей рекомендуется выполнять башенными кранами.

Монтаж лестничных площадок и маршей производится в следующей последовательности:

- установка маяков и устройство растворной постели;

- установка лестничных площадок и маршей и их выверка в плане и по высоте;

- проектное закрепление лестничных площадок и маршей;

- замоноличивание стыков между лестничными площадками, маршами, стенами и перекрытиями.

Стыкуемые поверхности лестничных площадок, маршей, стен и перекрытий должны быть очищены от грязи, снега, наледи и просушены сжатым воздухом.

Лестничные площадки и марши устанавливают на слой цементного раствора по ранее установленным маякам и рискам. Толщина растворного слоя (не более 20 мм) и марка раствора должны быть указаны в проекте. Подвижность раствора должна составлять 5 - 7 см по глубине погружения стандартного конуса, за исключением случаев, специально оговоренных в проекте.

Применение раствора, процесс схватывания которого уже начался, а также восстановление его пластичности путем добавления воды не допускаются.

Строповку лестничных маршей осуществляют вилочным захватом и четырехветвевой универсальной траверсой с двумя укороченными ветвями. Аналогичным способом стропуют марши, объединенные с полуплощадками.

Строповку лестничных площадок осуществляют четырехветвевой универсальной траверсой.

Монтаж начинают с междуэтажной и этажной лестничных площадок. При монтаже должны тщательно соблюдаться проектные величины опорных отметок, опорных площадок и положение площадок в плане. Правильность установки площадок проверяют специальным шаблоном, имеющим форму продольного сечения лестничного марша. Проверку выполняют в двух точках.

Правильность установки площадки по высоте контролируют нивелиром, а горизонтальность - рейкой с уровнем в двух взаимно перпендикулярных направлениях.

После окончательной выверки площадки ее расстроповывают и осуществляют проектное закрепление. Замоноличивание швов выполняют согласно требованиям проекта цементным раствором или бетоном.

После выверки и полного закрепления лестничных площадок производят установку лестничных маршей. К месту укладки марши подают в положении, близком к проектному, с небольшим превышением верхнего конца марша, обеспечивая этим сначала опирание нижнего конца марша, а затем верхнего. После окончательной выверки производится расстроповка марша.

Сразу же по окончании монтажа марша согласно требованиям проекта устанавливают временные или постоянные ограждения.

Монтаж лестничных площадок и маршей надлежит выполнять по разметке, определяющей их проектное положение на опорах, с соблюдением установленных проектом размеров глубины опирания их на опорные конструкции или зазоров между сопрягаемыми элементами.

Применение не предусмотренных проектом подкладок для выравнивания положения укладываемых площадок и маршей по отметкам без согласования с проектной организацией не допускается.

Сварка металлических соединений лестничных площадок и маршей должна выполняться в соответствии с требованиями проекта, СНиП 3.03.01-87* и технологической документацией, утвержденной в установленном порядке (см. СОКК по сварке в альбоме часть II).

Замоноличивание стыков лестничных площадок, маршей и сопрягаемых конструкций должно выполняться после проверки правильности установки лестничных площадок и маршей, приемки соединений в узлах сопряжений. Замоноличивание должно выполняться в соответствии с требованиями проекта, СНиП 3.03.01-87* и технологической документации, утвержденной в установленном порядке (см. в настоящем альбоме СОКК «Замоноличивание стыков и швов крупнопанельных жилых зданий»).

Требуемая точность установки лестничных площадок и маршей в проектное положение должна обеспечиваться детальными разбивочными работами (см. в данном альбоме СОКК «Геодезические работы на исходном горизонте» и «Геодезические работы на монтажном горизонте») и постоянным геодезическим (инструментальным) контролем точности выполнения монтажных операций, которые входят в технологический процесс монтажа лестничных площадок и маршей (операционный контроль качества).

Результаты контроля должны вноситься в журналы работ по монтажу строительных конструкций, сварочных работ, замоноличивания монтажных стыков и узлов.

Положение лестничных площадок и маршей по ходу монтажа и по завершении его при приемке выполненных работ должны фиксироваться на геодезических исполнительных схемах.

Монтаж панелей перегородок

Технические требования

ГОСТ 9574-90 Панели гипсобетонные для перегородок. Технические условия.

ГОСТ 25098-87 Панели перегородок железобетонные для зданий промышленных и сельскохозяйственных предприятий. Технические условия.

ТУ 5333-004-8615783-93 Панели железобетонных перегородок для жилых домов унифицированной серии 90.

ТУ 5833-133-01393898-94 Панели перегородок из легкого бетона для зданий серии 135.

ТУ 5833-007-07828469-96 Перегородки железобетонные для жилых зданий.

ТУ 5833-097-0126-6763-97 Панели перегородок виброкирпичные для промышленных и жилых зданий.

ГОСТ 28013-98 Растворы строительные. Общие технические условия.

Государственные стандарты и технические условия на панели перегородок и другие материалы, предусмотренные проектом.

СНиП 3.03.01-87 Несущие и ограждающие конструкции.

СНиП 3.01.01-85* Организация строительного производства.

Серия 2.130-1 Детали стен и перегородок жилых зданий, вып. 27 «Примыкание и крепление панельных перегородок к несущим конструкциям».

Монтаж панелей перегородок должен осуществляться в соответствии с требованиями проекта, СНиП 3.01.01-85*, СНиП 3.03.01-87, ППР, технологических карт, схем операционного контроля качества СМР и другой технологической документации, утвержденной в установленном порядке.

Монтаж панелей перегородок должны осуществлять строительно-монтажные организации, получившие лицензию на выполнение строительно-монтажных работ в Федеральных или местных лицензионных органах.

Строительно-монтажные работы должны выполняться квалифицированным персоналом, прошедшим специальную подготовку и обладающими надлежащими навыками по монтажу строительных конструкций.

Производству работ по монтажу панелей перегородок должны предшествовать:

- разработка проектов производства работ как на возведение здания, так и на выполнение отдельных видов работ; разработка технологических карт и схем операционного контроля качества СМР на выполнение отдельных видов работ (с использованием соответствующей типовой документации»;

- проверка неизменности положения знаков разбивочной сети здания (сооружения); выполнение геодезических работ по созданию внутренней разбивочной сети здания (сооружения); детальные разбивочные работы на исходном и монтажных горизонтах;

- входной контроль проектно-сметной документации, панелей перегородок и других материалов;

- изучение инженерно-техническим персоналом проектной и технологической документации.

Контролируемые операции

Состав и средства контроля

Документация

Подготовительные работы

Проверить:

- наличие проекта, ППР, технологических карт, схем операционного контроля качества;

- завершение и надлежащее оформление предшествующих монтажных работ по устройству опорных и примыкающих к перегородке конструкций (наличие актов освидетельствования скрытых работ, геодезических исполнительных схем и другой приемо-сдаточной документации);

- наличие паспортов и полноту содержащихся в них данных на поступившие на строительную площадку панели перегородок, соответствие их требованиям проекта; маркировку панелей и наличие штампа ОТК;

Проект, ППР, схемы операционного контроля качества

Акт приемки, акты освидетельствования скрытых работ, исполнительные схемы

Паспорта

- внешним осмотром сохранность и отсутствие недопустимых дефектов внешнего вида на поступивших панелях и материалах; очистку опорных поверхностей от загрязнений; разметку панелей и разбивку опорных поверхностей.

Общий журнал работ

Монтаж панелей перегородок

Контролировать:

- соблюдение заданной ППР (технологической картой) технологии монтажа панелей перегородок;

- установку панелей в проектное положение;

- качество заделки стыков, качество сварочных работ.

Общий и специальный журналы работ

Исполнительные схемы

Приемка

Проверить:

- соответствие фактического положения панелей требованиям проекта и нормативных документов;

- соответствие качества сварочных работ, а также работ по замоноличиванию стыков требованиям проекта и нормативных документов;

- составление и надлежащее оформление приемо-сдаточной документации.

Общий и специальный журналы работ

Акты приемки

Акты освидетельствования скрытых работ, исполнительные схемы

ВХОДНОЙ И ОПЕРАЦИОННЫЙ КОНТРОЛЬ осуществляют:

мастер (прораб), лаборант (инженер), геодезист - в процессе выполнения работ

ПРИЕМОЧНЫЙ КОНТРОЛЬ ОСУЩЕСТВЛЯЮТ:

прораб (мастер), представители технадзора заказчика

КИП - линейка и рулетка измерительные металлические, нивелир, теодолит и другие геодезические и лабораторные приборы и инструмент.

При входном контроле рабочей документации должна производиться проверка ее комплектности и достаточности содержащейся в ней технической информации для производства работ.

Входной контроль панелей перегородок, а также других, предусмотренных проектом, материалов должен производиться в соответствии с требованиями стандартов и технических условий на конструкции и материалы в порядке, предусмотренном технологическими картами или другой технологической документацией, утвержденной в установленном порядке.

Технические требования к панелям перегородок, предъявляемые ГОСТ 9574-90 и ГОСТ 25098-87, приведены в настоящем альбоме в СОКК «Входной контроль качества сборных бетонных и железобетонных изделий и конструкций», технические требования к строительным растворам - в альбоме часть I, выпуск 1 в СОКК «Входной контроль строительных растворов».

Требования к разбивочным геодезическим работам приведены в данном альбоме в СОКК «Геодезические работы на исходном горизонте» и «Геодезические работы на монтажном горизонте».

Работы по возведению зданий и сооружений должны производиться по утвержденному проекту производства работ (ППР), в котором наряду с общими требованиями СНиП 3.01.01-85* должны быть предусмотрены: последовательность установки конструкций; мероприятия, обеспечивающие требуемую точность установки, пространственную неизменяемость конструкций в процессе установки в проектное положение, устойчивость конструкций в процессе возведения.

Запрещается осуществление строительно-монтажных работ без утвержденного проекта производства работ. Не допускаются отступления от решений проектов производства работ без согласования с организациями, разработавшими и утвердившими их.

Монтаж конструкций каждого вышележащего этажа многоэтажного дома следует производить после проектного закрепления всех несущих монтажных элементов и достижения бетоном (раствором) замоноличенных стыков несущих конструкций прочности, указанной в ППР, после освидетельствования или приемки ранее выполненных скрытых работ или ответственных конструкций.

Скрытые работы подлежат освидетельствованию с составлением актов. Акт освидетельствования скрытых работ должен составляться на завершенный процесс, выполненный самостоятельным подразделением исполнителей.

Освидетельствование скрытых работ и составление акта в случаях, когда последующие работы должны начинаться после перерыва, следует производить непосредственно перед производством последующих работ.

Запрещается выполнение последующих работ при отсутствии актов освидетельствования предшествующих скрытых работ во всех случаях.

Сборные конструкции следует устанавливать, как правило, с транспортных средств.

Предварительное складирование конструкций на приобъектных складах допускается только при соответствующем обосновании. Приобъектный склад должен быть расположен в зоне действия монтажного крана.

Перед подъемом каждого монтажного элемента необходимо проверить:

- соответствие его проектной марке;

- состояние закладных изделий и установочных рисок, отсутствие грязи, снега, наледи, повреждений отделки;

- наличие на рабочем месте необходимых соединительных деталей и вспомогательных материалов;

- правильность и надежность закрепления грузозахватных устройств.

Строповку монтируемых элементов надлежит производить в местах, указанных в рабочих чертежах, и обеспечить их подъем и подачу к месту установки в положении, близком к проектному. При необходимости изменения мест строповки они должны быть согласованы с организацией - разработчиком рабочих чертежей.

Запрещается строповка конструкций в произвольных местах.

Монтируемые элементы следует поднимать плавно, без рывков, раскачивания и вращения, как правило, с применением оттяжек.

Поднимать конструкции следует в два приема: сначала на высоту 20 - 30 см, затем, после проверки надежности строповки, производить дальнейший подъем.

При установке монтажных элементов должны быть обеспечены:

- устойчивость и неизменяемость их положения на всех стадиях монтажа;

- безопасность производства работ;

- точность их положения с помощью постоянного геодезического контроля;

- прочность монтажных соединений.

До начала монтажа панелей перегородок необходимо выполнить следующие работы:

- очистить от мусора место установки панелей перегородок;

- произвести разбивку осей для установки панелей на перекрытии и на примыкающих к нему конструкциях;

- нанести на конструкции установочные риски для монтажа;

- определить отметки маяков для установки панелей перегородок;

- установить маяки;

- просверлить отверстия для дюбелей и закрепить их;

- установить и закрепить монтажные элементы: анкеры-стержни, полосы-скобы, бобышки, а также бетонные кубики для фиксирования зазоров в межквартирных перегородках;

- подать на рабочее место монтажные приспособления, инструменты, инвентарь.

Операции по монтажу панелей перегородок должны вестись в следующем порядке:

- подготовка растворной постели; установка маяков;

- строповка и подача панелей на место установки;

- установка бетонных кубиков, фиксирующих зазор между панелями в межквартирных перегородках;

- установка панели; выверка ее;

- временное крепление панели и расстроповка;

- установка второй панели (в межквартирной перегородке) и ее крепление.

Работы по монтажу панелей, креплению и герметизации стыков необходимо выполнять с подмостей, площадок, стремянок и других приспособлений, имеющих ограждения. Монтаж следующей панели должен начинаться после полной установки и закрепления предыдущей.

Монтаж панелей перегородок следует производить до устройства перекрытия вышележащего этажа.

Строповку панелей необходимо производить только при помощи траверсы, обеспечивающей вертикальное направление подъемного усилия во всех точках строповки. Отклонение железобетонных панелей от вертикали при подъемно-транспортных операциях допускается не более чем на 8°, гипсобетонных - на 3°.

Стыкуемые поверхности панелей перегородок и плит перекрытий должны быть очищены от грязи, снега, наледи и просушены сжатым воздухом.

Установку панелей следует производить, опирая их на выверенные относительно монтажного горизонта маяки. Прочность материала, из которого изготовляют маяки, не должна быть выше установленной проектом прочности на сжатие раствора, применяемого для устройства постели.

Отклонения отметок маяков относительно монтажного горизонта не должны превышать ± 5 мм. При отсутствии в проекте специальных указаний толщина маяков должна составлять 10 - 30 мм. Под каждую панель устанавливают по два маяка - на расстоянии 0,2 - 0,3 м от торцов панели.

Панели устанавливают на слой свежеуложенного цементного раствора марки 75 толщиной 10 мм по линии установки перегородки. Подвижность раствора должна составлять 5 - 7 см по глубине погружения стандартного конуса, за исключением случаев, специально оговоренных в проекте.

Применение раствора, процесс схватывания которого уже начался, а также восстановление его пластичности путем добавления воды не допускаются.

Между торцом панели после ее выверки и растворной постелью не должно быть щелей.

После установки панели на растворную постель не допускается передвижка (рихтовка) ее по раствору.

При отклонении от проектного положения панель должна быть приподнята краном, низ ее очищен от раствора, после чего она снова устанавливается на свежий раствор.

При установке перегородки на стык панелей, имеющий перепад высот, основание под перегородку необходимо выровнять слоем цементно-песчаного раствора.

Для гипсобетонных панельных перегородок необходимо устройство рулонной гидроизоляции между низом перегородки и слоем цементно-песчаного раствора для предохранения нижней обвязки панелей от возможного увлажнения в момент монтажа и эксплуатации.

Перегородки первого этажа при варианте с неотапливаемым подвалом утепляются на высоту конструкции пола. При полах по грунту панели устанавливаются на кирпичную стенку, высота которой определяется конструкцией пола (кирпичная кладка выполняется из красного полнотелого кирпича марки 100 на цементно-песчаном растворе марки 75). В этих случаях между низом перегородки и слоем цементно-песчаного раствора укладывается рулонная гидроизоляция.

Перегородочные панели устанавливаются в проектное положение краном и после выверки раскрепляются временными монтажными креплениями, после чего снимают стропы. Демонтаж временных креплений производится после окончательного закрепления панелей.

Монтаж панелей-вставок над проемами производится после установки дверного проема.

Гипсобетонные панели перегородок временно закрепляются с помощью стоек и упоров. Возможен также комбинированный способ их крепления, который заключается в установке предусмотренного проектом постоянного крепления перегородки, и установке монтажного приспособления.

Железобетонные панели перегородок временно закрепляются с помощью подкосов или упорами.

Крепление перегородок производится в местах примыкания к стенам и к потолку.

Гипсобетонные перегородки в местах примыкания к стене (перегородке) крепятся с помощью соединительных изделий в двух уровнях: на высоте 0,8 и 1,8 м от пола.

При дверном проеме в торце перегородки крепление к стене ставится по середине высоты надпроемочной части панели.

Кроме того, обязательно должны крепиться верхние углы перегородок.

Железобетонные перегородки крепятся к стенам (перегородкам) по торцу панелей перегородок на высоте 1,0 от уровня пола и в верхних углах.

Гипсобетонные перегородки при длине более 4,0 м, а также, если вертикальная грань перегородки примыкает к дверной коробке, дополнительно кренятся к перекрытиям.

Железобетонные перегородки крепятся к перекрытиям лишь в Т-образных перегородках.

Пластины монтажные, предназначенные для крепления к потолку гипсобетонных перегородок, устанавливаются до монтажа вышележащего перекрытия.

Особое внимание должно уделяться тщательной заделке швов в местах примыканий перегородок друг к другу, к стенам, к потолку.

Швы в местах примыкания перегородок к стенам и прочим конструктивным элементам, в примыканиях перегородок между собой, швы между верхней гранью перегородки и нижней плоскостью панели перекрытия для обеспечения необходимой звукоизоляции должны тщательно конопатиться паклей или минеральным войлоком, смоченным в гипсовом растворе (для гипсобетонных перегородок) или в цементном растворе (для железобетонных перегородок).

Выверка панелей перегородок в поперечном направлении (из плоскости стены) осуществляется совмещением внутренней грани панели с установочными рисками на перекрытии, вынесенными от разбивочных осей, или с поверхностью упорной грани инвентарных шаблонов, ориентируемых по рискам установочной оси. Для повышения точности установки упорная грань шаблона должна быть на 50 - 100 мм приподнята над перекрытием, чтобы фиксировать панель не по ее нижней кромке, которая часто имеет сколы и наплывы бетона, а несколько выше, где она имеет относительно ровную поверхность.

После выверки панели в плане выполняют ее временное закрепление.

Далее с помощью монтажной оснастки приводят панель в вертикальное положение. Проверка вертикальности осуществляется обычно рейкой-отвесом.

Расстроповку панелей перегородок можно производить только после их окончательной выверки и временного закрепления.

При отсутствии в рабочих чертежах специальных требований предельные отклонения от проектного положения законченных монтажом панелей перегородок не должны превышать величин, приведенных в нижеследующей таблице.

Параметр

Предельные отклонения, мм

Контроль (метод, объем, вид регистрации)

Отклонение от совмещения ориентиров (рисок геометрических осей) в нижнем сечении панелей с установочными ориентирами (рисками геометрических или разбивочных осей)

8

Измерительный, каждая панель, геодезическая исполнительная схема

Отклонение от вертикали верха плоскостей перегородок

12

Измерительный, каждая панель, журнал работ

Требуемая точность установки панелей перегородок в проектное положение должна обеспечиваться детальными разбивочными работами (см. в данном альбоме СОКК «Геодезические работы на исходном горизонте» и «Геодезические работы на монтажном горизонте») и постоянным геодезическим контролем точности выполнения монтажных операций, которые входят в технологический процесс монтажа панелей перегородок (операционный контроль качества).

Положение панелей перегородок в плане должно фиксироваться на геодезических исполнительных схемах, остальные данные должны вноситься в журналы работ по монтажу строительных конструкций, сварочных работ, замоноличивания монтажных стыков и узлов.

Приемка выполненных работ по монтажу панелей перегородок осуществляется на основании следующих документов:

исполнительных чертежей с внесенными (при их наличии) отступлениями, допущенными предприятием - изготовителем панелей перегородок, а также монтажной организацией, согласованными с проектными организациями - разработчиками чертежей, и документов об их согласовании;

заводских паспортов (документов о качестве) на панели перегородок;

документов (сертификатов, паспортов), удостоверяющих качество материалов, примененных при производстве строительно-монтажных работ;

актов освидетельствования скрытых работ;

актов промежуточной приемки ответственных конструкций;

исполнительных геодезических схем положения панелей перегородок;

журналов работ;

документов о контроле качества сварных соединений;

других документов, указанных в дополнительных правилах или рабочих чертежах.


МОНТАЖ ГИПСОБЕТОННЫХ И ЖЕЛЕЗОБЕТОННЫХ ПАНЕЛЕЙ ПЕРЕГОРОДОК

Монтажные узлы гипсобетонных перегородок по серии 2.130-1 выпуск 27

Примыкание межквартирной гипсобетонной перегородки к панельной или блочной стене

Крепление межкомнатной гипсобетонной перегородки к стене

 

 

 

 

 

 

1. Пластина монтажная ПМ4

2. Дюбель-втулка распорная (ГОСТ 27320-87)

3. Болт М8×75.099 (ГОСТ 7798-70*)

4. Гайка М8 (ГОСТ 2526-70*)

5. Шайба 8.02.099 (ГОСТ 6958-78*)

Примыкание межквартирной гипсобетонной перегородки к кирпичной стене

 

 

 

 

 

1. Пластина монтажная ПМ3

2. Стержень монтажный СМ2

3. Дюбель-втулка распорная (ГОСТ 27320-87)

4. Гвозди К2×40 (ГОСТ 4028-63*)

 

 

Вариант крепления возможен при наличии сварочного оборудования на монтажном горизонте. Пластину монтажную ПМ3 прикрепить до монтажа панели перегородки.

Крепление межкомнатной гипсобетонной перегородки к стене по верху панели перегородки

Примыкание межкомнатной гипсобетонной перегородки к перекрытию

ПРИМЫКАНИЕ ГИПСОБЕТОННЫХ ПАНЕЛЕЙ ПЕРЕГОРОДОК К ПЕРЕГОРОДКАМ

КРЕПЛЕНИЕ МЕЖКОМНАТНЫХ ГИПСОБЕТОННЫХ ПАНЕЛЕЙ ПЕРЕГОРОДОК К ПЕРЕГОРОДКАМ

КРЕПЛЕНИЕ МЕЖКОМНАТНЫХ ГИПСОБЕТОННЫХ ПАНЕЛЕЙ ПЕРЕГОРОДОК ПО ВЕРХУ ПАНЕЛЕЙ

Монтажные узлы железобетонных перегородок по серии 2.130-1 выпуск 27


Замоноличивание стыков и швов

Технические требования

ГОСТ 7473-94 Смеси бетонные. Технические условия.

ГОСТ 28013-98 Растворы строительные. Общие технические условия.

Государственные стандарты и технические условия на смеси бетонные и растворы строительные, предусмотренные проектом.

СНиП 3.03.01-87 Несущие и ограждающие конструкции.

СНиП 3.01.01-85* Организация строительного производства.

Замоноличивание стыков и швов должно осуществляться в соответствии с требованиями проекта, СНиП 3.01.01-85*, СНиП 3.03.01-87, ППР, технологических карт, схем операционного контроля качества СМР и другой технологической документации, утвержденной в установленном порядке.

Работы по замоноличиванию стыков и швов должны осуществлять строительно-монтажные организации, получившие лицензию на выполнение строительно-монтажных работ в Федеральных или местных лицензионных органах.

Работы по замоноличиванию стыков и швов должны выполняться квалифицированным персоналом, прошедшим специальную подготовку и обладающими надлежащими навыками по замоноличиванию стыков и швов.

При выполнении строительно-монтажных работ должно быть обеспечено соблюдение требований проекта, ППР, технологических карт, строительных норм и правил и другой нормативной документации.

Работы по замоноличиванию стыков и швов должны производиться по утвержденному проекту производства работ (ППР).

Запрещается осуществление строительно-монтажных работ без утвержденного проекта производства работ.

Не допускаются отступления от решений проектов производства работ без согласования с организациями, разработавшими и утвердившими их.

Замоноличивание стыков следует выполнять после проверки правильности установки конструкций, приемки соединений элементов в узлах сопряжений и выполнения предусмотренного проектом антикоррозионного покрытия сварных соединений и поврежденных участков покрытия закладных изделий.

Для заполнения стыков и швов используются бетоны и растворы. Класс бетона и марка раствора для замоноличивания стыков и швов должны быть указаны в проекте.

Требования к бетонным смесям приведены в СОКК «Бетонные смеси», к строительным растворам - в СОКК «Входной контроль строительных растворов» (обе схемы приведены в альбоме часть I, вып. 1).

Контролируемые операции

Состав и средства контроля

Документация

Подготовительные работы

Проверить:

- наличие проекта, ППР, технологической карты, схемы операционного контроля качества;

- завершение и надлежащее оформление предшествующих работ по монтажу конструкций и их элементов, приемке соединений и их антикоррозионной защите (наличие актов освидетельствования скрытых работ, геодезических исполнительных схем и другой приемосдаточной документации);

- наличие паспортов и полноту содержащихся в них данных на поступившие на строительную площадку бетонную смесь или строительный раствор;

Проект, ППР, схемы операционного контроля качества

Акт приемки, акты освидетельствования скрытых работ, исполнительные схемы

Паспорта

- правильность установки и надлежащее закрепление опалубки и поддерживающих ее конструкций;

- очистку стыкуемых поверхностей бетона, арматуры и закладных изделий, заделку щелей в деревянной опалубке, смазку опалубки;

- готовность к работе требуемых средств механизации укладки бетонных смесей и раствора.

Акт приемки

Общий журнал работ

Замоноличивание стыков и швов

Контролировать:

- соблюдение заданной ППР (технологической картой) технологии укладки и уплотнения бетонных смесей и раствора, распалубливания конструкций, выдерживания и ухода за бетоном и раствором;

Общий и специальный журналы работ

 

- соответствие бетонных и растворных смесей требованиям проекта и нормативных документов;

- отбор образцов бетона (раствора) и условия их твердения;

- прочность бетона (раствора) и другие требуемые показатели;

- состояние опалубки при укладке смесей.

Документ о качестве бетонной (растворной) смеси

Акты лабораторных испытаний

Приемка

Проверить:

- соответствие уложенного бетона (раствора) требованиям проекта и нормативных документов;

- составление и надлежащее оформление приемо-сдаточной документации.

Акты лабораторных испытаний, Акт освидетельствования скрытых работ

ВХОДНОЙ И ОПЕРАЦИОННЫЙ КОНТРОЛЬ осуществляют:

мастер (прораб), лаборант (инженер) - в процессе выполнения работ

ПРИЕМОЧНЫЙ КОНТРОЛЬ ОСУЩЕСТВЛЯЮТ:

прораб (мастер), представители технадзора заказчика

КИП - линейка и рулетка измерительные металлические, лабораторные приборы и инструмент.

Для приготовления бетонных смесей следует применять быстротвердеющие портландцементы или портландцементы М400 и выше. С целью интенсификации твердения бетонной смеси в стыках необходимо применять химические добавки - ускорители твердения. Наибольший размер зерен крупного заполнителя в бетонной смеси не должен превышать 1/3 наименьшего размера сечения стыка и 3/4 наименьшего расстояния в свету между стержнями арматуры. Для улучшения удобоукладываемости в смеси следует вводить пластифицирующие добавки в соответствии с требованиями разд. 2 СНиП 3.03.01-87 (см. СОКК «Укладка бетонных смесей» в альбоме часть I, выпуск 1).

Опалубка для замоноличивания стыков и швов, как правило, должна быть инвентарной и отвечать требованиям ГОСТ 23478-79.

Непосредственно перед замоноличиванием стыков и швов необходимо выполнить следующие работы:

очистить стыкуемые бетонные поверхности от мусора и грязи;

проверить правильность и надежность установки опалубки;

очистить опалубку от мусора и грязи, а арматуру - от отслаивающейся ржавчины; щели в деревянной опалубке должны быть заделаны; поверхность опалубки следует покрыть смазкой, которая не должна ухудшать прочностных качеств железобетонных конструкций и оставлять следов на их поверхности, ухудшающих внешний вид;

осуществить входной контроль бетонной смеси, при котором необходимо:

- проверить наличие документа о качестве бетонной смеси и требуемых в нем данных; проверить соответствие вида бетонной смеси, а также других показателей требованиям проекта;

- путем внешнего осмотра, а при необходимости и измерений убедиться в отсутствии признаков расслоения бетонной смеси, наличия требуемых фракций заполнителя, соответствия ее удобоукладываемости требованиям проекта и т.д.;

- при возникающих сомнениях в качестве бетонной смеси требовать контрольной проверки ее соответствия требованиям проекта и нормативных документов (см. СОКК «Смеси бетонные» в альбоме часть I, выпуск 1).

При замоноличивании стыков уплотнение бетона (раствора), уход за ним, контроль режима выдерживания, а также контроль качества следует выполнять в соответствии с требованиями разд. 2 СНиП 3.03.01-87 (см. СОКК «Укладка бетонных смесей» в альбоме часть I, выпуск 1).

Прочность бетона или раствора в стыках ко времени распалубки должна соответствовать указанной в проекте, а при отсутствии такого указания - должна быть не менее 50 % проектной прочности на сжатие.

Фактическую прочность уложенного бетона (раствора) следует контролировать испытанием серии образцов, изготовленных на месте замоноличивания. Для проверки прочности следует изготовлять не менее трех образцов на группу стыков, бетонируемых в течение данной смены.

Испытания образцов необходимо производить по ГОСТ 10180-90 и ГОСТ 5802-86.

Методы предварительного обогрева стыкуемых поверхностей и прогрева замоноличенных стыков и швов, продолжительность и температурно-влажностный режим выдерживания бетона (раствора), способы утепления, сроки и порядок распалубливания и загружения конструкций с учетом особенностей выполнения работ в зимних условиях, а также в жаркую и сухую погоду должны быть указаны в ППР.

Данные о производстве работ по замоноличиванию стыков и швов должны ежедневно вноситься в журнал работ.

Дата замоноличивания

Наименование стыков и узлов, место или номер по чертежу или схеме

Заданные марки бетона (раствора) и рабочий состав бетонной (растворной) смеси

Температура наружного воздуха, °С

Температура предварительного обогрева элементов в узлах, °С

Температура бетона в момент укладки, °С

Результат испытания контрольных образцов бетона

Дата распалубки

Фамилия и инициалы исполнителя (бригадира), подпись

Замечания производителя работ, авторского надзора, технического надзора заказчика

1

2

3

4

5

6

7

8

9

10

Работы по замоноличиванию стыков и швов подлежат освидетельствованию с составлением актов по форме, приведенной в приложении 6 СНиП 3.01.01-85* (см. СОКК «Разработка выемок, вертикальная планировка» в альбоме часть I, выпуск 1).

Герметизация стыков крупнопанельных жилых зданий

Технические требования

ГОСТ 19177-81 Прокладки резиновые пористые уплотняющие. Технические условия.

ТУ 6-05-2048-87 Прокладки пенополиэтиленовые уплотняющие марки «Вилатерм-СМ».

ТУ 6-05-2049-87 Прокладки пенополиэтиленовые уплотняющие марки «Вилатерм-СП».

ГОСТ 14791-79 Мастика герметизирующая нетвердеющая строительная. Технические условия.

ТУ 21-29-26-78 Герметик профильный нетвердеющий Бутэпрол-2.

ТУ 21-29-58-77 Мастика герметизирующая нетвердеющая Бутэпрол-2М.

ТУ 21-29-125-89 Мастика герметизирующая нетвердеющая строительная НГМУ.

ТУ 5770-71-00284718-93 Мастика герметизирующая нетвердеющая морозостойкая строительная Тегерон.

ТУ 5770-102-00284718-95 Мастика герметизирующая нетвердеющая Гермус.

ТУ 5712-004-18009705-95 Герметик Тиксопрол-АМ.

ТУ 5772-005-03990339-96 Мастика уретановая Элур (ЛТ-2).

ТУ 5772-063-00151963-99 Мастика герметизирующая Элур-2.

ТУ 5772-012-04904388-97 Мастика ЛТ-IV.

ТУ 5772-004-04002214-2001 Хогер.

ТУ 5772-006-04002214-2000 Герметик текучий отверждающийся строительного назначения Гертекс.

ТУ 5772-002-04002214-2000 Герметик универсальный строительный ГУС.

ТУ 5770-092-00284718-94 Материал отверждающийся герметизирующий двухкомпонентный строительного назначения Гермосур.

ТУ 5770-117-05744716-99 Материал герметизирующий двухкомпонентный строительного назначения Тиксур.

ТУ 2513-030-32478306-99 Мастика герметизирующая строительного назначения (Форпол).

ТУ 2513-028-32478306-99 Герметик акрилатный строительного назначения марки Акса.

ТУ 2513-001-32478306-95 Каучук тиолсодержащий наполненный в комплекте с отвердителем (мастика СГ-1).

ТУ 2513-025-32478306-99 Каучук тиолсодержащий наполненный в комплекте с отвердителем (мастика ЛТ-1).

ТУ 2513-019-32478306-98 Мастика тиоколсодержащая строительного назначения марки АМ-0,5с.

ГОСТ 13489-79* Герметики марки У-30М и УТ-31. Технические условия.

ТУ 84-246-85 Мастики тиоколовые АМ-0,5 и КБ-0,5.

ТУ 5775-001-10404431-98 Мастики герметизирующие бутилкаучуковые.

ТУ 5772-013-17187505-95 Универсальный герметизирующе-клеевой состав строительного назначения (Унигекс).

ТУ 5772-021-17187505-96 Мастика герметизирующая неотверждающаяся строительная Супермаст.

ТУ 21-29-113-86 Отверждающаяся однокомпонентная герметизирующая мастика Геростом.

ТУ 6-02-1-362-86 Клей-герметик кремнийорганический Эластосил 137-181.

ГОСТ 24064-80 Мастики клеящие каучуковые. Технические условия.

ТУ 5772-009-05108038-98 Ленты герметизирующие самоклеящиеся «Герлен».

ТУ 5770-116-05744716-98 Лента «Герсален» липкая герметизирующая.

ТУ 5772-001 - 12205983-97 Липкая уплотнительная лента Липлен.

Стандарты и технические условия на материалы для герметизации стыков крупнопанельных зданий, предусмотренные проектом.

СНиП 3.03.01-87 Несущие и ограждающие конструкции.

СНиП 3.01.01-85* Организация строительного производства.

Контролируемые операции

Состав и средства контроля

Документация

Подготовительные работы

Проверить:

- наличие проекта, ППР, технологической карты, схемы операционного контроля качества;

- завершение и надлежащее оформление предшествующих работ по монтажу конструкций и их элементов, приемке соединений и их антикоррозионной защите (наличие актов освидетельствования скрытых работ, геодезических исполнительных схем и другой приемосдаточной документации);

- наличие паспортов и полноту содержащихся в них данных на каждую партию поступивших на строительную площадку герметизирующих материалов; комплектность и качество этих материалов;

- подготовку стыкуемых поверхностей сборных элементов;

Проект, ППР, схемы операционного контроля качества Акт приемки, акты освидетельствования скрытых работ, исполнительные схемы

Паспорта

- готовность к работе требуемых средств механизации, инвентаря и приспособлений; установку и испытание самоподъемной люльки.

Акт испытаний

Герметизация стыков крупнопанельных зданий

Контролировать:

- соблюдение заданной ППР (технологической картой) технологии герметизации стыков (соединение между собой и приклеивание к изолируемой поверхности воздухозащитных лент; установку теплоизоляционных вкладышей и уплотняющих прокладок; изоляцию стыков мастиками и т.д.);

- соответствие загерметизированных стыков требованиям проекта и нормативных документов.

Общий и специальный журналы работ

Приемка

Проверить:

- соответствие загерметизированных стыков требованиям проекта и нормативных документов;

- составление и надлежащее оформление приемо-сдаточной документации.

Акт освидетельствования скрытых работ

ВХОДНОЙ И ОПЕРАЦИОННЫЙ КОНТРОЛЬ осуществляют:

мастер (прораб), лаборант (инженер) - в процессе выполнения работ

ПРИЕМОЧНЫЙ КОНТРОЛЬ ОСУЩЕСТВЛЯЮТ:

прораб (мастер), представители технадзора заказчика

КИП - линейка и рулетка измерительные металлические, лабораторные приборы и инструмент.

Герметизация стыков крупнопанельных зданий должна осуществляться в соответствии с требованиями проекта, СНиП 3.01.01-85*, СНиП 3.03.01-87, ППР, технологической карты, схемы операционного контроля качества СМР и другой технологической документации, утвержденной в установленном порядке.

Работы по герметизации стыков должны выполняться квалифицированным персоналом, прошедшим специальную подготовку и обладающим надлежащими навыками по герметизации стыков.

Работы по герметизации стыков должны производиться по утвержденному проекту производства работ (ППР).

Запрещается осуществление строительно-монтажных работ без утвержденного проекта производства работ.

Не допускаются отступления от решений проектов производства работ без согласования с организациями, разработавшими и утвердившими их.

Герметизацию стыков следует выполнять после проверки правильности установки конструкций, приемки соединений элементов в узлах сопряжений, выполнения предусмотренного проектом антикоррозионного покрытия сварных соединений и поврежденных участков покрытия закладных изделий, замоноличивания стыков и швов сборных конструкций, входного контроля качества и комплектности поступивших герметизирующих материалов, подготовки к работе необходимых механизмов и инвентаря, подготовки стыкуемых поверхностей сборных элементов.

Качество применяемых герметизирующих материалов и их комплектность должны соответствовать требованиям стандартов и технических условий.

Резиновые пористые уплотняющие прокладки в зависимости от температурных условий эксплуатации изготавливают двух типов: ПРП-40 - для условий с температурным интервалом от минус 40 до плюс 70 °С и ПРП-60 - для условий с температурным интервалом от минус 60 до плюс 70 °С. Прокладки выпускаются круглого сечения диаметром от 10 до 50 мм, с интервалом через 5 мм, и диаметром 60 мм, а также прямоугольного сечения размерами 30×40 и 40×60 мм. Предельные отклонения линейных размеров сечения прокладок не должны превышать ± 10 % номинала. Длина прокладок - не менее 3000 мм. По соглашению изготовителя с потребителем допускается выпуск прокладок других сечений и размеров.

К качеству прокладок предъявляются следующие требования:

- прокладки должны иметь сплошную поверхностную пленку без трещин и разрывов;

- на поверхности прокладок не допускаются бугорки или углубления, завулканизированные складки высотой (глубиной) более 3 мм, отслаивание поверхностной пленки от прокладки длиной более 50 мм в количестве более 1 шт. на один метр длины, пузыри размером более 1/4 наименьшего размера сечения прокладки;

- в поперечном срезе прокладок не должно быть внутренних пустот размером более 1/4 наименьшего размера сечения прокладки.

Прокладки должны поставляться в бухтах или пачках. Каждое тарное место (масса брутто одного тарного места не должна превышать 50 кг) должно иметь этикетку. Каждая партия прокладок должна сопровождаться документом о качестве, подписанным начальником ОТК или лицом, ответственным за технический контроль.

Прокладки следует хранить в вентилируемых помещениях или навесах при температуре не выше 30 °С в условиях, исключающих попадание прямых солнечных лучей и веществ, разрушающих резину (масла, растворители, кислоты, щелочи).

Прокладки следует хранить в штабелях высотой не более 2 м при упаковке в бухты и не более 1 м при упаковке в пачки.

По истечении гарантийного срока хранения (одного года со дня изготовления) прокладки перед применением должны быть проверены на соответствие требованиям ГОСТ 19177-81.

Уплотнение стыков прокладками типа ПРП-40 следует производить при температуре не ниже минус 20 °С, типа ПРП-60 - не ниже минус 30 °С. Перед применением прокладки должны выдерживаться при температуре (20 ± 5) °С не менее 4 ч. Прокладки следует устанавливать в стыки сборных элементов без растяжения и нарушения целостности поверхностной пленки. Степень сжатия прокладок в посадочном месте от 20 до 50 %. В конструкциях прокладки должны быть защищены от воздействия прямых солнечных лучей.

Утепление стыков осуществляется плитами пенопласта полистирольного ПСБ-С по ГОСТ 15588-86 или других теплоизолирующих материалов, например, минераловатных (ГОСТ 9573-96) или стекловолокнистых (ГОСТ 10499-95) жестких плит с содержанием органических связок не более 6 % по весу.

Теплоизоляционные плиты из пенополистирольного пенопласта (ПСБ-С) не должны иметь на поверхности плит выпуклости или впадины длиной более 50 мм, шириной более 3 мм и высотой (глубиной) более 5 мм.

Материалы, применяемые для утепления стыков, обладающие повышенной влагоемкостью (например, минераловатные плиты), должны быть оклеены алюминиевой фольгой, рубероидом и т.п. материалами или обернуты полиэтиленовой пленкой (ГОСТ 10354-82*) или полиэтиленовой лентой с липким слоем (ГОСТ 20477-86*), толщиной 0,25 - 0,3 мм.

Толщина утепляющего пакета в обжатом состоянии не должна быть более 70 мм; сжимаемость материала принятого утеплителя под нагрузкой от бетона замоноличивания, не должна превышать 6 %.

Мастика герметизирующая нетвердеющая строительная (ГОСТ 14791-79) предназначается для герметизации закрытых и дренированных стыков наружных стен и для уплотнения мест примыкания оконных и дверных блоков к элементам стен при сохранении свойств в интервале температур от минус 50 до плюс 70 °С, при ширине герметизируемого стыка в пределах 10 - 30 мм и относительной деформации нетвердеющей мастики в шве не более 10 %. Мастика выпускается в виде брикетов прямоугольной формы сечением 60×30 мм и длиной до 500 мм, которые заворачиваются в полиэтиленовую пленку толщиной не более 40 мкм. По внешнему виду мастика должна быть однородной (однородность мастики определяется визуально в срезе брикета), при этом не допускается более двух включений диаметром свыше 1 мм. Брикеты упаковывают в деревянные или картонные ящики, деревянные бочки или навивные барабаны.

Каждое тарное место (масса брутто - не более 50 кг) должно иметь маркировку и этикетку, а каждая партия мастики - документ о качестве и инструкцию о применении.

Для предохранения мастики от воздействия солнечных тучей и атмосферных осадков она должна храниться в закрытых помещениях. По истечении гарантийного срока хранения (одного года со дня изготовления) мастика перед использованием подлежит проверке на соответствие требованиям ГОСТ 14791-79.

Мастика бутилкаучуковая модифицированная Гермабутил-С (ТУ 204 УССР 329-91) предназначена для герметизации стыков наружных ограждающих конструкций при температуре эксплуатации от минус 50 до плюс 80 °С.

Мастика представляет собой вязкую однородную массу, которую упаковывают в полиэтиленовые вкладыши по 10, 20, 30 и 40 кг, а затем в любую тару, обеспечивающую ее сохранность. Внешний вид мастики определяется визуально после нанесения 10 г ее на стеклянную пластинку и разравнивания ее шпателем. Мастика должна быть однородной без посторонних включений. Каждая партия мастики должна сопровождаться документом о качестве. Мастику хранят в упакованном виде в вентилируемом помещении при температуре не свыше 30 °С и предохраняют от прямых источников тепла. Мастика с истекшим сроком реализации (шесть месяцев с момента изготовления мастики) или утерявшая свои технологические свойства подлежит возврату на завод-изготовитель.

На строительной площадке в процессе входного контроля:

необходимо проверить наличие сопроводительной документации и полноту содержащихся в них данных;

по имеющейся сопроводительной документации, маркировке, этикеткам необходимо убедиться в соответствии поступивших герметизирующих материалов требованиям проекта и в том, что гарантийные сроки их хранения не истекли;

необходимо путем внешнего осмотра проверить отсутствие на герметизирующих материалах недопустимых дефектов внешнего вида;

при возникновении сомнений в соответствии качества герметизирующих материалов требованиям проекта и нормативных документов, а также при истечении сроков их гарантийного хранения должны быть вызваны представители строительной лаборатории или функциональных служб, ответственных за поставку герметизирующих материалов.

В наружных ограждающих конструкциях применяются три основных типа стыков, отличающихся конструктивным решением: закрытые, дренированные и открытые.

Закрытыми называются стыки, водоизоляция которых обеспечивается герметизацией устья стыка мастиками по уплотняющим прокладкам снаружи здания, а воздухоизоляция - оклейкой стыков лентами изнутри здания.

Дренированными называются стыки, водоизоляция которых обеспечивается за счет герметизации устья стыков мастиками по уплотняющим прокладкам снаружи здания и дополнительными конструктивными устройствами (декомпрессионными полостями и фартуками) для поэтажного отвода воды, проникающей за зону изоляции, а воздухоизоляция - уплотняющими прокладками и оклейкой стыков лентами изнутри здания.

Технология производства работ и комплект средств механизации, инструмента и приспособлений зависят от типа стыка (закрытый, дренированный или открытый) и вида герметизирующих и уплотняющих материалов.

Технологическая последовательность производства герметизационных работ включает:

подготовку стыкуемых поверхностей панелей в заводских условиях;

приготовление рабочего состава грунтовки и клеящей мастики;

огрунтовку стыкуемых поверхностей панелей в заводских условиях;

подготовительные работы к герметизации стыков на строительной площадке;

огрунтовку стыкуемых поверхностей панелей в условиях строительной площадки;

устройство дренажной зоны (для дренированных стыков), установка уплотняющих прокладок, устройство воздухоизоляции и теплоизоляции стыков;

приготовление рабочего состава герметизирующих мастик;

изоляция стыков мастиками;

нанесение защитного покрытия на нетвердеющую мастику.

Панели должны поставляться на строительную площадку с огрунтованными поверхностями, образующими стыки. Грунтовка должна образовывать сплошную пленку.

Для выполнения этого требования в заводских условиях должны быть выполнены необходимые работы по устранению дефектов стыкуемых поверхностей панелей (заделаны околы и раковины, удалены наплывы и набрызги бетона или раствора, удалены жировые пятна), поверхности должны быть просушены и огрунтованы.

В построечных условиях панели должны быть осмотрены после транспортировки и монтажа, поверхности панелей наружных стен, образующие стыки, перед выполнением работ по устройству водо- и воздухоизоляции должны быть очищены от пыли, грязи, наплывов бетона (а в зимних условиях также и от снега, инея и наледи) и просушены, поверхностные повреждения бетонных панелей в месте устройства стыков (трещины, раковины, сколы) должны быть отремонтированы с применением полимерцементных составов, жировые пятна должны быть удалены. Нарушенный грунтовочный слой должен быть восстановлен.

Очистку поверхностей панелей производят шпателями, волосяными щетками и чистыми обтирочными концами.

При очистке огрунтованных поверхностей следят за тем, чтобы не повредить слой нанесенной грунтовки. После дождя и снегопада слой грунтовки перед выполнением изоляционных работ вытирают сухой чистой ветошью.

Жировые пятна на панелях смывают растворителем.

Сушку поверхностей граней панелей производят с помощью инжекционной газовой горелки. Допускается сушка подогретым сжатым воздухом от компрессора с масловодоотделителем.

Огрунтовка поверхностей наружных стен, образующих стыки, должна производиться в заводских условиях. В условиях строительной площадки должно производиться восстановление нарушенного грунтовочного слоя и наноситься второй слой грунтовки для улучшения сцепления герметизирующих мастик с основанием и для приклеивания воздухозащитных лент.

Огрунтовку поверхностей граней панели производят путем нанесения рабочего состава грунтовки с помощью установки СО-21 или пистолетов-распылителей слоем толщиной 0,5 - 1 мм. При небольших объемах работ грунтовку можно наносить кистью или наливать с последующим разравниванием шпателем.

При нанесении грунтовки необходимо обеспечить равномерное покрытие грунтуемых поверхностей. На пористые бетонные поверхности грунтовку необходимо наносить в два слоя.

Для предупреждения попадания грунтовки на лицевую поверхность панели ее кромки на время грунтовки необходимо закрывать щитками. Необходимо также не допускать попадания грунтовки на те участки панели, которые соприкасаются с цементно-песчаным раствором или бетоном замоноличивания.

Нелипкая поверхность граней, позволяющая устанавливать уплотняющие прокладки, образуется через 30 - 60 мин после нанесения грунтовки. Оптимальные свойства грунтовка приобретает через сутки.

Воздухоизоляция вертикальных стыков осуществляется проклейкой стыка наружных панелей с внутренней стороны (со стороны «колодца») специальными воздухозащитными лентами, закрепляемыми на клеях или самоклеящими (ленты «Герволент», «Герлен-Д», бутилкаучуковые и т.д.).

Наклейка лент осуществляется одновременно с монтажом наружных стеновых панелей после их выверки и окончательного закрепления, до установки панелей внутренних стен. Наклеивают и прикладывают ленту от центра к краям так, чтобы поверхность ленты была ровной, без складок, вздутий и воздушных пузырей. Лента должна плотно прилегать к граням, повторяя все неровности и уступы на поверхности стыков. Запрещается при наклеивании вытягивать ленту. Соединять воздухозащитные ленты по высоте необходимо внахлест с длиной участка нахлеста 100 - 120 мм. Места соединения лент в колодцах вертикальных стыков должны располагаться на расстоянии не менее 0,3 м от пересечения вертикальных и горизонтальных стыков. При этом конец нижерасположенной ленты следует наклеивать поверх ленты, устанавливаемой в стыке монтируемого этажа.

Соединять ленты по высоте до замоноличивания колодцев стыков нижерасположенного этажа не допускается. Не допускается применять в качестве оклеечной воздухоизоляции рубероид и пергамин.

Работы по оклейке стыков воздухоизоляционными лентами производят преимущественно при температурах наружного воздуха не ниже 5 °С. В отдельных случаях воздухозащитные ленты допускается наклеивать при температуре не ниже минус 10 °С. При этом в любом случае перед наклеиванием ленту необходимо нагреть до температуры 30 - 50 °С. Для приклейки ленты Герволент применяются клеи типа КН-2 или 51-Г-18.

При использовании самоклеящейся воздухозащитной ленты Герлен-Д в стыки между панелями со стороны колодца устанавливают уплотняющие прокладки. Поверхность стыка в месте приклейки ленты грунтуется клеем-герметиком 51-Г-18. Лента Герлен-Д наклеивается на поверхность стыка после высыхания грунтовки (обычно через 15 - 30 мин), а при отрицательных температурах - через 60 мин после его нанесения. Для приклейки ленты край ее освобождают от защитной силиконовой бумаги на 30 - 40 см, после чего накладывают на вертикальный стык и прикатывают резиновым валиком. Затем защитную бумагу удаляют со следующего участка ленты длиной 60 - 80 см, после чего участок ленты приклеивают. Таким образом, участками длиной не более 60 - 80 см приклеивают ленту на всю высоту стыка.

Наклеенная воздухозащитная лента должна плотно прилегать к изолируемой поверхности стыков без пузырей, вздутий и складок.

Теплоизоляционные вкладыши следует устанавливать в колодцы вертикальных швов панелей наружных стен после устройства воздухоизоляции. Материалы вкладышей должны иметь влажность, установленную стандартами или техническими условиями на эти материалы. Утепление стыков осуществляется поэтажно, до монтажа внутренних стеновых панелей плитами пенопласта полистирольного ПСБ-С по ГОСТ 15588-86 или других теплоизолирующих материалов, например минераловатных (ГОСТ 9573-96) или стекловолокнистых жестких плит (ГОСТ 10499-95).

Установленные вкладыши должны плотно прилегать к поверхности колодца по всей высоте стыка и быть закреплены в соответствии с проектом.

В местах стыкования теплоизоляционных вкладышей не должно быть зазоров. При устранении зазоров между вкладышами они должны быть заполнены материалом той же объемной массы.

Уплотняющие прокладки в устьях стыков закрытого и дренированного типов следует устанавливать насухо (без обмазки клеем). В местах пересечения стыков закрытого типа уплотняющие прокладки в первую очередь следует устанавливать в горизонтальных стыках.

В стыках закрытого типа при сопряжении наружных стеновых панелей внахлест, в горизонтальных стыках дренированного типа (в зоне водоотводящего фартука), в горизонтальных стыках открытого типа, а также в стыках панелей пазогребневой конструкции допускается установка уплотняющих прокладок до монтажа панелей. При этом прокладки должны быть закреплены в проектном положении. В остальных случаях установку уплотняющих прокладок необходимо производить после монтажа панелей.

Прибивать уплотняющие прокладки к поверхностям, образующим стыковые сопряжения панелей наружных стен, не допускается.

Установку прокладок в стык осуществляют с помощью специального ролика (закатчика) или закругленной деревянной лопатки, не допуская растягивания уплотняющей прокладки.

Уплотняющие прокладки устанавливают в стыки без разрывов, обрезая концы «на ус», склеивая места соединения клеящей мастикой КН-2 или 51-Г-18 и обматывая их изоляционной лентой. Места соединения стыков должны располагаться на расстоянии не менее 0,3 м от пересечения вертикального и горизонтального стыков. Уплотнять стыки двумя скрученными вместе прокладками не допускается.

Прокладки, установленные в стыках, должны быть обжаты не менее чем на 20 % диаметра (ширины) их поперечного сечения. С этой целью при монтаже и после установки панелей наружных стен в проектное положение должен контролироваться фактический зазор между панелями и для различных зазоров иметься прокладки разных диаметров или поперечных размеров.

В горизонтальных стыках пористые резиновые прокладки на водозащитных гребнях панелей устанавливают на клее-мастике 51-Р-17 или КН-2 в процессе монтажа. Для этого сначала покрывают гребни смонтированных панелей с помощью кисти клеем-мастикой, после чего наклеивают ПРП на загрунтованную поверхность и сверху покрывают еще раз клеем-мастикой.

Герметизацию стыков выполняют по уплотняющим прокладкам нетвердеющими или отверждающими мастиками. Изоляцию стыков мастиками следует производить после установки уплотняющих прокладок путем нагнетания мастик в устье стыка электрогерметизаторами, пневматическими, ручными шприцами и другими средствами.

Допускается при выполнении ремонтных работ наносить отверждающиеся мастики шпателями. Разжижение мастик и нанесение их кистями не допускается.

При приготовлении двухкомпонентных отверждающихся мастик не допускается нарушать паспортную дозировку, и разукомплектовывать их компоненты, перемешивать компоненты вручную и добавлять в них растворители.

Температура мастик в момент нанесения при положительных температурах наружного воздуха должна быть 15 - 20 °С. В зимние периоды температура, при которой наносят мастику, а также температура мастики в момент нанесения должны соответствовать указанным в технических условиях завода - изготовителя мастики. При отсутствии в технических условиях соответствующих указаний температура мастик в момент нанесения должна составлять: для нетвердеющих минус 35 - 40 °С, для отверждающихся - минус 15 - 20 °С.

Мастику наносят не позже чем через 1 ч после подготовки поверхности. Уложенный в стык слой мастики должен быть ровным, не иметь разрывов и наплывов и должен плотно прилипать к кромкам элементов. После укладки в стык слой мастики уплотняют с помощью металлической или деревянной расшивок, смоченных в воде или мыльном растворе, разравнивают и придают его поверхности заданную форму. Герметизацию стыков большой ширины выполняют в два приема: сначала вдоль граней стыкуемых панелей, а затем посередине.

Технология и применяемые средства выполнения работ зависят от вида мастик.

Расположение изолирующих материалов в устьях стыков
(слева - вертикальных, справа - горизонтальных)

а) - стыки с нетвердеющими мастиками, защищенные полимерцементными растворами; б) - покрытые водозащитными красками; в) - стыки с отверждающими мастиками; 1 - полимерцементные растворы; 2 - нетвердеющие мастики; 3 - отверждающиеся мастики; 4 - уплотняющая прокладка.

Герметизация стыков наружных стен нетвердеющими мастиками заключается в заполнении ими швов между панелями на глубину не менее 20 мм.

Мастики наносят в стыки при помощи электрогерметизаторов типа ИЭ-6602, «Стык-20» и «Шмель». Электрогерметизаторы подключают к сети через преобразователи мощностью 4,5 кВт. Процесс нанесения мастики с помощью электрогерметизаторов заключается в следующем: жгут или пакеты мастики подаются в приемный бункер электрогерметизатора, захватываются шнеком (рабочим органом) и, проходя через формующую насадку, нагнетаются в полость стыков.

За счет сил трения мастика нагревается и на выходе из формующей насадки достигает 20 - 25 °С. Полиэтиленовая пленка (упаковки мастики) в процессе нагнетания мастик в стыки захватывается шнеком, разрывается на мелкие части и перемешивается с мастикой в рабочем органе электрогерметизатора. Включение мелких кусочков полиэтиленовой пленки создает дополнительное армирование мастикой, что увеличивает ее теплостойкость.

Операцию по нанесению мастики выполняют в следующем порядке. В загрузочное устройство герметизатора вставляется конец брикета мастики и на короткое время включается герметизатор. Это обеспечивает закрепление брикета мастики в приемном устройстве герметизатора.

Формующая насадка герметизатора вводится в полость стыка одновременно с включением. По мере заполнения полости стыка мастикой герметизатор перемещается вдоль герметизируемого стыка.

При температуре наружного воздуха ниже 10 °С нанесение мастики с помощью электрогерметизатора производится с включенным обогревающим устройством. В зимнее время мастику предварительно подогревают в термошкафу для того, чтобы на выходе из формующей насадки ее температура была 35 - 40 °С.

Для хранения брикетов подогретой мастики на рабочем месте их целесообразно помещать в ящик-термос или термошкаф.

Работы по нанесению нетвердеющих мастик (ГОСТ 14791-79) допускается производить при температуре наружного воздуха не ниже минус 20 °С, тегерон наносят при температуре до минус 25 °С.

Тиоколовые мастики поступают на объекты в виде двух компонентов: герметизирующей и отверждающей пасты. Приготовление тиоколового герметика (дозирование и перемешивание герметизирующей и отверждающей пасты) производят на месте производства работ порциями, которые могут быть израсходованы в течение 1 - 3 ч. Для приготовления мастики и заправки ее в шприцы применяют специальное смесительно-заправочное устройство. Перемешивание основной и отверждающей паст в смесительно-заправочном устройстве производят при положительной температуре при помощи электродрели, в патрон которой закрепляется лопастной смеситель. Перемешивание должно производиться тщательно в течение 3 - 5 мин., чтобы все частицы основной пасты были смешаны с отверждающей.

Нанесение мастики в стыки производят при помощи пневматических или ручных шприцев, а также шпателями. Работы разрешается производить при температуре окружающего воздуха 5 °С. Наносить мастику можно только на сухие поверхности. Температура герметика независимо от температуры наружного воздуха должна быть 15 - 20 °С. При необходимости его подогревают в электрошкафах. Заправка гильз шприцев производится с помощью того же смесительно-заправочного устройства. Нанесение мастики в стыки производится по упругой подоснове путем постепенного перемещения шприца вдоль герметизируемого стыка с одновременным плавным нажатием на курок.

Скорость перемещения шприца вдоль стыка должна выбираться такой, чтобы обеспечить толщину слоя мастики в соответствии с требованиями проекта.

Мастика бутилкаучуковая модифицированная Гермабутил-С однокомпонентна. Мастика наносится как на сухую, так и на влажную поверхность при температуре окружающего воздуха от минус 20 до плюс 30 °С.

Мастика эластосил-1106 поставляется на объекты в готовом к применению виде, упакованной в герметичные, влагонепроницаемые патроны или тубы массой около 2 кг в комплекте с праймером 141-50. Праймер поставляется в 50 %-ной концентрации и его перед нанесением разбавляют органическими растворителями, бензином или толуолом до 25 %-ной концентрации. Работы по нанесению мастики можно производить при температуре наружного воздуха до минус 10 °С. Мастика наносится на сухие поверхности после высыхания праймера через 15 - 20 мин. Зимой время высыхания увеличивается до 30 мин. Мастику наносят при помощи пневматических или ручных шприцев.

Нанесенный слой мастики (вне зависимости от ее вида) должен заполнить без пустот все устье стыка до упругой прокладки, не иметь разрывов, наплывов.

Толщина нанесенного слоя мастики должна соответствовать установленной проектом. Предельное отклонение толщины слоя мастики от проектной не должно превышать плюс 2 мм.

Сопротивление нанесенных мастик отрыву от поверхности панели должно соответствовать показателям, приведенным в соответствующих стандартах или технических условиях на мастику.

Защита нанесенного слоя нетвердеющей мастики должна быть выполнена материалами, указанными в проекте. При отсутствии специальных указаний в проекте для защиты могут быть применены полимерцементные растворы, ПВХ, бутадиенстирольные или кумаронокаучуковые краски. На нетвердеющие мастики защитные покрытия можно наносить непосредственно после герметизации стыков, на отверждающиеся - после их отверждения, но не ранее чем через сутки после герметизации стыков. Запрещается применять в качестве защитного покрытия цементно-песчаный раствор.

В стыках открытого типа применяют водоотбойные экраны. Жесткие водоотбойные экраны (поливинилхлоридные профили по ТУ 21-29-78-82; лента алюминиевая гофрированная) следует вводить в вертикальные каналы открытых стыков сверху вниз до упора в водоотводящий фартук.

При применении жестких водоотбойных экранов в виде гофрированных металлических лент их следует устанавливать в вертикальные стыки так, чтобы раскрытие крайних гофр было обращено к фасаду. Экран должен входить в паз свободно. При раскрытии вертикального стыка панелей более 20 мм следует устанавливать две ленты, склепанные по краям.

Гибкие водоотбойные экраны (лента из листа стабилизированного полиэтилена высокого давления по ГОСТ 16337-77*, лента из листа частично вспененного стабилизированного полиэтилена, лента из резинового листа по ГОСТ 7338-90) устанавливают в вертикальные стыки как снаружи, так и изнутри здания.

При установке в устье стыка гибкую ленту следует сжать, придав ей в поперечном сечении дугообразную форму, и вводить в стык, двигаясь вдоль оси стыка до тех пор, пока она не распрямится, разместившись в вертикальном канале.

Неметаллические водоотводящие фартуки из упругих материалов (резиновый лист по ГОСТ 7338-90, фольгоизол по ГОСТ 20429-84*) следует наклеивать на верхние грани стыкуемых панелей на длину не менее 100 мм в обе стороны от оси вертикального стыка. Для наклейки резиновых фартуков используют клеи типа КН, фартуков из фольгоизола - резинобитумные мастики.

Изоляцию стыков между оконными (балконными дверными) блоками и четвертями в проемах ограждающих конструкций следует выполнять путем нанесения нетвердеющей мастики на поверхность четверти перед установкой блока, либо путем нагнетания мастики в зазор между оконными блоками и ограждающими конструкциями после закрепления блока в проектном положении. Места примыкания металлических подоконных сливов к коробке также надлежит изолировать нетвердеющей мастикой.

При изоляции стыков между оконными блоками и ограждающими конструкциями с проемами без четверти перед нанесением мастик следует устанавливать уплотняющую прокладку.

Контроль качества работ по герметизации стыков включает:

входной контроль качества исходных материалов;

контроль работ по подготовке стыкуемых поверхностей к герметизации;

операционный контроль качества выполнения работ по герметизации стыков;

приемочный контроль выполненных работ и загерметизированных поверхностей.

Производственный контроль качества выполнения работ (входной, операционный и приемочный) на строительной площадке осуществляет производитель работ и мастер. В необходимых случаях, предусмотренных ППР и технологической картой, а также по требованию технадзора заказчика к контролю привлекается строительная лаборатория (испытание исходных материалов, влажность поверхностей, подлежащих герметизации, качество нанесенных покрытий, их толщину и сцепление с бетонной поверхностью, качество наклейки воздухозащитной пленки, испытание стыков и элементов ограждений на воздухопроницаемость и водопроницаемость и т.д.).

Приемочный контроль законченных работ по герметизации осуществляется производителем работ совместно с представителем технадзора заказчика.

Выполнение работ по изоляции стыков должно ежедневно фиксироваться в журнале работ, а выполненные работы должны предъявляться к приемке техническому надзору заказчика по акту на освидетельствование скрытых работ по форме, приведенной в приложении 6 СНиП 3.01.01-85* (см. СОКК «Разработка выемок, вертикальная планировка» в альбоме часть I, выпуск 1).



Антикоррозионная защита закладных и соединительных изделий

Технические требования

ГОСТ 12601-76* «Порошок цинковый. Технические условия».

ГОСТ 13073-77* «Проволока цинковая. Технические условия».

ГОСТ 7871-75* «Проволока сварочная из алюминия и алюминиевых сплавов. Технические условия».

ТУ 16.К71-088-90 «Проволока алюминиевая круглая электротехническая».

ГОСТ 14838-78* «Проволока из алюминия и алюминиевых сплавов для холодной высадки. Технические условия».

Стандарты и технические условия на материалы для антикоррозионной защиты закладных и соединительных изделий.

СНиП 3.03.01-87 «Несущие и ограждающие конструкции».

СНиП 3.04.03-85 «Защита строительных конструкций и сооружений от коррозии».

СНиП 2.03.11-85 «Защита строительных конструкций от коррозии».

ГОСТ 9.304-87 «ЕСЗКС. Покрытия газотермические. Общие требования и методы контроля»

Антикоррозионная защита закладных и соединительных изделий должна осуществляться в соответствии с требованиями СНиП 3.03.01-87, СНиП 3.01.01-85*, СНиП 3.04.03-85, проекта, ППР, технологических карт, схем операционного контроля качества и другой технологической документации, утвержденной в установленном порядке.

Работы по антикоррозионной защите закладных и соединительных изделий должны осуществлять строительно-монтажные организации, получившие лицензию на выполнение строительно-монтажных работ в Федеральных или местных лицензионных органах.

Работы по антикоррозионной защите закладных и соединительных изделий должны выполняться квалифицированным персоналом, прошедшим специальную подготовку и обладающим надлежащими навыками по антикоррозионной защите.

При выполнении строительно-монтажных работ должно быть обеспечено соблюдение строительных норм и правил, проекта ППР.

Работы по антикоррозионной защите закладных и соединительных изделий должны производиться по утвержденному проекту производства работ (ППР).

Контролируемые операции

Состав и средства контроля

Документация

Подготовительные работы

Проверить:

- завершение и надлежащее оформление предшествующих работ по монтажу конструкций и их элементов, приемке соединений (наличие акта приемки или актов освидетельствования скрытых работ, геодезических исполнительных схем и другой приемо-сдаточной документации);

Акт приемки, акты освидетельствования скрытых работ; исполнительные схемы

- наличие ППР, технологических карт и схем операционного контроля качества;

- наличие документов о качестве на каждую партию материалов для антикоррозионных покрытий; внешним осмотром качество этих материалов;

- подготовку поверхностей закладных и соединительных изделий сборных элементов; подготовку материалов для антикоррозионных покрытий;

- готовность к работе оборудования для нанесения антикоррозионных покрытий

 ППР, технологические карты, СОКК

Журнал производства антикоррозионных работ

Антикоррозионная защита закладных и соединительных изделий

Контролировать:

- соблюдение заданной ППР технологии нанесения антикоррозионных покрытий (температуру окружающего воздуха и на поверхности металла, режим работы установки по нанесению покрытия; число слоев покрытия, общую толщину и т.д.);

Журнал производства антикоррозионных работ

Приемка

Проверить:

- соответствие выполненных антикоррозионных покрытий требованиям проекта и нормативных документов;

- составление и надлежащее оформление приемо-сдаточной документации

Акт освидетельствования скрытых работ; акт приемки покрытия

ВХОДНОЙ И ОПЕРАЦИОННЫЙ КОНТРОЛЬ осуществляют:

мастер (прораб), лаборант (инженер) - в процессе выполнения работ

ПРИЕМОЧНЫЙ КОНТРОЛЬ ОСУЩЕСТВЛЯЮТ

прораб (мастер), работники отдела контроля качества СМР, представители технадзора заказчика

КИП - лабораторные приборы и оборудование

Запрещается осуществление строительно-монтажных работ без утвержденного проекта производства работ.

Не допускаются отступления от решений проектов производства работ без согласования с организациями, разработавшими и утвердившими их.

Антикоррозионную защиту закладных и соединительных изделий следует выполнять после проверки правильности установки конструкций, приемки соединений элементов в узлах сопряжений, входного контроля качества поступивших на строительную площадку материалов для нанесения покрытий, подготовки к работе необходимых установок для нанесения покрытий, подготовки поверхностей закладных и соединительных изделий сборных элементов.

Качество применяемых материалов для антикоррозионных покрытий должно соответствовать требованиям стандартов и технических условиям.

При газопламенном способе нанесения антикоррозионных покрытий применяют порошок цинка, выпускаемый промышленностью. Цинковый порошок должен быть светло-серого или серого цвета. Он не должен содержать посторонних примесей: кусочков металла, керамики, глазури, комков, гранул, окатышей. Цинковый порошок поставляется в специальной герметичной таре: металлических контейнерах, флягах, барабанах, мешочках. Допускается по согласованию с потребителем герметичная пластмассовая или металлическая тара другой формы. Хранить цинковый порошок следует в плотно закрытой таре, не пропускающей воздух. Слежавшийся после длительного хранения порошок перед употреблением необходимо просушить, разрыхлить и просеять.

Для нанесения покрытий способом электрометаллизации применяют цинковую проволоку диаметром 1,5 и 1 мм, марки ЦТ (ГОСТ 13073-77*), содержащую 99,9 % чистого цинка. При производстве работ в зимнее время рекомендуется применять проволоку диаметром 1,5 мм. Цинковую проволоку следует хранить в сухих закрытых помещениях. Перед употреблением проволоку выравнивают, удаляют грязь, окислы, жир и влагу.

Для нанесения алюминиевых покрытий применяют проволоку алюминиевую сварочную марок Св-А85, Св-А5, Св-АМц, Св-Амг3, Св-АМг5 (ГОСТ 7871-75*), проволоку алюминиевую круглую электротехническую марок АГ и АНТ (ТУ 16.К71-088-90) из алюминия марок А5 и А7 (ГОСТ 11069-74*) и проволоку из алюминия, алюминиевых сплавов для холодной высадки марок АД1, AMц, АМг2 (ГОСТ 14838-78*).

Цинковые протекторные грунты представляют собой смесь наполнителя, цинковой пыли и лаковой основы. В состав грунта входят 80 - 95 % (по массе) цинковой пыли.

Материалы для цинковых протекторных грунтов: ацетон - ГОСТ 2768-84*; растворитель (разжижитель Р-4 или P-5) - ГОСТ 7827-74*; перхлорвиниловый лак ХСЛ - ГОСТ 7313-75*.

Цинковые протекторные грунты готовятся путем смешения лака ХСЛ с цинковой пылью. Для разбавления загустевшего лака ХСЛ или готового протекторного грунта до рабочей вязкости применяется растворитель Р-4 или Р-5. Растворитель должен быть прозрачный, без мути, расслоений, взвешенных частиц, бесцветным или слегка желтоватого цвета. Перхлорвиниловый лак должен быть однородным, без посторонних примесей, комков и пленок.

На строительной площадке в процессе входного контроля материалов для антикоррозионных покрытий:

необходимо проверить наличие сопроводительной документации и полноту содержащихся в них данных;

по имеющейся сопроводительной документации, маркировке, ярлыкам необходимо убедиться в соответствии поступивших материалов требованиям проекта;

необходимо путем внешнего осмотра проверить отсутствие недопустимых дефектов внешнего вида материалов, а также целостность упаковки;

при возникновении каких-либо сомнений в качестве поступивших материалов должны быть вызваны представители строительной лаборатории или функциональных служб, ответственных за поставку материалов.

Антикоррозионное покрытие сварных соединений, а также участков закладных изделий и связей надлежит выполнять во всех местах, где при монтаже и сварке нарушено заводское покрытие. Способ антикоррозионной защиты и толщина наносимого слоя должны быть указаны в проекте.

Защиту от коррозии необетонируемых стальных закладных изделий и соединительных элементов железобетонных конструкций следует предусматривать:

лакокрасочными покрытиями в помещениях с сухим или нормальным влажностным режимом при неагрессивной и слабоагрессивной степени воздействия среды;

металлическими покрытиями (цинковыми и алюминиевыми) в помещениях с влажным или мокрым режимом при неагрессивной или слабоагрессивной степени воздействия среды;

комбинированными покрытиями (лакокрасочными по металлизационному слою) при средней и сильной степени агрессивного воздействия среды.

Закладные изделия и соединительные элементы в стыках наружных ограждающих конструкций, подвергающиеся увлажнению атмосферной влагой, конденсатом, промышленными водами, независимо от степени агрессивного воздействия среды должны быть защищены металлическими или комбинированными покрытиями.

Для защиты закладных изделий в конструкциях из бетонов автоклавного твердения, а также для защиты закладных изделий и соединительных элементов в конструкциях зданий и сооружений с агрессивными газообразными средами, содержащими сернистый газ и сероводород, должны быть предусмотрены алюминиевые покрытия.

В строительстве применяют три метода нанесения на поверхность стальных элементов цинковых покрытий: горячее цинкование, когда покрываемая деталь погружается в расплавленный металл; гальванизация - при помощи электроосаждения в специальных ваннах; металлизация напылением.

Методом горячего цинкования или гальванизации наносятся покрытия в заводских условиях.

Методом металлизации напылением можно наносить цинковые или алюминиевые покрытия как в заводских условиях, так и на строительной площадке.

Толщина металлизационных покрытий и металлизационного слоя в комбинированных покрытиях должна быть для цинковых и алюминиевых покрытий не менее 120 мкм.

Металлизация напылением в настоящее время является лучшим средством защиты от коррозии стальных деталей в построечных условиях. Нанесение металлизационных покрытий производится способами газопламенного напыления или электрометаллизацией.

Наряду с методом металлизации для защиты сварных швов и поврежденного при сварке цинкового покрытия закладных изделий в случаях, когда эти покрытия были нанесены горячим цинкованием или гальванизацией, допускается применение протекторных грунтов.

Для улучшения защитного действия и долговечности цинкового покрытия или протекторного грунта рекомендуется поверх них наносить один слой битумного лака.

Проволока, используемая для создания металлизационного покрытия, должна быть гладкой, чистой, без перегибов и не иметь вспученных оксидов. При необходимости проволоку очищают от консервационной смазки растворителями, от загрязнений - наждачной бумагой № 0.

Непосредственно перед нанесением антикоррозионных покрытий защищаемые поверхности закладных изделий, связей и сварных соединений должны быть очищены от остатков сварочного шлака, брызг металла, жиров и других загрязнений. Шлак и ржавчина снимаются с помощью молотков, зубил, ручными и механическими стальными щетками. В дождливую погоду или в зимнее время до нанесения защитного слоя удаляют влагу с поверхности сварных соединений. Снег, наледь и воду с металлических связей удаляют теплым воздухом или пламенем газовой горелки.

Металлизация вручную должна осуществляться путем последовательного нанесения взаимно перекрывающихся параллельных полос. Покрытия наносят в несколько слоев, при этом каждый последующий слой следует наносить так, чтобы его проход был перпендикулярен проходам предыдущего слоя.

Способ газопламенного нанесения покрытий менее трудоемок, чем способ электрометаллизации, а установка для газопламенного напыления покрытий дешевле и легче электрометаллизационных установок. Поэтому этому способу нанесения покрытий в построечных условиях следует отдать предпочтение.

Антикоррозионные покрытия газопламенным способом наносят с помощью агрегатов для газопламенного напыления порошковых материалов (УПАГ-1), газопламенной установки УГПЛ и газового металлизатора МГИ-4.

Для прочного сцепления защитного слоя с основанием сварные швы и закладные детали перед нанесением покрытия должны быть нагреты нейтральным пламенем распылительной горелки до 250 - 350 °С. Необходимая толщина покрытия достигается за несколько проходов распылительной горелки. Слои покрытия должны перекрывать один другой. Особо тщательно следует покрывать зазоры между закладными деталями и соединительными связями, углы и ребра изделий.

Прочность сцепления покрытия с основанием зависит от режима работы установки: температуры пламени горелки, давления сжатого воздуха и расстояния от насадки горелки до покрываемой поверхности, угла наклона горелок. Расстояние от горелки до покрываемой поверхности должно составлять 70 - 200 мм. Угол наклона струи расплавленного металла к поверхности должен составлять 90 - 75°. В труднодоступных местах допускается производить металлизацию при наклоне струи менее 75° (но не меньше 45°). При металлизации изделия не должны нагреваться выше 150 - 200 °С.

Нанесение покрытий способом электрометаллизации производится с помощью комплекта КДМ-2 или ручного электродугового аппарата ЭМ-14М. Для питания электрической дуги металлизационных аппаратов применяются источники питания постоянного тока с жесткой вольт-амперной характеристикой и плавной регулировкой напряжения, преобразователи типа ПСГ-500 и ПСУ-500 (ГОСТ 304-82*) или выпрямители типа ВС-600 и др. В комплект входят также компрессоры производительностью 0,5 - 1 м3/мин.

Принцип работы электрометаллизационных аппаратов: при соприкосновении с электрической дугой проволока расплавляется и капли металла распыляются струей сжатого воздуха. Для лучшего сцепления покрытий, наносимых способом электрометаллизации на стальные соединения, поверхность последних делают шероховатой.

На металлические детали покрытие наносят сразу же после подготовки поверхности. Разрыв во времени между подготовкой поверхности и напылением не должен превышать 3 - 4 ч. Для нанесения антикоррозионного покрытия оператор заправляет в подающий механизм электрометаллизатора проволоку. По окончании процесса подготовки и регулирования электрометаллизатора последовательно включают подачу воздуха и электрического тока и производят напыление. Чтобы достигнуть необходимой толщины защитного покрытия (150 - 200 мм), его наносят в три-четыре слоя. Скорость перемещения электрометаллизатора 1 м/мин.

Для обеспечения высокого качества металлизационного покрытия при напылении защитного металла необходимо соблюдать следующие условия:

расстояние от точки плавления проволоки до защищаемой поверхности должно быть в пределах 80 - 150 мм;

оптимальный угол нанесения металловоздушной струи должен быть 65 - 80°;

оптимальная толщина одного слоя должна быть 50 - 60 мкм;

температура защищаемой поверхности при нагреве не должна превышать 150 °С.

Антикоррозионная защита сварных соединений цинковым протекторным грунтом на перхлорвиниловой основе производятся как при положительной, так и при отрицательной температуре воздуха до - 20 °С. Грунт готовится простым смешением лака ХСЛ с цинковой пылью. Рекомендуемый состав грунта приведен в нижеприведенной таблице. Для разбавления загустевшего лака ХСЛ или готового протекторного грунта до рабочей вязкости применяется растворитель Р-4 или Р-5.

Температура воздуха, °С

Состав грунта, г

цинковая пыль

лак ХСЛ

ацетон

Выше + 5

400

250

 

От + 5 до - 20

400

200-150

40-50

Перед нанесением грунта поверхность деталей тщательно очищают, при мокрой погоде подсушивают, а при отрицательной температуре окружающего воздуха также и подогревают. Грунт наносится кистью за один прием по сухой поверхности, толщина защитной пленки 0,15 - 0,2 мм. Покрытие должно быть ровным, не иметь видимых пузырьков и трещин. Перед употреблением и в процессе нанесения грунт необходимо перемешивать, так как он может расслаиваться. Для приготовления грунта и сохранения его рабочей вязкости при работе в условиях отрицательных температур пользуются ручным комбинированным бачком РКВ-1 конструкции Мосоргстроя.

Производственный контроль качества работ должен осуществляться на всех этапах подготовки и выполнения антикоррозионных работ.

При входном контроле проверяют наличие и комплектность рабочей документации, соответствие материалов государственным стандартам и техническим условиям, а также производят освидетельствование защитных покрытий, нанесенных на заводе-изготовителе.

При операционном контроле проверяют подготовку поверхности, соблюдение условий производства антикоррозионных работ (температуру и влажность окружающего воздуха и защищаемых поверхностей, чистоту сжатого воздуха), толщину отдельных слоев и общую толщину законченного защитного покрытия и другие показатели согласно требованиям проекта.

Результаты производственного контроля качества работ должны заноситься в журнал производства антикоррозионных работ.

По мере выполнения законченных промежуточных видов антикоррозионных работ и после окончания всех работ по защите от коррозии должно производиться их освидетельствование и приемка защитного покрытия в целом.

Монтаж перегородок из гипсокартонных листов и панелей

Технические требования

ГОСТ 6266-97 Листы гипсокартонные. Технические условия.

ТУ 5742-004-03515377-97, ТУ 21-31-69-89 Листы гипсоволокнистые.

ТУ 400-1-231-90 Панель отделочная гипсокартонная.

ТУ 1111-004-04001508-95 Профили оцинкованные металлические.

ТУ 400-28-287-81 Металлические холодноформованные профили.

ГОСТ 9573-96 Плиты теплоизоляционные из минеральной ваты на синтетическом связующем. Технические условия.

ГОСТ 21880-94 Маты минераловатные прошивные для тепловой изоляции промышленного оборудования. Технические условия.

ГОСТ 10499-95 Изделия теплоизоляционные из стеклянного штапельного волокна. Технические условия.

Стандарты и технические условия на листы гипсокартонные, листы гипсоволокнистые, панели и комплектующие изделия и материалы, предусмотренные проектом.

СНиП 3.03.01-87 Несущие и ограждающие конструкции.

СНиП 3.01.01-85* Организация строительного производства.

Серия 1.131.9-24 Перегородки из гипсокартонных листов для жилых зданий, выпуск 1 (перегородки панельные на деревянном каркасе), выпуск 2 (перегородки поэлементной сборки на деревянном каркасе), выпуск 3 (перегородки поэлементной сборки на металлическом каркасе).

Входной контроль гипсокартонных и гипсоволокнистых листов и панелей, а также комплектующих изделий и материалов должен осуществляться в соответствии с требованиями проекта, ГОСТ 6266-97, ТУ 400-1-231-90, ТУ 5742-004-03515377-97, стандартами и техническими условиями на комплектующие изделия и материалы, а также требованиями технологической документации, утвержденной в установленном порядке.

Контролируемые операции

Состав и средства контроля

Документация

Подготовительные работы

Проверить:

- наличие проекта, ППР, технологической карты, схемы операционного контроля качества работ по монтажу перегородок из гипсокартонных листов и панелей;

- завершение всех, предусмотренных проектом, предшествующих работ и надлежащее их оформление;

- наличие документов о качестве на поступившие на строительную площадку гипсокартонные листы, панели и другие материалы, соответствие их требованиям проекта и нормативных документов; маркировку листов, панелей и наличие штампа ОТК;

- внешним осмотром отсутствие недопустимых дефектов внешнего вида на листах и панелях; подготовку и очистку опорных поверхностей от загрязнений; разбивку осей и разметку проектного положения перегородок.

Проект, ППР, технологическая карта, СОКК

Акты приемки, акты на скрытые работы, исполнительные геодезические схемы

Документы о качестве

Монтаж перегородок из гипсокартонных листов и панелей

Контролировать:

- соблюдение заданной ППР (технологической картой) технологии монтажа перегородок из гипсокартонных листов и панелей;

- установку перегородок в проектное положение; надежность крепления листов, устойчивость каркаса, качество поверхности.

Общий журнал работ

Приемка

Проверить:

- соответствие фактического положения перегородок требованиям проекта и нормативных документов;

- составление и надлежащее оформление приемо-сдаточной документации.

Акт приемки

Акты освидетельствования скрытых работ

ВХОДНОЙ И ОПЕРАЦИОННЫЙ КОНТРОЛЬ осуществляют:

мастер (прораб), геодезист - в процессе производства работ

ПРИЕМОЧНЫЙ КОНТРОЛЬ ОСУЩЕСТВЛЯЮТ:

прораб (мастер), представители технадзора заказчика

КИП - линейка и рулетка измерительные металлические, отвес строительный, шнур разметочный и т.д.

ГОСТ 6266-97 Листы гипсокартонные. Технические условия

Стандарт распространяется на гипсокартонные листы, предназначенные для отделки стен, устройства перегородок, подвесных потолков, огнезащиты конструкций, изготовления декоративных и звукопоглощающих изделий.

В зависимости от свойств и области применения листы подразделяют на следующие виды:

- обычные (ГКЛ);

- влагостойкие (ГКЛВ);

- с повышенной сопротивляемостью воздействию открытого пламени (ГКЛО);

- влагостойкие с повышенной сопротивляемостью воздействию открытого пламени (ГКЛВО).

По внешнему виду и точности изготовления листы подразделяют на две группы: А и Б.

По форме продольные кромки листов подразделяют на типы, приведенные ниже.

Номинальные размеры листов приведены в нижеследующей таблице.

Наименование показателя

Значение, мм

Длина

2000 - 4000 с шагом 50

Ширина

600; 1200

Толщина

6,5; 8,0; 9,5; 12,5; 14,0; 16,0; 18,0; 20,0; 24,0

Примечание: По согласованию изготовителя с потребителем могут быть изготовлены листы других номинальных размеров.

Предельные отклонения от номинальных размеров не должны быть более указанных в нижеследующей таблице.

Толщина листов

Предельные отклонения от номинальных размеров для листов группы, мм

А

Б

по длине

по ширине

по толщине

по длине

по ширине

по толщине

До 16 включ.

0; - 5

0; - 5

± 0,5

± 0,8

0; - 5

± 0,5

Св. 16

0; - 5

0; - 5

± 0,9

± 0,8

0; - 5

± 0,9

Листы должны иметь в плане прямоугольную форму. Отклонение от прямоугольности не должно быть 3 мм для листов группы А и 8 мм - для листов группы Б.

Условное обозначение листов должно состоять из: буквенного обозначения вида листов (ГКЛ, ГКЛВ, ГКЛО, ГКЛВО), обозначения группы листов (А, Б), обозначения типа продольных кромок листов (ПК, УК, ПЛК, ПЛУК, ЗК), цифр, обозначающих номинальную длину, ширину и толщину листа в мм; обозначения данного стандарта. Пример условного обозначения обычного гипсокартонного листа группы А с утоненными с лицевой стороны кромками длиной 3000 мм, шириной 1200 мм и толщиной 12,5 мм:

ГКЛ-А-УК-3000×1200×12.5 ГОСТ 6266-97

Для листов группы А не допускаются повреждения углов и продольных кромок.

Для листов группы Б не допускаются повреждения углов и продольных кромок (малозначительные дефекты), размеры и количество которых превышают нижеприведенные значения.

Наименование показателя

Значение для одного листа, не более

Повреждение углов:

 

- длина наибольшего катета, мм

20

- число, шт.

2

Повреждение продольных кромок:

 

- длина, мм

20

- глубина, мм

5

- число, шт.

2

Число листов с малозначительными дефектами не должно быть более двух от числа листов, отобранных для контроля.

Водопоглощение листов ГКЛВ и ГКЛВО не должно быть более 10 %.

Сопротивляемость листов ГКЛО и ГКЛВО воздействию открытого пламени должна быть не менее 20 мин.

Маркировка листов должна быть произведена на тыльной стороне каждого изделия несмываемой краской при помощи трафаретов, штампов или другим способом, обеспечивающим необходимое качество маркировки. Маркировка должна быть отчетливой и содержать: товарный знак или (и) наименование изготовителя, условное обозначение листов, кроме обозначения группы листов (А и Б). Надписи должны быть выполнены на листах ГКЛ и ГКЛВ синим цветом, а на листах ГКЛО и ГКЛВО - красным цветом.

Маркировка транспортных пакетов должна быть произведена при помощи ярлыков, прикрепляемых к пакету любым способом, обеспечивающим его сохранность при транспортировании. На ярлыке должно быть указано: наименование изготовителя и (или) его товарный знак; условное обозначение листов; номер партии и дата ее изготовления; количество листов в квадратных метрах и (или) в штуках; штамп службы технического контроля.

Каждое грузовое место должно иметь транспортную маркировку по ГОСТ 14192-96, на него должны быть нанесены манипуляционные знаки «Хрупкое. Осторожно» и «Беречь от влаги».

Листы транспортируют всеми видами транспорта в соответствии с Правилами перевозок грузов, действующими на данном виде транспорта, и требованиями другой документации, утвержденной в установленном порядке.

Транспортирование листов осуществляют в пакетированном виде. Транспортные пакеты формируют из листов одного вида, группы, типа продольных кромок и размеров с использованием поддонов или подкладок, которые изготавливают из древесины, гипсокартонных листов и других материалов. В качестве обвязок применяют стальную или синтетическую ленту. По согласованию с потребителем допускается транспортировать листы в непакетированном виде.

Габариты пакетов не должны превышать по длине 4100 мм, по ширине 1300 мм, по высоте 800 мм; масса пакета не должна превышать 3000 кг.

Листы следуют хранить в помещениях с сухим и нормальным влажностным режимом раздельно по видам и размерам.

Транспортные пакеты листов при хранении у потребителя могут быть установлены друг на друга в штабели высотой не более 3,5 м.

На строительной площадке в процессе входного контроля материалов для монтажа перегородок из гипсокартонных листов и панелей:

необходимо проверить наличие сопроводительной документации и полноту содержащихся в них данных;

по имеющейся сопроводительной документации, маркировке, ярлыкам необходимо убедиться в соответствии поступивших материалов требованиям проекта;

необходимо путем внешнего осмотра проверить отсутствие недопустимых дефектов внешнего вида материалов, а также целостность упаковки.

при возникновении каких-либо сомнений в качестве поступивших материалов должны быть вызваны представители строительной лаборатории или функциональных служб, ответственных за поставку материалов.

Монтаж перегородок из гипсокартонных листов должен осуществляться в соответствии с требованиями проекта, СНиП 3.01.01-85*, СНиП 3.03.01-87, ППР, технологических карт, схем операционного контроля качества СМР и другой технологической документации, утвержденной в установленном порядке.

Монтаж перегородок из гипсокартонных листов должны осуществлять строительно-монтажные организации, получившие лицензию на выполнение этих работ (возведение несущих и ограждающих конструкций зданий и сооружений) в Федеральном или региональных лицензионных центрах.

Монтаж перегородок должен выполняться квалифицированным персоналом, прошедшим специальную подготовку и обладающим надлежащими навыками по монтажу строительных конструкций.

Производству работ по монтажу перегородок из гипсокартонных листов должны предшествовать:

завершение и надлежащее оформление всех общестроительных и специальных работ (до устройства чистых полов), когда все «мокрые» процессы закончены, выполнены разводки электротехнических и санитарно-технических систем, а также опробованы системы водоснабжения и отопления;

разработка проекта производства работ по монтажу перегородок из гипсокартонных листов, разработка технологической карты и схемы операционного контроля качества на выполнение этого вида работ (с использованием соответствующей типовой документации);

проверка неизменности положения знаков разбивочной сети здания (сооружения); выполнение разбивочных работ на исходном и монтажных горизонтах по выносу осей перегородок и разметке проектного положения перегородок на полу и потолке;

входной контроль проектно-сметной документации, гипсокартонных листов, панелей и других комплектующих изделий и материалов;

изучение инженерно-техническим персоналом проектной и технологической документации.

При входном контроле рабочей документации должна производиться проверка ее комплектности и достаточности содержащейся в ней технической информации для производства работ.

Входной контроль гипсокартонных листов и других предусмотренных проектом материалов должен производиться в соответствии с требованиями стандартов и технических условий на изделия и материалы в порядке, предусмотренном технологическими картами или другой технологической документацией, утвержденной в установленном порядке.

Технические требования к гипсокартонным листам приведены выше.

Требования к разбивочным геодезическим работам приведены в данном альбоме в СОКК «Геодезические работы на исходном горизонте» и «Геодезические работы на монтажном горизонте».

Работы по возведению зданий и сооружений должны производиться по утвержденному проекту производства работ (ППР), в котором наряду с общими требованиями СНиП 3.01.01-85* должны быть предусмотрены: последовательность установки перегородок; мероприятия, обеспечивающие требуемую точность установки; пространственную неизменяемость перегородок в процессе установки в проектное положение; устойчивость перегородок в процессе возведения.

Запрещается осуществление строительно-монтажных работ без утвержденного проекта производства работ. Не допускаются отступления от решений проектов производства работ без согласования с организациями, разработавшими и утвердившими их.

До начала монтажа перегородок из гипсобетонных листов и панелей необходимо выполнить следующие работы:

очистить от мусора место установки перегородок;

произвести разбивку осей перегородок и разметку мест расположения направляющих каркаса на полу и потолке;

подать на рабочее место гипсокартонные листы (панели), элементы каркаса, другие комплектующие материалы и изделия, монтажные приспособления, инструменты, инвентарь.

Основные операции при монтаже перегородок включают в себя:

разметку положения перегородок на полу, разметку с помощью отвеса положения перегородок на потолке;

закрепление в соответствии с разметкой направляющих профилей на полу и на потолке при помощи дюбелей (гвоздей), установленных с проектным шагом (через звукоизолирующую ленту);

закрепление крайних, примыкающих к стенам, стоечных профилей при помощи дюбелей (гвоздей), установленных с проектным шагом;

установку стоечных профилей каркаса в направляющие с проектным шагом, выверку их по вертикали, и закрепление при помощи просекателя или винтами (шурупами);

установку дверной коробки и опорных стоечных профилей над ней;

установку силовой и слаботочной разводки и закладных изделий для крепления на стене стационарного оборудования;

установку гипсокартонных листов с одной стороны каркаса;

установку теплоизоляционных материалов (если это предусмотрено проектом);

установку гипсокартонных листов с другой стороны каркаса;

заделку швов между гипсокартонными листами; заделку швов между гипсокартонными листами и примыкающими конструкциями; грунтование перегородки под декоративную отделку;

устройство чистого пола и декоративная отделка стен.

Разметка мест проектного положения перегородок осуществляется в следующем порядке: очищают от мусора поверхность пола и особенно тщательно в местах установки перегородок; в соответствии с архитектурно-планировочным чертежом с помощью рулетки производят разбивку осей перегородок на перекрытии или другом основании (непосредственно на перекрытии - при гладкой поверхности калиброванных плит; на стяжке из цементно-песчаного раствора проектной толщины по многопустотному настилу - при покрытии пола линолеумом на теплозвукоизоляционной основе; на выравнивающем слое из цементно-песчаного раствора проектной толщины, укладываемом по контуру перегородки - при неровной поверхности плит перекрытия). Разбивку осей производят с точностью ± 3 мм. Положение разбивочных осей отмечают на основании прочерчиванием карандашом рисок. От рисок с помощью шаблона, представляющего собой отрезок направляющей длиной 4 - 5 см с размеченной осью, отмеряют в обе стороны от осевых рисок половину ширины направляющей. Затем разметочным шнуром, окрашенным сухим пигментом, производят отбивку линий на основании, обозначающих положение краев нижней направляющей. С помощью отвеса, шаблона и разметочного шнура переносят разметку на потолок.

Нижние направляющие профили устанавливают в следующей последовательности: в соответствии с выполненной разметкой и планировочным решением производят раскрой нижних направляющих; по готовой разметке устанавливают их на основании, а затем с помощью шаблона размечают места их крепления с основанием дюбель-гвоздями (дюбелями или гвоздями); на нижнюю поверхность профиля в месте примыкания его к основанию согласно проекта наклеивают звукоизолирующую прокладку; далее нижние направляющие пристреливают к основанию (или крепят дюбелями или гвоздями).

Верхние направляющие профили устанавливают в следующем порядке: в соответствии с выполненной разметкой и планировочным решением производят раскрой верхних направляющих; с помощью шаблона размечают места их крепления дюбель-гвоздями (дюбелями или гвоздями); на поверхность профиля в месте примыкания его к потолку согласно проекта наклеивают звукоизолирующую прокладку, после чего верхние направляющие пристреливают к потолку (или крепят дюбелями или гвоздями) при соблюдении проектной соосности верхних и нижних направляющих.

Крайние стойки крепятся к вертикальным конструкциям дюбель-гвоздями (дюбелями или гвоздями) с шагом не более 600 мм (или другим шагом согласно проекта) после предварительной приклейки на поверхность профиля, обращенной к стене, звукоизолирующей прокладки.

В нижние направляющие после разметки с помощью шаблона или рулетки, с шагом не более 600 мм (или другим шагом согласно проекта), устанавливаются вертикальные стойки каркаса. Раскрой вертикальных стоек должен быть произведен по фактическим замерам высоты конкретного помещения. Стойки выверяются по вертикали в плоскости перегородки и закрепляются с помощью просекателя методом просечки с отгибом. Возможно крепление стоек с помощью винтов (шурупов).

При установке дверных коробок производят разметку положения дверных коробок и стоек каркаса; заготавливают и устанавливают стойки каркаса, примыкающие к коробке, устанавливают коробку с креплением ее к стойкам; устанавливают дополнительные стойки, перемычку и промежуточные стойки над дверной коробкой. Постоянное крепление дверных коробок к стойкам каркаса производится после выверки коробки, стоек и ригеля при помощи самонарезающихся винтов (шурупов).

Между стойками каркаса в местах, предусмотренных проектом конкретного здания, закрепляются винтами горизонтальные стальные скобы, на которых закрепляются электромонтажные коробки (для установки розеток, выключателей и в качестве распаечных) с таким расчетом, чтобы кромки монтажных коробок были бы заподлицо с наружной поверхностью перегородки.

Через отверстия в стенках профилей стоек каркаса пропускается осветительная электропроводка и проводка устройств связи. Концы проводов выводятся через отверстия в стенках монтажных коробок.

До начала процесса обшивки каркаса гипсокартонными листами в их заготовках в местах установки электромонтажных коробок следует по предварительной разметке просверлить отверстия для розеток, выключателей и распаечных коробок.

Заготовки гипсокартонных листов с помощью специального педального подъемника (или другим способом, предусмотренным ППР) устанавливаются с зазором 10 мм от уровня потолка и основания перегородки (или с другими зазорами, устанавливаемыми ППР). Крепление листов осуществляется самонарезающими винтами (шурупами) с шагом, устанавливаемым проектом. Листы обшивки должны стыковаться только на стойках каркаса и таким образом, чтобы винты и шурупы в местах крепления двух смежных листов располагались вразбежку. Головки винтов и шурупов должны утапливаться в поверхность листов на проектную глубину.

Обшивку каркаса листами необходимо вести от угла в двух взаимно перпендикулярных направлениях. Устанавливая самонарезающие шурупы (винты) необходимо отступать от края облицованной картоном кромки не менее чем на 10 мм и от края не облицованной кромки не менее чем на 15 мм (или согласно требованиям проекта). При установке самонарезающих шурупов с помощью шуруповерта или электродрели со специальной насадкой для шурупов предварительного сверления отверстий не требуется.

Шурупы (винты) должны входить в гипсокартонный лист под прямым углом и проникать в полку профиля на глубину около 10 мм. Головки шурупов должны быть утоплены в поверхность листа на глубину около 1 мм (или другую глубину согласно проекту).

При образовании горизонтальных стыков листы должны крепиться вразбежку. Под стыки должны устанавливаться перемычки из направляющих профилей.

При двухслойной обшивке швы первого и второго слоя должны располагаться вразбежку.

К устройству звукоизоляции из минераловатных или стекловатных изделий приступают после обшивки каркаса с одной стороны и прокладки скрытой проводки.

Плиты крепят к внутренней поверхности гипсокартонных листов согласно требованиям проекта (например, с помощью клея, мастики, обрезков профилей, вкладышей из гипсокартонных листов и т.д.).

Во всех случаях до начала обшивки другой стороны перегородки (или закрепления второго слоя обшивки) в заготовках листов должны предварительно вырезаться отверстия для розеток, выключателей и распаечных коробок.

Места примыканий гипсокартонных листов к плитам перекрытий (стяжкам и выравнивающим слоям) и к вертикальным конструкциям здания должны заделываться согласно требованиям проекта (например, герметизирующими мастиками).

Швы между гипсокартонными листами (стыки прямоугольных кромок листов внутреннего слоя при двухслойной обшивке, скосы листов в стыках обшивки) заделываются гипсополимерной шпаклевкой, в которую втапливается армирующая лента (специальная бумажная перфорированная или тканевая лента).

Стыки, образованные обрезанными кромками листов, предварительно подготавливаются путем снятия фаски проектной величины (например, снятия фаски под углом 45° на 1/3 толщины листа и удаления картона вдоль кромки в области укладки ленты или фаски под углом 22,5° на 2/3 толщины листа).

На стык, образованный облицованными картоном утоненными кромками листов, наносится слой шпаклевки. Если выступающие головки шурупов (винтов) мешают этому, их дополнительно вворачивают в полость листа. Шпаклевка разравнивается и при этом снимаются ее излишки. Затем в слой шпаклевки укладывается и вдавливается шпателем армирующая лента. Укладка ленты производится сразу же после нанесения шпаклевки, до начала процесса ее схватывания. Широким шпателем наносится накрывочный, выравнивающий слой шпаклевки. При нанесении первого и второго слоев шпаклевочная масса не должна оседать, выступая из шва.

После того, как шов просохнет, его обрабатывают при помощи затирки, при этом не должен быть поврежден облицовочный картон.

Параллельно со шпаклевкой стыков шпаклюют заподлицо с поверхностью листов головки шурупов (винтов).

Стыки, образованные обрезанными под углом 45° кромками, шпаклюют аналогично, только наносят более широкий выравнивающий слой шпаклевки, т. к. в месте укладки армирующей ленты возможно небольшое утолщение.

Стыки с кромками под углом 22,5° шпаклюются в один проход.

Наружные и внутренние углы перегородок и места примыканий к стенам и потолку шпаклюются в соответствии с требованиями проекта.

После заделки стыков между гипсокартонными листами завершаются электромонтажные работы по установке розеток, выключателей, распайке проводов в распределительных коробках.

На завершающем этапе устройства перегородок производится декоративная отделка перегородок, установка наличников и плинтусов и их окраска.

Требуемая точность установки перегородок в проектное положение должна обеспечиваться постоянным инструментальным контролем точности выполнения монтажных операций, которые входят в технологический процесс монтажа перегородок (операционный контроль качества).

Предельные отклонения элементов перегородок от проектного положения не должны превышать величин, приведенных в нижеследующей таблице.

Технические требования

Предельные отклонения, мм

Контроль (метод, объем, вид регистрации)

1. Смещение направляющих от разбивочных осей

3

Измерительный, каждый элемент, журнал работ

Расстояние между осями стоек

12

То же

2. Минимальная величина нахлеста листа обшивки на стойку:

 

То же

в металлическом каркасе

10

 

в деревянном

20

 

3. Расстояние между деталями крепления направляющих к несущим конструкциям

± 5

То же

4. Зазоры между звукоизоляционными плитами, а также между ними и элементами каркаса

Не более 2

То же

5. Размер шва между стыкуемыми листами

- 1; + 2

То же

6. Углубление головки винта или шурупа в обшивку каркаса

0,5 - 1

То же

7. Уступ между смежными листами вдоль шва

1

То же

Температура в помещениях, где монтируются перегородки, должна быть не ниже 10 °С, влажность воздуха - не более 70 %.

Законченные монтажом конструкции перегородок следует принимать поэтажно и посекционно с оформлением соответствующих актов на скрытые работы (монтаж каркаса, прокладка силовой и слаботочной проводки, укладка звукоизоляционного слоя, заделка стыков гипсокартонных листов и т.д.).

При приемке следует проверять устойчивость каркаса, надежность крепления листов обшивки, отсутствие у листов надрывов, повреждений, сбитых углов по длине грани, масляных пятен и загрязнений.

Законченные монтажом и подготовленные для отделки перегородки могут иметь не более двух неровностей глубиной или высотой 3 мм при накладывании правила или шаблона длиной 2 м; отклонения перегородок от вертикали - не более 2 мм на 1 м высоты и 10 мм на всю высоту помещения.

Серия 1.131.9-24 «Перегородки из гипсокартонных листов для жилых зданий», выпуск 3 «Перегородки поэлементной сборки на металлическом каркасе со звукоизоляцией из минераловатных плит, минераловатных прошивных матов с деталями прокладки электротехнических коммуникаций»

Конструкции перегородок, приведенные в чертежах данной серии, предназначены для применения в жилых домах, общежитиях и гостиницах (жилая часть) различной этажности и различных конструктивных систем, возводимых в любых районах страны вне зависимости от инженерно-геологических условий строительства (в т.ч. и в сейсмических районах). Перегородки рекомендуются для помещений с относительной влажностью воздуха до 60 % (при температуре воздуха внутри помещений до 24 °С) и до 50 % (при температуре воздуха внутри помещений до 27 - 30 °С).

Конструкции перегородок, приведенные в данном комплекте рабочих чертежей, состоят из металлического каркаса стоечного типа, гипсокартонной обшивки и, как правило, минераловатного заполнения полости перегородок, выполняющего роль звукоизоляционного слоя.

Предлагается пять типов конструктивных решений перегородок для зданий с высотами этажей 2,8 и 3,0 м:

перегородки типа ПГКМ-1 толщиной 94 мм с однослойной обшивкой без минераловатного заполнения - для перегородок, к которым не предъявляются какие-либо требования в части звукоизоляции;

перегородки типа ПГКМ-2 толщиной 94 мм с однослойной обшивкой и минераловатным заполнением толщиной 50 мм - для перегородок без дверей между комнатами, между кухней и комнатой в квартире (индекс изоляции воздушного шума 41 дБ);

перегородки типа ПГКМ-3 толщиной 122 мм с двухслойной обшивкой без минераловатного заполнения - для перегородок без дверей между комнатами, между кухней и комнатой в квартире (индекс изоляции воздушного шума 41 дБ);

перегородки типа ПГКМ-4 толщиной 122 мм с двухслойной обшивкой и минераловатным заполнением толщиной 50 мм - для перегородок между комнатой и туалетом квартиры (индекс изоляции воздушного шума 45 дБ);

перегородки типа ПГКМ-5 толщиной 208 мм со спаренным (двойным) каркасом (два ряда стоек, располагаемых вразбежку), двухслойной обшивкой и минераловатным заполнением толщиной 50 мм - для перегородок между квартирами, между помещениями квартиры и холлами, общими коридорами, вестибюлями (индекс изоляции воздушного шума 50 дБ).

Каркас перегородок запроектирован из металлических холодноформованных (гнутых) профилей (ТУ 400-28-287-81), изготавливаемых путем профилирования рулонной тонколистовой стали на роликовых или гибочных станах.

Каркас собирается из верхних и нижних направляющих (профили ПН-3) и стоек (профили ПС-3). В профилях стоек каркаса при изготовлении вырубаются с определенным шагом отверстия размером 40×40 мм для пропуска инженерных коммуникаций в полости перегородок (силовая и слаботочная электропроводка, санитарно-технические разводки). Вместо отверстий в профилях стоек можно предусмотреть Н-образные высечки, которые отгибаются в нужных местах, образуя отверстия с полочкой для укладки инженерных трубопроводов и внутренней электропроводки.

Обшивка перегородок запроектирована из гипсокартонных листов по ГОСТ 6266-89 толщиной 14 мм с прямоугольными и обжатыми (скошенными) по всей длине листа кромками. Листы с прямоугольной кромкой рекомендуется применять при двухслойной обшивке перегородок (для внутреннего слоя). Плотность материала листов 800 - 850 кг/м3 (при 1 % влажности).

Звукоизоляционные функции перегородок обеспечивает заполнение их внутренней полости следующими эффективными материалами:

полужесткими минераловатными плитами плотностью 125 кг/м3 толщиной 50 мм по ГОСТ 9573-96;

минераловатными прошивными матами толщиной 50 мм по ГОСТ 21880-94;

полужестких стекловатных плит по ГОСТ 10499-95.

Крепление обшивки к каркасу и другие монтажные работы, связанные с возведением перегородок рассматриваемой конструкции, осуществляются с помощью специальных стальных самосверлящих самопрокалывающих винтов по ТУ 400-28-461-84. Для крепления (пристрелки) направляющих каркаса к перекрытиям и другим основаниям и крайних стоек к вертикальным конструкциям здания применяются дюбель-гвозди ДГП (ТУ 14-4-794-77).

Для приклейки звукоизоляционного слоя из минераловатных плит к гипсокартонным листам, а также для уплотнения зазоров между стойками каркасов и листами применяется дисперсионный клей АДМК (ТУ 400-1-177-79).

Для уплотнения стыка между направляющими и поверхностью перекрытий, цементно-песчаных стяжек и выравнивающих слоев, а также между крайними стойками и примыкающими вертикальными конструкциями здания используется лента пористой резины из смеси МРП-1036.

Для заделки стыков гипсокартонных листов и мест примыкания смонтированных перегородок к стенам и потолку, а также в углах перегородок применяют гипсополимерную шпаклевку (гипсоцементнопуццолановые вяжущие - 76 % по массе, 50 %-ная дисперсия ПВА - 10 %, клей малярный - 10 %, вода - до удобоупотребляемой консистенции). Ее жизнеспособность - 4 часа.

Для отделки поверхностей перегородок можно применять:

обои;

клеевые и водоэмульсионные краски;

синтетические и масляные краски и эмали;

пленки поливинилхлоридные отделочные; пленки декоративные отделочные самоклеящиеся (ГОСТ 24944-81);

керамические облицовочные плитки.

В рабочих чертежах данной серии приведены:

примерные монтажные схемы наиболее широко применяемых конструкций межкомнатной и межквартирной перегородок (по типу ПГКМ-2 и ПГКМ-5);

узлы примыкания перегородок к горизонтальным и к вертикальным элементам зданий;

узлы стыков элементов, образующих перегородки, при различных конфигурациях последних в плане;

узлы крепления деревянных дверных коробок к стойкам перегородок;

узлы крепления минераловатных прошивных матов и узлы устройства скрытой электропроводки.


Узлы гипсокартонных перегородок по серии 1.131.9-24 вып. 3

Узел примыкания межкомнатной перегородки к потолку и крепления минераловатных плит

Узел примыкания и крепления трех межкомнатных перегородок

Узел примыкания и крепления двух межкомнатных перегородок

Узлы стыков обшивки и крепления гипсокартонных листов в межквартирных перегородках




Rambler's Top100 Яндекс цитирования
  Copyright © 2008-2026, www.docload.ru