|
|
МИНИСТЕРСТВО ТРАНСПОРТНОГО СТРОИТЕЛЬСТВА ГОСУДАРСТВЕННЫЙ ВСЕСОЮЗНЫЙ ДОРОЖНЫЙ
НАУЧНО-ИССЛЕДОВАТЕЛЬСКИЙ ИНСТИТУТ СОЮЗДОРНИИ
МЕТОДИЧЕСКИЕ
РЕКОМЕНДАЦИИ ПО ПРОЕКТИРОВАНИЮ И СТРОИТЕЛЬСТВУ ПОДДЕРЖИВАЮЩИХ СООРУЖЕНИЙ
ЗЕМЛЯНОГО ПОЛОТНА АВТОМОБИЛЬНЫХ ДОРОГ В ОПОЛЗНЕВЫХ РАЙОНАХ НА БАЗЕ БУРОНАБИВНЫХ
СВАЙ И АНКЕРНЫХ КРЕПЛЕНИЙ Утверждены Зам.
директора Союздорнии канд.
техн. наук Б.С. Марышев Одобрены Главтранспроектом (письмо № 3002/15-26-430 от 27.12.85 г) Москва 1988 СОДЕРЖАНИЕ
Обобщены результаты научно-исследовательских и
экспериментальных (лабораторных и полевых) работ, выполненных Союздорнии в
1981-1985 гг. Приведены классификация свайных поддерживающих сооружений в зависимости от типа поперечного профиля земляного полотна на оползневом склоне, их конструктивные схемы и область применения. Содержатся рекомендации по расчету свайных поддерживающих сооружений земляного полотна как обычных, так и заанкеренных грунтовыми анкерами; приведены основные положения по технологии их устройства. Приведен способ оценки времени стабилизации оползневого массива, учитывающий геометрическую схему свайного поля в поддерживающем сооружении и реологические свойства глинистых оползневых грунтов (вязкость, ползучесть, длительную прочность, порог ползучести). Содержатся также рекомендации по использованию литых бетонных смесей с комплексной пластифицирующей добавкой при устройстве буронабивных свай. Предисловие"Методические рекомендации по проектированию и строительству поддерживающих сооружений земляного полотна автомобильных дорог в оползневых районах на базе буронабивных свай и анкерных креплений" разработаны в соответствии с программой 0.55.11.01.03.01 на основе результатов теоретических и экспериментальных исследований, выполненных Союздорнии в 1981-1985 гг., а также на основе опыта проектирования сооружений данного типа, накопленного проектными институтами "Тбилгипроавтодортранс" и Киевским филиалом Союздорпроекта. При разработке раздела по технологии строительства учтен опыт строительных организаций Главдорстроя. Методические рекомендации могут быть использованы проектными организациями в качестве методического пособия при проектирований свайных поддерживающих сооружений, устройство которых входит в комплекс противооползневых мер по обеспечению устойчивости земляного полотна автомобильных дорог, сооружаемого на оползневых и потенциально оползневых склонах. Методические рекомендации составили канд. техн. наук Э.М. Добров (разд.1-2.2), инженеры А.П. Аксенов (разд. 1-3), Ю.М. Львович (разд. 2.2), кандидаты технических наук Ю.В. Пудов (пп.2.3.47-2.3.54) , Э.Р. Пинус (разд.3), инж. Г.М. Калашникова (разд.3). Замечания и пожелания
просьба направлять по адресу: 143900, Московская обл., г. Балашиха-6, СоюздорНИИ.
| ||||||||||||||||||||||||||||||||||||||||||||||||||||||||||||||||||||||||||||||||||||||||||||||||||||||||||||||||||||||||||||||||||||||||||||||||||||||||||||
|
Грунт,
окружающий сваю, и его характеристика |
Коэффициент пропорциональности Кп, МН/м4, для свай |
|
|
забивных |
набивных, свай-оболочек, свай-столбов |
|
|
Глины и суглинки текучепластичные (0,75 <JL ≤1) |
0,65-2,5 |
0,5-2 |
|
Глины и суглинки мягкопластичные (0,5
< JL ≤ 0,75), супеси пластичные (0 < JL ≤ l), пески пылеватые (0,6 ≤ ε
≤ 0,8) |
2,5-5 |
2-4 |
|
Глины и суглинки тугопластичные и
полутвердые (JL< 0), пески мелкие (0,6 ≤ ε
≤ 0,75), пески мелкие средней плотности (0,55 ≤ ε
≤ 0,7) |
5-8 |
4-60 |
|
Глины и суглинки твердые JL <0] пески крупные (0,55 ≤ ε
≤ 0,7) |
8-13 |
6-10 |
|
Пески гравелистые (0,55 ≤ ε
≤ 0,7), гравий и галька о песчаным заполнителем |
- |
16-20 |
|
Плотные суглинисто-щебенистые грунты с
содержанием крупных включений более 40% |
- |
50-100 |
|
Известняки, песчаники, аргиллиты,
алевролиты |
- |
100-1000 |
|
Скальные породы (граниты, базальты,
туфы) |
- |
1000-15000 |
Примечания: 1. Меньшие
значения коэффициентов Kп
соответствуют более
высоким значениям показателя консистенции JL глинистых и
коэффициента пористости ε
песчаных грунтов, а большие значения Kп -
соответственно более низким значениям JL и ε. Для
грунтов с промежуточными значениями JL и. ε
коэффициент Kп
определяют интерполяцией. Коэффициент Kп для плотных песков должен приниматься на 30% выше табличных
значений Kп для
данного вида грунта.
2. Для скальных
грунтов коэффициент пропорциональности Kп определяют в зависимости от степени выветрелости, т.е.
меньшие значения Kп -Для
более выветрелых пород; большие - для невыветрелых.
2.3.14. Если в пределах глубины hк расположено два или три слоя грунта, то приведенную величину коэффициента Kп определяют соответственно пропорциональности но по формулам:
два слоя:
; (26)
три слоя
, (27)
где h1, h2, h3 - толщины соответственно первого (верхнего), второго и третьего слоев в пределах глубины hк, м;
Kп1, Kп2, Kп3 - коэффициенты пропорциональности для грунтов соответственно первого, второго и третьего слоев, принимаемые по табл.1.
2.3.15. Коэффициент деформации αg (1/м) сваи в грунте, окружающем ее заделанную часть, вычисляют по формуле
, (29)
где EJ - жесткость поперечного сечения сваи, кН.м2.
2.3.16. Последовательно задаются значениями приведенной глубины
заложения свай ниже расчетной поверхности скольжения оползня:
=2,6;
=3;
= 3,5;
=4 - и для каждой из
них определяют абсолютное значение глубины Z (м), на
которой подлежит проверке давление на грунт по боковой поверхности сваи:
. (29)
2.3.17. Для каждого
значения приведенной глубины
определяют значения
коэффициента ξi по
формуле
. (30)
При
= 4 значение ξ4 равно 0,7.
2.3.18. Исходя из
прямоугольного характера эпюры оползневого давления и равенства расчетного и
допускаемого давления, передаваемого боковой поверхностью сваи на грунт,
определяют расстояние между осями свай в ряд an.y i для каждого из
значений
:
/
,
где γк - удельный вес коренных пород, Н/м3;
φк ,Ск - расчетные значения соответственно угла внутреннего трения, определенного с учетом сейсмичности, град, и сцепления, Па;
hст -высота подпорной
стенки, м;
hр - толщина плиты ростверка, м.
Формула (31) применима также и в тех случаях, когда в конструктивной схеме поддерживающего сооружения не предусматривается устройство подпорной стены на плите ростверка.
2.3.19. Из числа вариантов аn..y.i для дальнейшего расчета выбираются те, которые удовлетворяют условиям:
аn.y i ≥
3Dсв; аn.y i<ap
ap < аn.y i <
aη
; (32)
2.3.20. Максимальный
изгибающий момент Мmax (Н.м) действующий в сечении сваи,
расположенном ниже расчетной поверхности скольжения оползня, определяют по
формуле
Мmax = M1+
Q1K3/αg
где M1, Q1 изгибающий момент, Н.м, и горизонтальная сила, Н, в сечении сваи на уровне поверхности скольжения;
К3,-
коэффициент, значения которого принимают в зависимости от заданной приведенной
глубины заложения сваи
в коренные породы при
=2,6 К3 = 0,65; при
= 3 К3, =0,7;при
≥ 3,5 K3 = 0,75.
2.3.21. Изгибающий момент М1, действующий в сечении сваи на уровне расчетной поверхности скольжения, определяют по выражению
. (34)
2.3.22. Горизонтальную силу Q1, действующую в сечении сваи на уровне расчетной поверхности скольжения оползня, определяют по выражению
, (35)
2.3.23. По величине максимального момента Mmaх производят расчет армирования сечения сваи, расположенного ниже расчетной поверхности оползня, в соответствии с требованиями СНиП 2.05.03-84.
Максимальный процент армирования сечения сваи μа не должен превышать при этом 3%. Если же указанное условие не выполняется, то следует уменьшить расстояние аn..y.i и заново произвести расчет в соответствии с пп.2.3.9-2.3.23.
2.3.24. После корректировки расстояния между осями свай в ряду аn..y.i по прочности сечения на действие изгибающего момента проверяют соблюдение условий (32).
2.3.25. Если условия (32) не выполняются при максимальном значении процента армирования μа = 3%, то необходимо рассмотреть либо вариант закрепления оползня многоярусными нагорными поддерживающими сооружениями, либо вариант заанкеривания свай грунтовыми анкерами.
2.3.26. При заложении нижних концов свай в скальные и полускальные
коренные породы расстояние между осями свай в рядах по условию устойчивости
грунта коренных пород
следует определять по
выражению
(36)
где Rсж - нормативное временное сопротивление скального грунта одноосному сжатию, Па; .
Δh = 0 - при заделке в
магматические породы;
Δh=lскi/2 - при заделке в прочие скальные породы;
lскi - расчетная глубина заложения свай в скальные коренные породы (назначается последовательно не менее трех значений).
Из числа полученных значений
расстояния между осями свай в ряду
для дальнейшего
расчета принимаются те, которые удовлетворяют условиям (32).
Расчет свайных поддерживающих сооружений на прочность и устойчивость
2.3.27.Расчет свайного поддерживающего сооружения производят с
использованием прямоугольной системы координат XOZ начало которой
принимают в точке 0, лежащей на пересечении следа подошвы плиты ростверка и оси
симметрии плиты. Ось X горизонтальна и направлена вправо; ось Z вертикальна и направлена вниз (рис.9).

Рис.9.
Схема к расчету поддерживающего сооружения: а - плоская при рядовом
расположении свай в плане;
б - то же, при расположении в шахматном
порядке;
в - основная система метода перемещений
2.3.28. Положение каждой i-й сваи на плоской схеме определяют координатой xi ее головы и углом φi наклона оси сваи к вертикали (при наличии наклонных свай).
2.3.29. Все действующие на поддерживающее сооружение внешние нагрузки приводят к точке 0 и раскладывают на силы Нх иРz, направленные соответственно вдоль осей. X и Z, и момент M0 относительно точки 0. Силы Hx и Рz положительны, если они совпадают с положительными направлениями осей X. и Z, а момент Mfl положителен, когда он действует по направлению часовой стрелки.
2.3.30. Свайные поддерживающие сооружения рассчитывают методом перемещений; за неизвестные перемещения принимают поступательные смещения α и с точки 0 по направлению осей X и Z соответственно и угол β поворота плиты вокруг этой точки. Положительные направления перемещений a, c и угла β совпадают с положительными направлениями усилий соответственно Нх, Рz и М0.
2.3.31. В общем случае несимметричной плоской схемы поддерживающего сооружения перемещения a, c и угла β определяют в результате решения системы канонических уравнений метода перемещений:
araa +
crac + βraβ -Hx = (-Qq cos
φ)m;
arca +
crcc + βrcβ - pz = Qq sin
φ m; (37)
arβa
+ crβc + βrββ – M0 = (-Mq+xiQq
sinφ) m.
где m = 1 - для многорядных сооружений при расположении свай в шахматном порядке и расстоянии между осями свай в ряду аn.y i ≤ 3Dсв а также при рядовом расположении свай;
т = 2 - для многорядных сооружений при расположении свай в шахматном порядке и расстоянии между осями свай в ряду аn.y i ≥ 4Dсв,
φ - угол наклона свай к вертикали;
Мq, Qq -
соответственно изгибающий момент и поперечная сила, возникающие в верхнем
поперечном сечении сваи (см. рис.
9) от действия оползневого давления Еоп.расч.
на основную систему метода перемещений.
Изгибающий момент Мq и поперечная сила Qq. положительны, когда голова верховой сваи в поддерживающем сооружении воздействует на плиту ростверка в направлениях соответственно против часовой стрелки и влево.
2.3.32. Принимая оползневое
давление на сваи в поддерживающем сооружении меняющимся по линейному закону от
значения q1 (на уровне
подошвы плиты) до значения q2 (на уровне
расчетной поверхности скольжения оползня), Мq и Qq определяют в результате
решения системы уравнений:
;
; (38)
;
;
где Мq.и Qq. - неизвестные значения соответственно изгибающего момента и поперечной силы, возникающие в сечении сваи на уровне расчетной поверхности скольжения от действия оползневого давления Еоп.расч с ординатами эпюры q1 и qt на основную систему метода перемещений (см. рис.9, б).
При расчете Мq.и Qq следует принимать q1 и q2 положительными, если они направлены вправо.
2.3.33.Численные значения ординаты эпюры оползневого давления q2 (Н) рассчитывают по выражению
. (39)
Численное значение ординаты эпюры q1 оползневого давления устанавливают по линейной интерполяции.
2.3.34.Коэффициент деформации сваи αg рассчитывают по выражению
, (40)
где вр - условная ширина сваи, м (см. п.2.3.10, формулу (24));
Eδ - расчетный
модуль упругости бетона сваи при сжатии и растяжении, Па; Eδ = 0,85
Еδ.н - начальный модуль упругости бетона при сжатии и растяжении, принимаемый в соответствии со СНиП 2.05.03-84, Па;
J - момент инерции поперечного сечения сваи, м4;
![]()
2.3.35. При принятой
величине приведенной глубины заложения сваи
(см. п.2.3.16) и с учётом конкретных инженерно-геологических условий
определяют единичные перемещения сечения сваи в уровне поверхности скольжения δнн (м/Н), δмн = δнм (1/Н), δмм (1/(Н.м)) от единичных усилии,
приложенных в том же уровне, по выражениям:
;
; (41)
,
где Ао, Во, Со - безразмерные коэффициенты, принимаемые по табл. 4(2) [1].
2.3.36. Горизонтальные смещения и угол поворота сваи (со свободным верхним концом) в уровне подошвы ростверка δ1 (м/H), δ2 (1/(Н·м)), δ3 (1/Н) от единичной горизонтальной силы и единичного изгибающего момента, приложенных в том же уровне, рассчитывают по формулам:
;
; (42)
![]()
где l0 - длина участка сваи от подошвы плиты ростверка до поверхности скольжения, м.
2.3.37. Характеристики жесткости сваи ρ (Н/м), ρ1 (Н/м), ρ2 (Н/м), ρ3 (Н), ρ4 (Н.м), представляющие собой силы и моменты, передаваемые от сваи на ростверк при его единичных перемещениях вдоль и поперек оси сваи, а также при его единичном повороте, определяют по формулам:
ρ0
= ρ1 - ρ2;
;
(43)
![]()
![]()
где ЕδFc -
жесткость поперечного сечения сваи при сжатии, Н;
lN - длина сжатия
сваи, м;
при опирании свай на скалу
lN = l0 + l;
при опирании свай на
нескальный грунт
![]()
Fc - площадь сечения сваи,
![]()
l - фактическая глубина заделки сваи в коренные породы, м;
Сn - коэффициент постели грунта под подошвой сваи, Н/м3; принимается Сn ≥ 50 Kn/Dсв;
Fn - площадь подошвы сваи, определяемая по расчетному диаметру ствола, м2.
2.3.38. Коэффициенты канонических
уравнений определяют по формулам:
;
;
;
; (44)
;
;
При этом сопротивление грунта, окружающего плиту фундамента, не учитывают как для случая верховых, так и низовых поддерживающих сооружений.
2.3.39. Продольную силу Ni (H), поперечную силу Qi.(H) и изгибающий момент Мi (Н.м), действующие со стороны плиты на голову каждой сваи, определяют по формулам:
;
![]()
; (45)
![]()
2.3.40.Внутренние усилия в поперечных сечениях сваи давления, передаваемые их боковой поверхностью на грунт, окружающий заделанную часть свай, определяют как для вертикальных свай от усилий Ni, Qi, и Mi, приложенных к их головам, так и от распределенного оползневого давления Еоп.расч. .При этом расчет свай следует производить в соответствии с приложением к СНиП II-17-77 и [1].
2.3.41. Если в результате проведенного расчета окажется, что для какой-либо из свай в поддерживающем сооружении при принятых геометрических параметрах не выполняется условие устойчивости грунта, окружающего заделанную часть сваи, то расчет следует повторить, уменьшив величину межосевого расстояния аn.y i при соблюдении условий (2.32).
2.3.42. По найденным значениям внутренних силовых факторов в сечениях свай производят расчет их прочности, армирования, а также расчеты по образованию и раскрытию трещин.
Расчет свайных поддерживающих
сооружений, заанкеренных грунтовыми анкерами
2.3.43. Расчет свайных поддерживающих сооружений, заанкеренных грунтовыми анкерами в уровне низа плиты ростверка, проводят в той же последовательности, что и расчет обычных свайных поддерживающих сооружений. Отличие заключается в том, что при расчёте заанкеренных поддерживающих сооружений в плоскую расчетную схему вводят общее анкерное усилие Ωобщ, приложенное в уровне низа плиты ростверка, величиной которого предварительно задаются и с учетом которого определяется система внешних усилий на поддерживающее сооружение. Дальнейший расчет в этом случае состоит из определения параметров собственно грунтового анкера - длины заделки нижнего анкера, подбора и расчета сечения анкерной тяги.
Такую схему расчета следует применять при проектировании откосных свайных поддерживающих сооружений, когда плита ростверка является одновременно и фундаментом подпорной стены. Сущность заанкеривания в рассматриваемом случае сводится к снижению значений изгибающего момента и горизонтальной силы, действующих в уровне поверхности скольжения оползня на заделанную в коренные породы часть сваи.
2.3.44. Наиболее эффективны заанкеренные верховые свайные поддерживающие сооружения, особенно в тех случаях, когда верховой откос выемки располагается в пределах устойчивого (контрфорсного) грунтового блока.
2.3.45. Расчет верховых заанкеренных поддерживающих сооружений проводят в такой последовательности:
задаваясь диаметром сваи Dcв, модулем упругости бетона и глубиной заделки сваи в
коренные породы, по формулам (38) определяют
величину поперечной силы Qq. (см. рис.9) как для балки с одним защемленным и другим неподвижно
опертым концом. При этом относительная глубина заделки сваи
не должна превышать 2,6;
задаваясь диаметром сваи Dcв и принимая обеспеченными устойчивость грунта, окружающего заделанную часть, сваи, и прочность ее по материалу, по формуле (16) вычисляют максимальное расстояние между сваями в ряду аp как для однорядной конструкции;
по расстоянию ар определяют расчетное оползневое давление на одиночную сваю и ординаты ее в уровнях низа плиты ростверка q1 и расчетной поверхности скольжения q2 по формуле (39);
по величине поперечной силы Qq и угла наклона анкерных тяг к вертикали βт рассчитывают общее анкерное усилие:
, (46)
где В - ширина оползня, м.
Далее устанавливают необходимое количество анкеров в поддерживающем сооружении и расстояние между ними по оси сооружения, свободную длину анкеров и потери предварительного напряжения, требуемое усилие предварительного натяжения анкера с учетом потерь, параметры нижней анкерной заделки, необходимую толщину плиты ростверка из условия на продавливание. Расчет заканчивают определением внутренних усилий в сечениях свай.
2.3.46. На основании полученного значения общего анкерного усилия Ωобщ и требований ВСН 98-74 назначают конструкцию анкерной тяги и расчетное усилие ее предварительного натяжения Ωр, которое не должно превышать расчетного сопротивления напрягаемой арматуры в стадии эксплуатации, установленного СНиП 2.05.03-84 и ВСН 71-70. При этом следует учитывать, что для заанкеривания свайных поддерживающих сооружений наиболее целесообразно использовать стержневую винтовую термоупрочненную сталь диаметром 36 мм (ТУ-14-2-686-86) или семипроволочные канаты К-7 (ГОСТ 13840-68) диаметром15 мм (табл.2).
2.3.47. Необходимое количество анкеров выбранного типа Na в заанкеренном поддерживающем сооружении определяют по формуле
. (47)
2.3.48. Для оценки потерь
предварительного напряжения определяют свободную длину анкерной тяги lа (м) по формуле
, (48)
где l1 - свободная длина анкерной тяти в пределах плиты ростверка, м
|
Тип арматуры анкера |
Сопротивление арматуры растяжению, кН |
||
|
предельное |
расчетное |
Максимально допустимое для
предварительного натяжения |
|
|
Семипроволочный
канат (пряди) К-7 диаметром 15 мм: |
|
||
|
7 прядей |
1650 |
1150 |
1300 |
|
12 прядей |
2850 |
2000 |
2300 |
|
19 прядей |
4500 |
4150 |
3600 |
|
Винтовая термоупрочненная
сталь диаметром 36 мм: |
|
||
|
1 стержень |
960 |
600 |
800 |
|
2 стержня |
1960 |
1400 |
1600 |
|
3 стержня |
2940 |
2100 |
2400 |
2.3.49. При назначенных величинах расчетного усилия предварительного натяжения анкерной тяги Ωр, диаметра сваи Dсв и глубины ее заделки в коренные породы l определяют требуемое усилие натяжения анкерной тяги Ωт с учетом горизонтального перемещения сваи Δr от горизонтальной составляющей Ωр [1], приходящейся на одиночную сваю, и деформативных свойств материала анкерной тяги по формуле
. (49)
где Еа - модуль упругости арматуры, МП а;
Fa - площадь сечения арматуры анкерной тяги, м2.
В соответствии с требованиями СНиП 2.05.03-84, ВСН 98-74 и с учетом требований СНиП 2.03.01-84 определяют суммарную величину потерь предварительного натяжения от релаксации напряжений в арматуре и деформации колодки крепления анкера к плите ростверка:
, (50)
где
- расчетное
сопротивление арматуры растяжению, МПа.
2.3.50. Суммарную величину потерь при проектировании заанкеренных поддерживающих сооружений следует принимать не менее 100 МПа. При этом общее (с учетом потерь) предварительное усилие натяжения анкерной тяги не должно превышать предельного значения установленного по СНиП 2.05.03-84 и ВСН 71-70 для стадии создания предварительного натяжения:
. (51)
2.3.51. Расчет плиты ростверка
заанкеренных поддерживающих сооружений должен включать ее проверку на
продавливание от действия силы
, которая принимается равномерно распределенной по
ограниченной площади, определяемой установленными ВСН
98-74 размерами колодки крепления, из условия
= fRpвсрho (52)
или в случае установки в плитах поперечной арматуры
= 1,4fRpвсрho (53)
≤ RaxFxp (54)
где f = 1 - коэффициент;
Rp - расчетное сопротивление бетона осевому растяжению, назначаемое по СНиП 2.03.01-84, МПа;
вср - среднеарифметическое параметров верхнего и нижнего оснований пирамиды, образующейся при продавливании в пределах рабочей высоты h0 сечения ростверка, м;
- расчетное сопротивление поперечной арматуры
растяжению при расчете сечений, наклоненных к продольной оси элемента, на
действие поперечной силы, МПа;
Fxp - суммарная площадь поперечной арматуры, пересекающей боковые грани пирамиды продавливания, м.
Если условия (52) - (54) не выполняются, то следует снизить расчетную несущую способность анкеров, увеличив их общее количество в сооружении, произвести перерасчет усилия предварительного напряжения анкерной тяги или предусмотреть утолщение плиты ростверка в месте установки анкеров.
2.3.52. Расчет глубины заделки нижнего анкера Zа в случае уширения нижней части скважины следует производить по условию
, (55)
где f1 - коэффициент, учитывающий неоднородность грунтов коренных пород; f1 =1,2;
R - радиус уширения, м;
A1 - параметр;
;
Ск.у - сцепление грунта в зоне под уширенной частью скважины, Па;
γср - средний удельный вес грунта, Н/м3;
r - радиус
скважины, м;
![]()

- соответственно угол трения, град, и сцепление, Па, на
контакте грунта с поверхностью свайной части анкерной заделки.
2.3.53. Если закрепление нижнего анкера происходит лишь в результате трения грунта по поверхности свайной заделки, образованной при твердении цементно-песчаного раствора, залитого в скважину до поверхности скольжения оползня, глубину заделки Zа следует рассчитывать по формуле
, (56)
где T, Q - параметры
квадратного уравнения связи глубины свайной заделки анкера с силами трения и
сцепления по контакту заделка - коренные породы;
;
![]()
Если для закрепления нижнего анкера используют цементный раствор, нагнетаемый под давлением, значение r следует принимать равным среднему радиусу закрепления.
2.3.54. Внутренние усилия в сечениях свай в заанкеренных поддерживающих сооружениях определяют для стадии натяжения анкеров от внешнего анкерного усилия (горизонтальной составляющей), а для стадии эксплуатации - от оползневого давления.
2.3.55. Если при расчете прочности сваи в поддерживающем сооружении по материалу окажется, что изгибающий момент от внешних усилий в том или ином сечении превышает момент внутренних сил при максимальном проценте армирования сечения μa = 3%, то необходимо при неизменном параметре в поддерживающего сооружения уменьшить параметр а, а затем произвести полный расчет сооружения с корректировкой глубины заделки свай в коренные породы.
Если полученная величина параметра а окажется меньше оговоренной в п.2.3.19, то наиболее целесообразно в этом случае применить для армирования верховой сваи жесткую арматуру из профильной стали. При этом расчет прочности сечения верховой сваи следует производить в соответствии с требованиями Руководства [2].
Оценка величины и скорости смещения оползневого массива при
допущении развития деформаций ползучести на контакте оползневой грунт - свая
2.3.56. Данный расчет следует производить в тех случаях, когда расстояние между осями свай в ряду аn.yi откорректированное в результате расчета свайного поддерживающего сооружения по первому предельному состоянию, находится в пределах
ap < аn.y i < aη
2.3.57. Значения абсолютного смещения оползневого склона λti .развивающегося во времени, начиная с момента ввода поддерживающего сооружения в эксплуатацию, следует определять по выражению
где ti - время, сут (год);
ηк - коэффициент вязкости оползневого грунта, определяемый по методике, изложенной в работах [3, 4];
η0 - начальный коэффициент вязкости, Па·сут (Па·год);
e - основание натуральных логарифмов;
μ1 - коэффициент, определяемый экспериментально.
2.3.58. Для ориентировочных расчетов коэффициент вязкости ηк глинистых грунтов следует назначать в соответствии стабл.3.
|
Консистенция грунта |
Показатель консистенции |
ηк , Па.с |
|
Текучепластичная |
0,75 - 1,00 |
а(109 ÷ 1010) |
|
Легкопластичная |
0,50 - 0,75 |
а(1010 ÷ 10l1) |
|
Пластичная |
- |
а(1011 ÷ 1012) |
|
Тугопластичная |
0,25 - 0,50 |
а(l0l2 ÷ 10l3) |
|
Полутвердая |
0 - 0,25 |
a(l0l3 ÷ 1014) |
|
Твердая |
0 |
a(l0l4 ÷ l0l5) |
Примечание. При переходе от указанных в табл. 3
единиц измерения коэффициента вязкости Па.с
к Па.сут (Па.год) следует использовать переходные
коэффициенты соответственно Kt = 8,64.10-4 и Кt = 3,15.10-7.
2.3.59. Начальный
коэффициент вязкости ηо
следует назначать по графику зависимости коэффициента вязкости η от соотношения
(рис. 10), построенному по результатам экспериментального
определения по методике [3,
4]. При этом по оси абсцисс на данном графикt необходимо
отложить величину отношения
![]()
и за величину ηо принять соответствующее ему значение.

Рис.
10. Зависимость
коэффициента вязкости от соотношения Pi/Pnop: Pi - переменная нагрузка на сферический
штамп; Pnop - пороговая нагрузка на сферический штамп
2.3.60. Скорость оползневого
смещения Vti (см/сут,
см/год) на тот или иной момент времени ti после ввода поддерживающего сооружения в эксплуатацию
определяется по выражению
. (58)
λti, λti-1 - абcолютное смещение оползневого склона, соответствующее моментам
времени ti и ti-1 .см; ti - ti-1 -1 сут.
3.1. Работы по устройству буронабивных свай следует начинать при наличии проекта производства работ, полного комплекта технологического оборудования и материалов.
Проект производства работ по строительству свайного поддерживающего сооружения должен удовлетворять требованиям технологии изготовления буронабивных свай и правил их приемки [3, 5].
3.2. При устройстве свайных поддерживающих сооружений, заанкеренных грунтовыми анкерами, порядок производства работ по изготовлению анкерных тяг, натяжению, контролю натяжения и анкеровке арматурных пучков анкерных тяг принимают в соответствии с указаниями ВСН 98-74. Кроме того, должны соблюдаться требования по технологии сооружения анкеров [6].
3.3. Технологическая схема устройства свайных поддерживающих сооружений включает следующие операции:
подготовительные работы (устройство временных объездов, поверхностного водоотвода, вынос проекта в натуру, организация строительной площадки, устройство подготовки из тощего бетона и т.п.);
изготовление буронабивных свай;
устройство железобетонной плиты ростверка;
сооружение подпорной стены из монолитного бетона (если таковая предусмотрена конструктивной схемой);
устройство "одевающей" стены из монолитного бетона с последующей облицовкой.
Технологическая схема устройства заанкеренных поддерживающих сооружений кроме перечисленных операций, включает:
бурение анкерных скважин на расчетную глубину и с заданным углом наклона (производится после бетонирования плиты ростверка, установки в нем направляющих труб и стальных распределительных плит и набора бетоном плиты 70% прочности);
введение в скважину пучка высокопрочной проволоки или стержневой арматуры с нижним анкером;
закрепление нижнего анкера в скважине цементопесчаным раствором;
заполнение верхней части анкерной скважины битумной мастикой;
установку обоймы верхнего анкера;
установку гидродомкрата и натяжение анкерной тяги с закреплением ее в верхнем анкере;
снятие гидродомкрата и обрезку арматуры;
изоляцию верхнего анкерного закрепления от атмосферных воздействий.
При этом, устраивать заанкеренные поддерживающие сооружения следует в период временной стабилизации оползневого склона. Устройство грунтовых анкеров, кроме того, должно быть полностью завершено до начала работ по возведению земляного полотна.
3.4. Работы по устройству обычных свайных поддерживающих сооружений можно выполнять как на малоактивных оползнях, так и на активных.
Закрепление малоактивных оползней (смещение со скоростью 1-2 см/сут) следует начинать сначала на устойчивых участках, что обеспечивает достижение эффекта самоторможения. Закрепление же активного оползня может быть начато с наиболее активного участка; при этом используется эффект временного укрепления оползня. Далее закрепительные работы следует производить на наиболее устойчивых участках.
3.5- При возведении "одевающих" стен верховых свайных поддерживающих сооружений их облицовку целесообразно устраивать из сборных железобетонных плит, закрепленных в нижней части стены в фундаментах стаканного типа. Объединение плит между собой по контуру может быть осуществлено с помощью электросварки или металлических штырей. Если расстояние между сваями в верховом противооползневом сооружении определено при условии допущения развития деформаций ползучести на контакте оползневой грунт - свая, то между тыльной поверхностью "одевающей" стены и вертикальной поверхностью оползневого блока должен быть предусмотрен зазор. Величину зазора определяют по формуле (57) на момент времени ti когда скорость ползучести Vti достигнет нулевого значения. Может быть также предусмотрено устройство компенсаторов из легкосжимаемого материала.
3.6. Бетонирование скважин следует осуществлять методом вертикально перемещающейся трубы. При этом подвижность литой бетонной смеси; характеризуемая осадкой конуса (ОК) и измеренная непосредственно перед укладкой смеси в скважину, в период установившегося процесса бетонирования должна быть 15-18 см.
3.7. Для уменьшения водопотребности литой бетонной смеси и расхода цемента следует, применять комплексную химическую добавку.
3.8. Марка по прочности бетона из литых смесей с комплексной пластифицирующей добавкой, включающей суперпластификатор, для изготовления буронабивных свай назначается на стадии проектирования. Исходя из требуемой марки бетона, в лаборатории выполняют подбор состава бетонной смеси.
3.9. Литая бетонная смесь должна быть однородной, не иметь видимых признаков расслоения, а водоотделение, определяемое по ГОСТ 10181.4-81, должно составлять 1-2%, что обеспечивается правильным подбором состава. Коэффициент раздвижки щебня раствором следует принимать в зависимости от крупности песков:
1,5-1,7 - для мелких песков
с модулем крупности от 1,4 до 2:
1,8-1,9 - для песков средней крупности с модулем крупности 2-2,5;
2-2,2 - Для крупных песков с модулем крупности 2,5.
3.10.Дляприготовления бетона из литых смесей следует применять портландцемент марок 400 и 500, отвечающий требованиям ГОСТ 10178-85. Расход цемента назначается в зависимости от его марки и требуемой подвижности исходной бетонной смеси согласно СНиП 5.01.23-83.
Мелкий заполнитель должен соответствовать требованиям ГОСТ 10268-80.
В качестве крупного заполнителя следует применять щебень, щебень из гравия и гравий крупностью до 40 мм, отвечающие требованиям ГОСТ 10268-80.
3.11. Вода для затворения бетонной смеси должна соответствовать требованиям ГОСТ 23732-79.
3.12. В качестве пластифицирующей рекомендуется добавка ЛСТ марки Е, отвечающая требованиям ОСТ 13-183-83 Минлесбумпрома "Лигносульфонаты технические". Разрешается использовать ЛСТ других марок при содержании в них редуцирующих веществ до 12%. Наряду с добавкой ЛСТ можно использовать также пластифицирующе-воздухововлекающую добавку ЩСПК, отвечающую требованиям ТУ 113-03-488-84 Минудобрений СССР.
3.13. Суперпластификатор НФ должен соответствовать ГОСТ 6848-79.
3.14. Добавка-суперпластификатор С-3 должна отвечать требованиям ТУ 6-14-625-80 Минхимпрома "Разжижитель С-3" с изменением №1.
3.15. Состав бетона из литой смеси с комплексной химической добавкой для буронабивных свай следует подбирать расчетно-экспериментальным методом в два этапа.
3.16. На первом этапе необходимо установить состав исходной бетонной смеси с добавкой ЛСТ в соответствии с Руководством [7] и следующими указаниями:
подвижность исходной бетонной смеси непосредственно перед введением добавки-суперпластификатора должна находиться в пределах 2-4 см ОК;
коэффициент раздвижки щебня раствором назначается в зависимости от крупности песка;
количество добавки ЛСТ назначается 0,2% массы цемента (в расчете на сухое вещество).
При подборе состава исходной смеси следует учитывать, что часть воды затворения будет введена в смесь на втором этапе (в момент приготовления литой смеси) в составе рабочего раствора добавки-суперпластификатора.
3.17. На втором этапе через 10-60 мин после приготовления лабораторного замеса уточненного состава (в зависимости от предполагаемого времени транспортирования) вводят добавку НФ (С-3) в количестве 0,2-1% массы цемента (в пересчете на сухое вещество) и смесь перемешивают. Оптимальная дозировка этой добавки определяется пробными замесами с интервалом 0,1-0,2% при условии, что подвижность смеси должна соответствовать литой консистенции: иметь осадку конуса ОК через 5 мин после перемешивания не менее 15 см, а водоотделение (по ГОСТ 10181.4-81) - не более 2%.
3.18. Количество вводимой добавки НФ (С-3) в значительной мере зависит от минералогического и вещественного составов цемента: так, при применении портландцементов с активными минеральными добавками осадочного происхождения дозировка НФ (С-3) больше, чем при использовании цементов без добавок. Дозировка суперпластификаторов увеличивается также с повышением содержания С3А в цементном клинкере.
3.19. Контрольные образцы-кубы из литой бетонной смеси для определения прочности формуют без вибрации в соответствии с ГОСТ 10180-78.
3.20. Технология приготовления литой бетонной смеси с комплексной пластифицирующей добавкой, предусматривающая использование автобетоносмесителей, включает два этапа: приготовление на ЦБЗ исходной малоподвижной смеси с добавкой ЛСТ и ее разжижение на месте укладки до литой консистенции путем введения суперпластификатора.
3.21. Технология приготовления исходной смеси на ЦБЗ, точность дозирования ее составляющих и т.д. должны соответствовать СНиП III-15-76.
3.22. Исходную бетонную смесь необходимо транспортировать к месту укладки автобетоносмесителями, обеспечивающими ее перемешивание в пути. Подвижность исходной смеси непосредственно перед введением НФ (С-3) должна быть 2-4 см.
3.23. При недостаточном количестве автобетоносмесителей исходную смесь допускается транспортировать к месту укладки автосамосвалами, перегружая ее вблизи места укладки в автобетоносмеситель, например, с помощью бетоноперегружателя типа 42-184-24 Минтяжстроя СССР или через перегрузочный бункер.
3.24. Исходная бетонная смесь разжижается до литой консистенции в барабане автобетоносмесителя путем введения в нее добавки НФ (С-3) в количестве, установленном при подборе состава бетона, и последующего перемешивания.
3.25. Добавку НФ (С-3) вводят в барабан автобетоносмесителя с помощью насоса или вручную в товарном виде (32-40%-ной концентрации по объему). Концентрацию добавки-суперпластификатора в растворе определяют по его плотности.
При введении суперпластификатора НФ (С-3) исходную бетонную смесь, находящуюся в автобетоносмесителе, необходимо сдвинуть в заднюю часть барабана путем его вращения в направлении выгрузки, затем прекратить вращение барабана и для получения бетонной смеси одинаковой подвижности по всей массе вылить раствор суперпластификатора непосредственно в бетонную смесь.
3.26. Приготовление литой бетонной смеси начинается с момента введения в исходную смесь суперпластификатора. Длительность перемешивания должна соответствовать указанной в паспорте на данный тип автобетоносмесителя (обычно 5-7 мин). Подвижность смеси через 5 мин после перемешивания должна быть не менее 16 см. Если смесь окажется менее подвижной, необходимо дополнительно ввести в нее добавку в количестве 0,1-0,2% массы цемента и еще раз перемешать.
3.27.Технология бетонирования буронабивных свай из готовой литой смеси с комплексной пластифицирующей добавкой должна соответствовать требованиям проекта, СНиП III-9-74 и положениям Руководства [5]. При бетонировании скважин "свободным" сбрасыванием выгрузка бетонной смеси в скважину должна производиться из лотка автобетоносмесителя только через приемную воронку, установленную на обсадном патрубке.
3.28. Контроль качества литых бетонных смесей с комплексной пластифицирующей добавкой (качество материалов; состав бетона; правильность хранения материалов, приготовления бетонной смеси, ее однородность, подвижность; прочность бетона) должен осуществляться в соответствии со СНиП III-9-74, Руководством [5] и с учетом пп.3.29-3.31 настоящих Методических рекомендаций.
3.29. Подвижность исходной бетонной смеси непосредственно перед введением в нее суперпластификатора, а также литой смеси (с суперпластификатором) следует контролировать при бетонировании каждой сваи.
3.30. Контрольные образцы для определения прочности бетона необходимо формовать не реже 2 раз в смену: из литой смеси - на месте укладки, из исходной - на ЦБЗ.
3.31. Для оценки качества бетона в буронабивных сваях следует использовать склерометрические методы (ГОСТ 22690.4-77) с отбором кернов и их последующим испытанием.
3.32. При приготовлении и укладке в скважины литого бетона с комплексной пластифицирующей добавкой, включающей суперпластификатор, следует руководствоваться требованиями СНиП III-4-80.
Кроме того, следует помнить, что добавка НФ и разжижитель С-3 малотоксичны, не выделяют при хранении вредных паров, их водные растворы пожаробезопасны. Они относятся к 3-му классу умеренно опасных веществ, однако при нагреве их пары раздражающе действуют на слизистую оболочку глаз, кожу, органы пищеварения и дыхания, поэтому при работе с ними следует соблюдать следующие правила:
К работе не следует допускать лиц с повреждением кожного покрова (ссадины, ожоги, царапины, раздражения), поражением век и глаз. Попавшие на кожу добавки надо смыть водой;
Необходимо остерегаться попадания растворов химических добавок на кожу и в пищу. При работе с НФ (С-3) рекомендуется надевать защитные очки, резиновые перчатки и сапоги;
к приготовлению рабочих растворов добавок и бетонных смесей с комплексной химической добавкой не следует допускать рабочих моложе 18 лет;
помещения, в том числе и лаборатории, в которых готовят растворы добавок, необходимо оборудовать приточно-вытяжной вентиляцией.
3.33. Наряду с укладкой бетонной смеси в скважины методом вертикально перемещающейся трубы (ВПТ) целесообразно использовать метод напорного бетонирования с применением автобетононасосов (табл.4).
|
Параметр |
СБ-176А |
БН-80-20 |
|
Подача, м3/ч |
5-65 |
5-65 |
|
Дальность подачи бетонной смеси, м: |
|
|
|
По горизонтали |
400 |
370 |
|
По вертикали |
80 |
90 |
|
Внутренний диаметр бетоновода, мм |
125 |
125 |
|
Наибольшая крупность заполнителя, мм |
40 |
40 |
|
Подвижность бетонной смеси, см |
5-12 |
4-12 |
|
Вместимость загрузочного бункера, м
3 |
0,7 |
0,6 |
|
Высота загрузки, мм |
1400 |
1400 |
|
Давление, МПа, в цилиндрах: |
|
|
|
Рабочих |
6 |
6 |
|
Приводных |
25 |
30 |
|
Радиус действия стрелы, м |
18 |
20 |
|
Угол поворота стрелы, град |
360 |
370 |
|
Максимальная скорость передвижения, км/ч |
50 |
40 |
|
Размеры, мм: |
|
|
|
Длина |
10000 |
11070 |
|
Ширина |
2500 |
2630 |
|
Высота |
3800 |
3800 |
|
Масса снаряженного автобетононасоса, кг |
16000 |
19785 |
|
Марка базового автомобиля |
КамАЗ |
КрАЗ-757 |
3.34. Доставку бетонной смеси при бетонировании с помощью бетононасосов следует производить автобетоносмесителями, автобетоновозами и автосамосвалами.
3.35. Стыки между звеньями бетоновода должны быть прочными и плотными. Для лучшего распределения и укладки бетонной смеси в скважины на выходном конце бетоновода должен быть установлен гибкий шланг длиной 5-10 м того же диаметра, что и бетоновод.

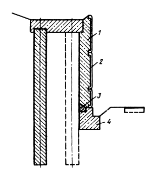
Рис.11.
Схема бетонирования скважины методом свободного сброса бетонной смеси:
1 - буровая скважина;
2 - обсадной патрубок;
3 - приемная воронка с патрубком;
4 - автобетоносмеситель.
3.36. При бетонировании
скважин с помощью бетононасосов должны соблюдаться следующие требования к
бетонным смесями и материалам для их приготовления:
Подвижность бетонной смеси П-2; П-3
Подвижность по осадке конуса, см 5-9; 10-15.
Объем растворной части на 1
м3 бетонной смеси при крупности заполнителя, мм:
5-20. 550-600
5-40. 500-600
Доля песка, %, в общей массе:
гравия 32-50
щебня 40-60
Содержание, %,в песке мелких фракций крупностью, мм:
0,11. 3-7
0,31. 5-20
3.37. При бетонировании скважин в маловлажных глинистых грунтах с устойчивыми стенками можно использовать метод свободного сброса бетонной смеси. В этом случае глубина скважины не должна превышать 12-14 м. Бетонную смесь литой консистенции с подвижностью 16-18 см ОК подают непосредственно из автобетоносмесителя в приемную воронку, которую устанавливают на обсадной патрубок длиной 2,5-3 м (рис.11).
3.38. Проект производства работ по устройству свайного поддерживающего сооружения должен содержать мероприятия по технике безопасности, принятые в соответствии с требованиями СНиП III-4-80.
3.39. При допущении вязкого затухающего "обтекания" свай оползневым грунтом в низовых и верховых поддерживающих сооружениях к устройству соответственно дорожной одежды и "одевающей" стены следует приступать после того, как будет достигнуто 80% полного абсолютного смещения оползневого склона λti, рассчитанного по формуле (57). В противном случае необходимо предусматривать устройство на насыпях в пределах ширины оползневого склона сборных дорожных покрытий; при этом обнаруженные на поверхности насыпей трещины сдвига и растяжения должны быть забиты местным грунтом или заинъецированы твердеющим раствором; в верховых поддерживающих сооружениях следует предусматривать установку компенсаторов из легкосжимаемого и хорошо фильтрующего материала (например, из геотекстиля) по всей вертикальной поверхности контакта "одевающей" стены с оползневым грунтом.
1. Руководство по проектированию свайных фундаментов. М.: Стройиздат, 1980.
2. Руководство по проектированию железобетонных конструкций, М.,1978.
3. Методические рекомендации по проектированию и строительству свайных противооползневых конструкций на автомобильных дорогах. Союздорнии, М., 1977.
4. Методические рекомендации по сооружению земляного полотна автомобильных дорог из грунтов повышенной влажности. М.,1980.
5. Руководство по устройству буронабивных свай большого диаметра. М.: Стройиздат, 1977.
6. Методические рекомендации по расчету и технологии сооружения анкерных удерживающих конструкций Союздорнии. М., 1981.
7. Руководство по подбору составов тяжелого бетона. НИИЖБ. М., 1979.Содержание
|