Бесплатная библиотека стандартов и нормативов www.docload.ru

Все документы, размещенные на этом сайте, не являются их официальным изданием и предназначены исключительно для ознакомительных целей.
Электронные копии этих документов могут распространяться без всяких ограничений. Вы можете размещать информацию с этого сайта на любом другом сайте.
Это некоммерческий сайт и здесь не продаются документы. Вы можете скачать их абсолютно бесплатно!
Содержимое сайта не нарушает чьих-либо авторских прав! Человек имеет право на информацию!

 

ГОСТ 9798-85

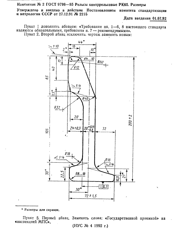
Рельсы контррельсовые РК65. Размеры

Обозначение стандарта:ГОСТ 9798-85
Статус стандарта:действующий
Название рус.:Рельсы контррельсовые РК65. Размеры
Название англ.:Rails for RK65 check rails. Dimensions
Дата введения в действие:01.07.1985
Область и условия применения:Настоящий стандарт распространяется на контррельсовые рельсы РК65, применяемые в конструкциях верхнего строения пути с железнодорожными рельсами типа Р65
Взамен:ГОСТ 9798-71
Список изменений:№1 от --1990-07-01 (рег. --1989-12-05) «Срок действия продлен»
№2 от --1992-07-01 (рег. --1991-12-27) «Срок действия продлен»
c=&f2=3&f1=II001&l='>ОКС Общероссийский классификатор стандартов
  • c=&f2=3&f1=II001045&l='>45 ЖЕЛЕЗНОДОРОЖНАЯ ТЕХНИКА
  • c=&f2=3&f1=II001045080&l='>45.080 Рельсы и компоненты железных дорог *Включая компоненты рельсового пути
  • c=&f2=3&f1=II002&l='>КГС Классификатор государственных стандартов
  • c=&f2=3&f1=II002003&l='>В Металлы и металлические изделия
  • c=&f2=3&f1=II002003004&l='>В4 Изделия из черных металлов для железнодорожного транспорта
  • c=&f2=3&f1=II002003004002&l='>В42 Рельсы. Накладки. Подкладки. Костыли


  • ГОСТ 9798-85
    ГОСТ 9798-85
    ГОСТ 9798-85
    ГОСТ 9798-85
    ГОСТ 9798-85
    ГОСТ 9798-85
    ГОСТ 9798-85
    ГОСТ 9798-85





    Rambler's Top100 яндекс цитировани¤
      Copyright © 2008-2026, www.docload.ru