Бесплатная библиотека стандартов и нормативов www.docload.ru

Все документы, размещенные на этом сайте, не являются их официальным изданием и предназначены исключительно для ознакомительных целей.
Электронные копии этих документов могут распространяться без всяких ограничений. Вы можете размещать информацию с этого сайта на любом другом сайте.
Это некоммерческий сайт и здесь не продаются документы. Вы можете скачать их абсолютно бесплатно!
Содержимое сайта не нарушает чьих-либо авторских прав! Человек имеет право на информацию!

 

ГОСТ 24317-80

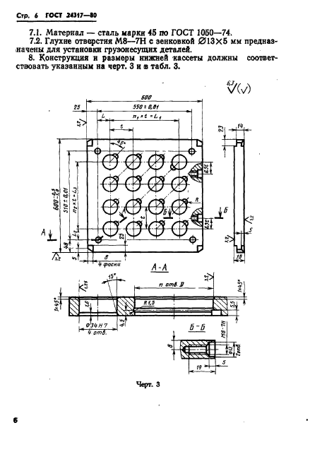
Блоки двухкассетных пресс-форм для изготовления резинотехнических изделий. Конструкция и размеры

Обозначение стандарта:ГОСТ 24317-80
Статус стандарта:действующий
Название рус.:Блоки двухкассетных пресс-форм для изготовления резинотехнических изделий. Конструкция и размеры
Название англ.:Blocks of cassetts press moulds for producing the rubber technical parts. Design and dimensions
Дата введения в действие:01.01.1982
Область и условия применения:Настоящий стандарт распространяется на блоки двухкассетных многоместных пресс-форм для изготовления резинотехнических изделий на вулканизационных прессах с размерами греющих плит 600х600 мм, оборудованных перезарядчиками
c=&f2=3&f1=II001&l='>ОКС Общероссийский классификатор стандартов
  • c=&f2=3&f1=II001083&l='>83 РЕЗИНОВАЯ, РЕЗИНОТЕХНИЧЕСКАЯ, АСБЕСТО-ТЕХНИЧЕКАЯ И ПЛАСТМАССОВАЯ ПРОМЫШЛЕННОСТЬ
  • c=&f2=3&f1=II001083200&l='>83.200 Оборудование для производства резины и пластмасс
  • c=&f2=3&f1=II002&l='>КГС Классификатор государственных стандартов
  • c=&f2=3&f1=II002004&l='>Г Машины, оборудование и инструмент
  • c=&f2=3&f1=II002004002&l='>Г2 Инструмент промышленный и приспособления
  • c=&f2=3&f1=II002004002001&l='>Г21 Инструмент и приспособления для горячей обработки


  • ГОСТ 24317-80
    ГОСТ 24317-80
    ГОСТ 24317-80
    ГОСТ 24317-80
    ГОСТ 24317-80
    ГОСТ 24317-80
    ГОСТ 24317-80
    ГОСТ 24317-80
    ГОСТ 24317-80
    ГОСТ 24317-80
    ГОСТ 24317-80
    ГОСТ 24317-80





    Rambler's Top100 яндекс цитировани¤
      Copyright © 2008-2026, www.docload.ru