Бесплатная библиотека стандартов и нормативов www.docload.ru

Все документы, размещенные на этом сайте, не являются их официальным изданием и предназначены исключительно для ознакомительных целей.
Электронные копии этих документов могут распространяться без всяких ограничений. Вы можете размещать информацию с этого сайта на любом другом сайте.
Это некоммерческий сайт и здесь не продаются документы. Вы можете скачать их абсолютно бесплатно!
Содержимое сайта не нарушает чьих-либо авторских прав! Человек имеет право на информацию!

 

ГОСТ 26404-84

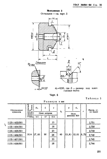
Инструмент для холодновысадочных автоматов. Пуансоны обрезные. Конструкция и размеры

Обозначение стандарта:ГОСТ 26404-84
Статус стандарта:действующий
Название рус.:Инструмент для холодновысадочных автоматов. Пуансоны обрезные. Конструкция и размеры
Название англ.:Tools for cold upset automatic machines. Trim punches. Construction and dimensions
Дата введения в действие:01.07.1986
Область и условия применения:Настоящий стандарт распространяется на пуансоны для образования шестигранника на заготовках болтов с номинальным диаметром резьбы от 4 до 20 мм
Список изменений:№1 от --1991-01-01 (рег. --1989-12-25) «Срок действия продлен»
c=&f2=3&f1=II001&l='>ОКС Общероссийский классификатор стандартов
  • c=&f2=3&f1=II001025&l='>25 МАШИНОСТРОЕНИЕ *Эта область включает стандарты общего назначения
  • c=&f2=3&f1=II001025120&l='>25.120 Оборудование для бесстружечной обработки
  • c=&f2=3&f1=II001025120010&l='>25.120.10 Ковочное оборудование. Прессы. Ножницы
  • c=&f2=3&f1=II002&l='>КГС Классификатор государственных стандартов
  • c=&f2=3&f1=II002004&l='>Г Машины, оборудование и инструмент
  • c=&f2=3&f1=II002004002&l='>Г2 Инструмент промышленный и приспособления
  • c=&f2=3&f1=II002004002002&l='>Г22 Инструмент и приспособления для холодной обработки давлением


  • ГОСТ 26404-84
    ГОСТ 26404-84
    ГОСТ 26404-84
    ГОСТ 26404-84
    ГОСТ 26404-84
    ГОСТ 26404-84
    ГОСТ 26404-84
    ГОСТ 26404-84
    ГОСТ 26404-84
    ГОСТ 26404-84
    ГОСТ 26404-84
    ГОСТ 26404-84
    ГОСТ 26404-84
    ГОСТ 26404-84
    ГОСТ 26404-84
    ГОСТ 26404-84
    ГОСТ 26404-84
    ГОСТ 26404-84
    ГОСТ 26404-84
    ГОСТ 26404-84
    ГОСТ 26404-84
    ГОСТ 26404-84
    ГОСТ 26404-84
    ГОСТ 26404-84
    ГОСТ 26404-84
    ГОСТ 26404-84
    ГОСТ 26404-84
    ГОСТ 26404-84
    ГОСТ 26404-84
    ГОСТ 26404-84
    ГОСТ 26404-84
    ГОСТ 26404-84
    ГОСТ 26404-84
    ГОСТ 26404-84
    ГОСТ 26404-84
    ГОСТ 26404-84
    ГОСТ 26404-84
    ГОСТ 26404-84
    ГОСТ 26404-84
    ГОСТ 26404-84
    ГОСТ 26404-84
    ГОСТ 26404-84





    Rambler's Top100 яндекс цитировани¤
      Copyright © 2008-2026, www.docload.ru