Бесплатная библиотека стандартов и нормативов www.docload.ru

Все документы, размещенные на этом сайте, не являются их официальным изданием и предназначены исключительно для ознакомительных целей.
Электронные копии этих документов могут распространяться без всяких ограничений. Вы можете размещать информацию с этого сайта на любом другом сайте.
Это некоммерческий сайт и здесь не продаются документы. Вы можете скачать их абсолютно бесплатно!
Содержимое сайта не нарушает чьих-либо авторских прав! Человек имеет право на информацию!

 

ГОСТ 13484-85

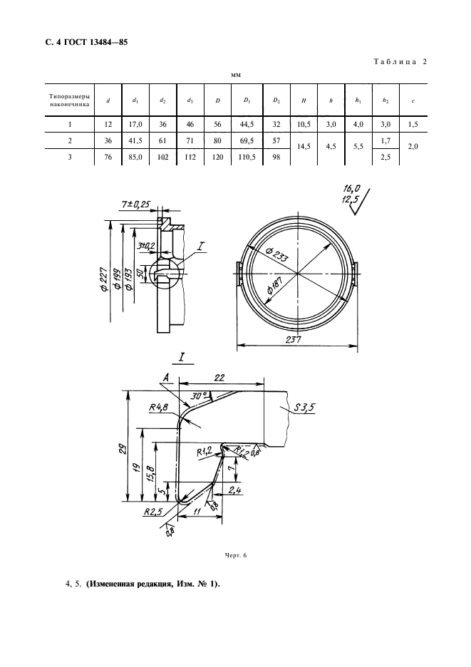
Соединение бортового штуцера с наконечником аэродромных кондиционеров и подогревателей. Типы и размеры

Обозначение стандарта:ГОСТ 13484-85
Статус стандарта:действующий
Название рус.:Соединение бортового штуцера с наконечником аэродромных кондиционеров и подогревателей. Типы и размеры
Название англ.:Board pipe tip connections for ground air-conditioning units and heaters. Types and dimensions
Дата введения в действие:01.07.1986
Область и условия применения:Настоящий стандарт распространяется на соединения бортовых штуцеров с наконечниками аэродромных кондиционеров и подогревателей, предназначенных для нагнетания охлажденного или подогретого воздуха в кабины, салоны и отсеки самолетов и вертолетов, в защитное снаряжение экипажей и мотогондолы двигателей
Взамен:ГОСТ 13484-68
Список изменений:№1 от --1990-01-01 (рег. --1989-03-23) «Поправка»
c=&f2=3&f1=II001&l='>ОКС Общероссийский классификатор стандартов
  • c=&f2=3&f1=II001049&l='>49 АВИАЦИОННАЯ И КОСМИЧЕСКАЯ ТЕХНИКА
  • c=&f2=3&f1=II001049045&l='>49.045 Конструкции и элементы конструкций
  • c=&f2=3&f1=II002&l='>КГС Классификатор государственных стандартов
  • c=&f2=3&f1=II002005&l='>Д Транспортные средства и тара
  • c=&f2=3&f1=II002005001&l='>Д1 Авиация
  • c=&f2=3&f1=II002005001005&l='>Д15 Детали, узлы и агрегаты авиационные


  • ГОСТ 13484-85
    ГОСТ 13484-85
    ГОСТ 13484-85
    ГОСТ 13484-85
    ГОСТ 13484-85
    ГОСТ 13484-85
    ГОСТ 13484-85





    Rambler's Top100 яндекс цитировани¤
      Copyright © 2008-2026, www.docload.ru