Бесплатная библиотека стандартов и нормативов www.docload.ru

Все документы, размещенные на этом сайте, не являются их официальным изданием и предназначены исключительно для ознакомительных целей.
Электронные копии этих документов могут распространяться без всяких ограничений. Вы можете размещать информацию с этого сайта на любом другом сайте.
Это некоммерческий сайт и здесь не продаются документы. Вы можете скачать их абсолютно бесплатно!
Содержимое сайта не нарушает чьих-либо авторских прав! Человек имеет право на информацию!

 

ГОСТ 16253-70

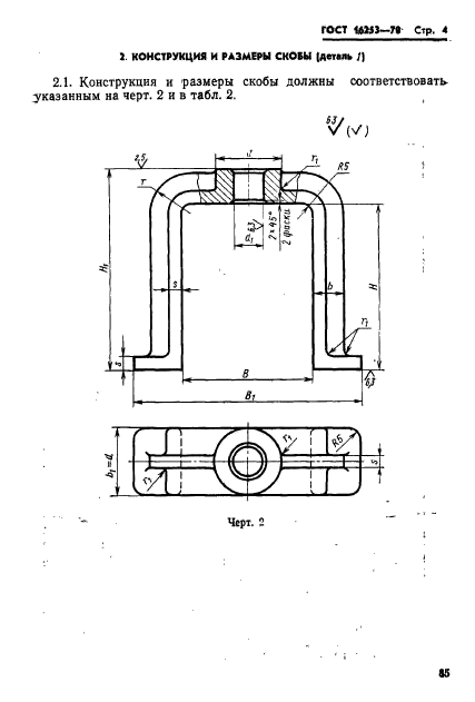
Формы металлические (кокили). Приспособления для удаления стержней винтовые. Конструкция и размеры

Обозначение стандарта:ГОСТ 16253-70
Статус стандарта:действующий
Название рус.:Формы металлические (кокили). Приспособления для удаления стержней винтовые. Конструкция и размеры
Название англ.:Chill moulds. Screwed core removers. Construction and dimensions
Дата введения в действие:01.01.1972
Область и условия применения:Настоящий стандарт распространяется на винтовые приспособления для удаления стержней диаметром до 250 мм и длиной рабочей части стержня до 200 мм
Взамен:МН 767-60
Список изменений:№1 от --1981-06-01 (рег. --1980-11-14) «Срок действия продлен»
c=&f2=3&f1=II001&l='>ОКС Общероссийский классификатор стандартов
  • c=&f2=3&f1=II001025&l='>25 МАШИНОСТРОЕНИЕ *Эта область включает стандарты общего назначения
  • c=&f2=3&f1=II001025120&l='>25.120 Оборудование для бесстружечной обработки
  • c=&f2=3&f1=II001025120030&l='>25.120.30 Оборудование для литья
  • c=&f2=3&f1=II002&l='>КГС Классификатор государственных стандартов
  • c=&f2=3&f1=II002004&l='>Г Машины, оборудование и инструмент
  • c=&f2=3&f1=II002004002&l='>Г2 Инструмент промышленный и приспособления
  • c=&f2=3&f1=II002004002001&l='>Г21 Инструмент и приспособления для горячей обработки


  • ГОСТ 16253-70
    ГОСТ 16253-70
    ГОСТ 16253-70
    ГОСТ 16253-70
    ГОСТ 16253-70
    ГОСТ 16253-70
    ГОСТ 16253-70
    ГОСТ 16253-70
    ГОСТ 16253-70





    Rambler's Top100 яндекс цитировани¤
      Copyright © 2008-2026, www.docload.ru